Vedligeholdelse
Udskiftning af batterierne
-
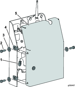
Afmonter de seks skruer fra bagsiden af styreenheden, og afmonter dkslet (Figure 32).
Note: Lad om muligt gummipakningen og stlpakningen sidde i kanalen, nr dkslet og batterierne afmonteres.

-
Fjern de afladte batterier, og bortskaf dem i overensstemmelse med den lokale lovgivning.
-
Placer hvert nye batteri i et batterirum, og srg for at forbinde med de rigtige poler.
Note: Styreenheden kan ikke fungere, nr batterierne er monteret forkert.
-
Hvis du utilsigtet fjerner gummipakningen og stlpakningen, skal du forsigtigt stte dem i kanalen igen i den hndholdte styreenhed.
-
Monter dkslet, og fastgr det med de seks skruer, du fjernede tidligere (Figure 32), og tilspnd dem til et moment p 1,5 til 1,7Nm.
Note: Spnd ikke skruerne for hrdt.







































