Wartung
Austauschen der Batterien
-
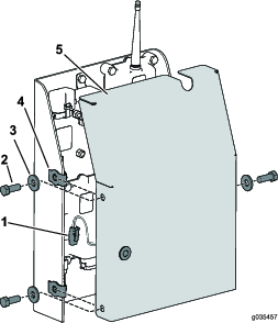
Nehmen Sie die sechs Schrauben aus der Rckseite der Fernbedienung heraus und nehmen Sie die Abdeckung ab (Figure 32).
Note: Lassen Sie, falls mglich, die Gummidichtung und die Stahldichtung beim Entfernen der Abdeckung und der Batterien im Kanal.

-
Nehmen Sie die leeren Batterien heraus und entsorgen sie vorschriftsmig.
-
Legen Sie jede neue Batterie in das Batteriefach ein und achten Sie auf die richtige Polaritt.
Note: Das Steuergert funktioniert nicht, wenn die Batterien falsch eingelegt sind.
-
Wenn Sie die Gummidichtung und die Stahldichtung aus Versehen entfernen, setzen Sie sie vorsichtig in den Kanal in der Handfernbedienung ein.
-
Setzen Sie die Abdeckung auf und befestigen sie mit den sechs vorher entfernten Schrauben (Figure 32) und ziehen sie mit 1,5-1,7Nm an.
Note: Ziehen Sie die Schrauben nicht zu fest.







































