Mantenimiento
Sustitucin de las pilas
-
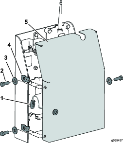
Retire los 6 tornillos de la parte trasera del control remoto, y retire la tapa (Figure 32).
Note: Si es posible, deje la junta de goma y el obturador de acero en su lugar cuando retire la tapa y las pilas.

-
Retire las pilas gastadas y elimnelas segn lo dispuesto en la normativa local.
-
Instale cada batera nueva en su alojamiento observando la polaridad correcta.
Note: El controlador no funciona si las pilas estn instaladas de forma incorrecta.
-
Si quita la junta de goma o el obturador de acero por accidente, colquelos de nuevo con cuidado en su lugar en el control remoto de mano.
-
Instale la cubierta, fjela con los 6 tornillos que retir anteriormente (Figure 32) y apritelos a entre 1,5 y 1,7N∙m.
Note: No apriete demasiado los tornillos.







































