Kunnossapito
Paristojen vaihto
-
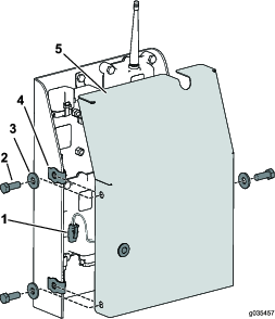
Irrota kauko-ohjaimen takaosassa olevat kuusi ruuvia ja irrota kansi (Figure 32).
Note: Jos mahdollista, anna kumi- ja terstiivisteen olla urassa, kun irrotat kannen ja paristot.

-
Irrota tyhjt paristot ja hvit ne paikallisten sdsten mukaisesti.
-
Aseta kukin uusi paristo alustaan ja huomioi polaarisuus.
Note: Ohjain ei toimi, jos paristot on asennettu vrin.
-
Jos olet vahingossa irrottanut kumi- ja terstiivisteen, aseta ne varovasti takaisin kauko-ohjaimen uraan.
-
Asenna kansi ja kiinnit se aiemmin irrotetuilla kuudella ruuvilla (Figure 32), ja kirist ne momenttiin 1,5–1,7Nm.
Note: l kirist ruuveja liikaa.







































