Manutenzione
Sostituzione delle batterie
-
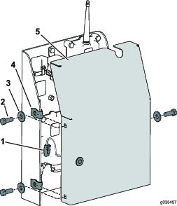
Togliete le 6 viti dalla parte posteriore del telecomando e togliete il coperchio (Figure 32).
Note: Se possibile, lasciate la tenuta di gomma e la guarnizione in acciaio nel canale quando rimuovete il coperchio e le batterie.

-
Rimuovete le batterie scariche e smaltitele in conformit con i regolamenti locali.
-
Montate ogni batteria nuova in un portabatteria rispettando la polarit.
Note: Il controller non funziona se le batterie non sono montate correttamente.
-
Se avete rimosso accidentalmente la tenuta di gomma e la guarnizione in acciaio, riposizionatele accuratamente nel canale del telecomando.
-
Montate il coperchio e fissatelo con le 6 viti precedentemente rimosse (Figure 32) e serratele a una coppia di 1,5-1,7N∙m.
Note: Non serrate eccessivamente le viti.







































