保守
バッテリーの交換
-
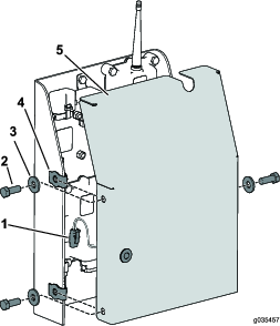
リモートの裏側にあるねじ(6本)を外してカバーを取る(Figure 32)。
Note: 可能であれば、ゴム製シールとスチール製のガスケットを外さずにカバーと電池を外してください。

-
古い電池を取り出し、地域の条例等に従って処分する。
-
新しい電池を入れる; 向きに注意すること。
Note: バッテリーの向きを間違うとコントローラは作動しません。
-
ゴム製シールとスチール製のガスケットを外してしまった場合は、これらを注意深く溝にセットする。
-
カバーを元通りに取り付け、先に取り外したねじ(6本)を使って固定し(Figure 32)、各ねじを 1.5~1.7Nm(0.15-0.17 kg.m = 13~15 in-lb)にトルク締めする。
Note: ねじを締めすぎないように注意してください。







































