Onderhoud
De accu's vervangen
-
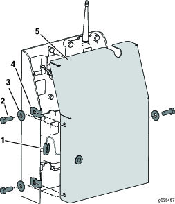
Verwijder de 6 schroeven van de achterkant van de afstandsbediening en verwijder het deksel (Figure 32).
Note: Laat indien mogelijk de rubberen afdichting en de stalen pakking in de groef zitten als u het deksel en de batterijen verwijdert.

-
Verwijder de lege batterijen en voer ze af volgens de plaatselijke wet- en regelgeving.
-
Let op de polariteit van de batterijen terwijl u de nieuwe plaatst.
Note: De controller kan niet werken als de batterijen niet goed geplaatst zijn.
-
Als u per ongeluk de rubberen afdichting en de stalen pakking hebt verwijderd, moet u ze zorgvuldig terug plaatsen in de groef in de afstandsbediening.
-
Plaats het deksel en bevestig het met de 6 schroeven die u eerder hebt verwijderd (Figure 32) en draai deze vast met een torsie van 1,5 tot 1,7Nm.
Note: Draai de schroeven niet te vast aan.







































