Vedlikehold
Skifte batteriene
-
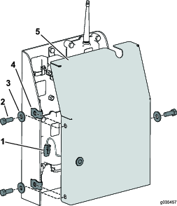
Fjern de seks skruene p baksiden av fjernkontrollen, og ta av dekslet (Figure 32).
Note: La om mulig gummitetningen og stlpakningen vre i kanalen nr du fjerner dekslet og batteriene.

-
Fjern de utladede batteriene og avhend dem i henhold til lokale forskrifter.
-
Koble hvert nye batteri til korrekte poler.
Note: Kontrolleren fungerer ikke nr batteriene er feilkoblet.
-
Hvis du utilsiktet fjerner gummitetningen og stlpakningen, m du forsiktig legge dem p plass i kanalen i den hndholdte fjernkontrollen igjen.
-
Sett dekslet p plass og fest det med de seks skruene du fjernet tidligere (Figure 32) og stram til med et moment p 1,5 til 1,7Nm.
Note: Skruene m ikke trekkes til for hardt.







































