Manutenção
Substituio das pilhas
-
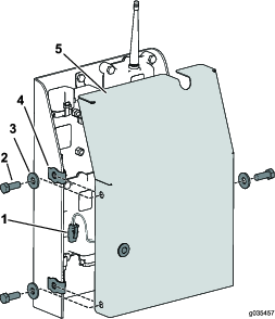
Retire os seis parafusos da parte posterior do comando distncia e retire a cobertura (Figure 32).
Note: Se possvel, deixe o vedante de borracha e junta de ao no canal quando remover a tampa e pilhas.

-
Remova as pilhas descarregadas e elimine-as de acordo com os regulamentos locais.
-
Instale cada pilha nova num encaixe terminal observando a devida polaridade.
Note: O controlador no funciona quando as pilhas so instaladas indevidamente.
-
Se remover acidentalmente o vedante de borracha e junta de ao, volte a coloc-los, cuidadosamente, no canal no comando distncia.
-
Coloque a cobertura e prenda-a com os seis parafusos previamente removidos (Figure 32) e aperte-os com uma fora de 1,5 a 1,7N m.
Note: No aperte demasiado os parafusos.







































