Underhåll
Byta ut batterierna
-
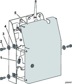
Ta bort de 6 skruvarna frn baksidan av kontrollen och ta bort kpan (Figure 32).
Note: Om det r mjligt ska du lmna gummittningen och stlpackningen i kanalen nr du tar bort kpan och batterierna.

-
Ta ut de frbrukade batterierna och kassera dem enligt lokala bestmmelser.
-
Stt i nya batterier i facket och var noga med att placera polerna t rtt hll.
Note: Styrenheten fungerar inte om batterierna stts i felaktigt.
-
Om du oavsiktligt tar bort gummittningen och stlpackningen ska du stta tillbaka dem frsiktigt i kanalen p handkontrollen.
-
Montera kpan och stt fast den med de sex skruvarna som togs bort tidigare (Figure 32) och dra t dem till 1,5–1,7Nm.
Note: Dra inte t skruvarna fr hrt.







































