Maskinens venstre og hjre side er som set fra den normale betjeningsposition.

Advarsel

CALIFORNIA

Proposition 65 Warning

Opsætning

Klargring af maskinen

  1. Flyt maskinen til en plan overflade, og aktiver parkeringsbremsen.

  2. Snk klippeskjoldet ned p jorden.

  3. Sluk motoren, og tag nglen ud.

  4. Lsn og hv motorhjelmen, og fastls den i hvet position med stttepinden.

  5. Kobl batteriets minuskabel (-) fra batteriet.

Close section

Boring af huller i maskiner fra 2015 og ldre

  1. Bor hullet som vist i Figure 1.

    g207350
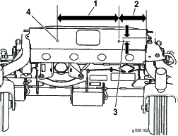
  2. Bor hullerne som vist i Figure 2.

    g038182
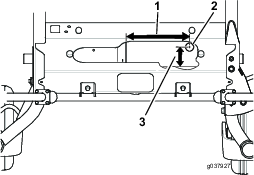
  3. Bor hullerne til hornet som vist i Figure 3.

    g037926
  4. Bor hullerne som vist i Figure 4.

    g037927
Close section

Montering af kontakten til katastrofelyset

Dele, der skal bruges til dette trin:

Kontakt til katastrofelys1
  1. Lsn kontrolpanelets sidedksel (Figure 5) og st det til side.

    g004495
  2. Find og fjern udtrykningsproppen, der sidder mod den forreste del af kontrolpanelet under mrkaten (Figure 6).

    g038159

    Note: Placer lygteglasset p katastrofelyset vk fra freren.

  3. Ist lygtekontakten som vist i Figure 6.

Close section

Montering af baglygterne

Dele, der skal bruges til dette trin:

Venstre baglygte1
Hjre baglygte1
Bjleskrue4
Flangemtrik (tomme)8
Lygteplade1
Midterste baglygte1
Bolt (nr. 10 x 7/8 tomme)2
Bolt (x tomme)2
Flangemtrik (nr. 10)4
  1. Monter venstre og hjre baglygte med 4 bjleskruer og 4 flangemtrikker (3/8 tomme) (Figure 7). Srg for, at du ikke kommer til at dkke mrkaten.

    g207376
  2. Monter lygtepladen og midterste baglygte (Figure 8).

    Note: Du skal muligvis have en anden persons hjlp til at holde lygtepladen, nr du fastgr den p maskinen.

    g207375
Close section

Montering af forlygtebeslaget

Dele, der skal bruges til dette trin:

Forlygtebeslag1
Flangemtrik (tomme)2
Bolt (x 1tomme)2

Monter forlygtebeslaget forrest p maskinen med to bolte (3/8 x 1 tomme) og to flangemtrikker (3/8 tomme). Se Figure 9.

g189861
Close section

Montering af forlygterne

Dele, der skal bruges til dette trin:

Lsemtrik (tomme)8
Hjre forlygtesamling1
Venstre forlygtesamling1
Bolt (x tomme)8
Forlygteforlnger (ekstraudstyr)2
  1. Fjern afskrmningerne fra forlygterne (Figure 11).

    Note: Forlygteforlngerne (ekstraudstyr) er kun til plneklipperskjolde p 183 cm og 254 cm (Figure 10).

  2. Om ndvendigt monteres forlygteforlngeren med fire bolte (1/4 x 3/4 tomme) og fire lsemtrikker (1/4 tomme). Se Figure 10.

  3. Monter forlygten p forlngeren eller forlygtebeslaget med fire bolte (1/4 x 3/4 tomme) og fire lsemtrikker (1/4 tomme). Se Figure 10.

    g037930
  4. Monter de elektriske stik til forlygten (Figure 11).

    g185808
  5. Monter afskrmningerne p forlygterne (Figure 11).

Close section

Fastgrelse af styrehjulsgaflens ls

Dele, der skal bruges til dette trin:

Flangebolt ( x 1tomme)1
Flangemtrik (tomme)1

Important: Denne procedure er kun for plneklipperskjolde p 254 cm.

Fastgr styrehjulsgaflens ls som vist i Figure 12.

g185891
Close section

Montering af styrehndtaget

Dele, der skal bruges til dette trin:

Greb1
  1. Fjern det eksisterende venstre hndtag, og gem spndeskiver og bolte.

  2. Monter det nye hndtag med de eksisterende spndeskiver og bolte (Figure 13).

    g037904
Close section

Montering af hornet

Dele, der skal bruges til dette trin:

Horn1
Brddebolt (5/16 x tomme)1
Flangemtrik (5/16tomme)1

Monter hornet som vist i Figure 14.

g037905
Close section

Montering af ledningsnettet

Dele, der skal bruges til dette trin:

Ledningsnet1
20 A-sikring1
Rel1
Blinklysmodul1

Note: Fastgr ikke den sorte minusledning, fr hele sttet er monteret.

  1. Skru ledningsnettets gren med blinklysrelet op i sidedkslet, hvor hovedledningsnettet gr ind i panelet (Figure 14).

    g207446
  2. Brug stikkene med flade stikben under kontrolpanelet som flger:

    Note: Brug kun t af stikkene med flade stikben som vist iFigure 15.

    • Hvis hjlpemotorsttet (model 30382) er monteret, tilsluttes det korrekte stik med flade stikben til det bne flade stikben p hjlpemotormodulet.

    • Hvis hjlpemotorsttet (model 30382) ikke er monteret, tilsluttes det korrekte stik med flade stikben til den eksisterende lyserde ledning.

  3. Brug Figure 15 til at fre ledningsnettet ind i maskinen.

  4. Brug de magnetiske holdere som vist i Figure 16 til at fastgre ledningsnettet.

    g037928
Close section

Montering af mrkaterne

Dele, der skal bruges til dette trin:

20 km/t-mrkat3
Serienummerplade1
  1. Monter 20 km/t-mrkater som vist i Figure 17.

  2. Monter seriepladen som vist i Figure 17.

  3. Prg datoen ind i siden af metalstellet i omrdet vist i Figure 17.

    g189862
Close section

Monteringens frdiggrelse

  1. Fastgr batteriets minuskabel og den sorte minusledning til batteriet.

  2. Ls motorhjelmen.

  3. Udfr en funktionstest af hele sttet.

Close section
Close section

Betjening

Betjening af kontakterne

  • Kontakten til katastrofelyset betjener katastrofelyset og fungerer, uanset om tndingen er slet til eller fra (Figure 18).

    g189974
    • Tryk p siden af vippekontakten med katastrofeadvarselssymbolet for at betjene katastrofelysene.

    • Tryk p den anden side af vippekontakten for at slukke katastrofelysene.

  • Blinklyskontakten betjener hjre og venstre blinklys, nr tndingen er slet til (Figure 19).

    g185894
    • Tryk p venstre side af blinklyskontakten for at sl venstre blinklys til.

    • Tryk p hjre side af blinklyskontakten til den midterste position for at sl venstre blinklys fra.

    • Tryk p hjre side af blinklyskontakten for at sl hjre blinklys til.

    • Tryk p venstre side af blinklyskontakten til den midterste position for at sl hjre blinklys fra.

  • Forlygte- og nrlyskontakten betjener kun forlygterne, nr tndingen er slet Til (Figure 19).

    • Skub kontakten fremad for at tnde for forlygten.

    • Skub kontakten bagud for at tnde for nrlyset.

  • Tryk p hornknappen for at aktivere hornet.

Close section
Close section

Vedligeholdelse

  • Hold lygteglassene rene ved at trre dem af med en fugtig klud. Anvend ikke oplsningsmiddelbaserede rengringsmidler.

  • Udskift alle lysprer efter behov. Brug reserveprer med den rette spndings- og watt-angivelse; se oplysningerne p den gamle pre.

Close section
Close section