Bestimmen Sie die linke und rechte Seite der Maschine anhand der blichen Einsatzposition.

Warnung:

CALIFORNIA

Proposition 65 Warning

Einrichtung

Vorbereiten der Maschine

  1. Stellen Sie die Maschine auf eine ebene Flche und aktivieren die Feststellbremse.

  2. Senken Sie das Mhwerk auf den Boden ab.

  3. Stellen Sie den Motor ab und ziehen Sie den Zndschlssel ab.

  4. Entriegeln Sie die Motorhaube, ffnen sie und befestigen sie in der geffneten Stellung mit einer Sttzstange.

  5. Klemmen Sie das Minuskabel (-) von der Batterie ab.

Close section

Bohren der Lcher fr Maschinen bis Baujahr 2015

  1. Bohren Sie die Lcher, wie in Figure 1 abgebildet.

    g207350
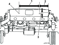
  2. Bohren Sie die Lcher, wie in Figure 2 abgebildet.

    g038182
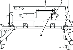
  3. Bohren Sie die Lcher fr die Hupe, wie in Figure 3 abgebildet.

    g037926
  4. Bohren Sie die Lcher, wie in Figure 4 abgebildet.

    g037927
Close section

Einbauen des Warnblinkschalters

Für diesen Arbeitsschritt erforderliche Teile:

Warnblinkschalter1
  1. Entriegeln Sie die Seitenabdeckung des Armaturenbretts (Figure 5) und legen sie auf zur Seite.

    g004495
  2. Entfernen Sie die Blende, die sich zur Vorderseite des Armaturenbretts unter dem Aufkleber befindet (Figure 6).

    g038159

    Note: Positionieren Sie die Linsen am Warnblinkanlagenschalter vom Bediener weg.

  3. Setzen Sie den Lichtschalter ein, wie in Figure 6 abgebildet.

Close section

Einbauen der Rcklichter

Für diesen Arbeitsschritt erforderliche Teile:

Linkes Rcklicht1
Rechtes Rcklicht1
U-Bgel4
Bundmutter (")8
Lichtplatte1
Mittleres Rcklicht1
Schraube (Nr.10 x ")2
Schraube ("x ")2
Bundmutter (Nr. 10)4
  1. Befestigen Sie das linke und rechte Rcklicht mit vier U-Bgeln und vier Bundmuttern (") (Figure 7). Achten Sie darauf, dass Sie den Aufkleber nicht verdecken.

    g207376
  2. Befestigen Sie die Lichtplatte und das mittlere Rcklicht (Figure 8).

    Note: Eine zweite Person muss ggf. die Lichtplatte festhalten, wenn Sie sie an der Maschine befestigen.

    g207375
Close section

Befestigen der Scheinwerferbefestigung

Für diesen Arbeitsschritt erforderliche Teile:

Scheinwerferbefestigung1
Bundmutter (")2
Schraube ("x1")2

Befestigen Sie die Scheinwerferbefestigung mit zwei Schrauben (" x 1") und zwei Bundmuttern (") vorne an der Maschine (Figure 9).

g189861
Close section

Einbauen der Scheinwerfer

Für diesen Arbeitsschritt erforderliche Teile:

Sicherungsmutter (")8
Rechter Scheinwerfer1
Linker Scheinwerfer1
Schraube ("x ")8
Optionale Scheinwerferverlngerung2
  1. Nehmen Sie die Schutzbleche von den Scheinwerfern ab (Figure 11).

    Note: Die optionalen Scheinwerferverlngerungen knnen nur fr die 183-cm- und 254-cm-Mhwerke verwendet werden (Figure 10).

  2. Befestigen Sie ggf. die Scheinwerferverlngerung mit vier Schrauben (" x ") und vier Sicherungsbundmuttern ("), siehe Figure 10.

  3. Befestigen Sie den Scheinwerfer an der Verlngerung oder der Scheinwerferbefestigung mit vier Schrauben (" x ") und vier Sicherungsbundmuttern ("), siehe Figure 10.

    g037930
  4. Bringen Sie die vorderen elektrischen Lampenstecker an (Figure 11).

    g185808
  5. Befestigen Sie die Schutzbleche an den Scheinwerfern (Figure 11).

Close section

Befestigen des Laufradgabelriegels

Für diesen Arbeitsschritt erforderliche Teile:

Bundbolzen ("x 1")1
Bundmutter (")1

Important: Dieser Schritt gilt nur fr 254-cm-Mhwerke.

Befestigen Sie den Laufradgabelriegel, wie in Figure 12 abgebildet.

g185891
Close section

Montieren des Steuerhebels

Für diesen Arbeitsschritt erforderliche Teile:

Hebel1
  1. Entfernen Sie den vorhandenen linken Hebel und bewahren Sie die Scheiben und Schrauben auf.

  2. Montieren Sie den neuen Hebel mit den vorhandenen Scheiben und Schrauben (Figure 13).

    g037904
Close section

Einbauen der Hupe

Für diesen Arbeitsschritt erforderliche Teile:

Hupe1
Schlossschraube (5/16"x")1
Bundmutter (5/16")1

Befestigen Sie die Hupe, wie in Figure 14 abgebildet.

g037905
Close section

Befestigen des Kabelbaums

Für diesen Arbeitsschritt erforderliche Teile:

Kabelbaum1
Sicherung (20 A)1
Relais1
Blinkermodul1

Note: Schlieen Sie das Minuskabel (schwarz) erst an, wenn das ganze Kit montiert ist.

  1. Fhren Sie den Kabelbaumzweig mit dem Blinkerrelais nach oben in die Seitenabdeckung ein, wo der Hauptkabelbaum durch das Armaturenbrett verluft (Figure 14).

    g207446
  2. Verwenden Sie die Flachstecker unter dem Armaturenbrett wie folgt:

    Note: Verwenden Sie nur einen Flachstecker, wie in Figure 15 abgebildet.

    • Wenn das Hilfsaggregat (model 30382) montiert ist, schlieen Sie den richtigen Flachstecker am nicht belegten Stecker am Hilfsaggregatmodul an.

    • Wenn das Hilfsaggregat (model 30382) nicht montiert ist, schlieen Sie den richtigen Flachstecker an, der am vorhandenen rosa Kabel passt.

  3. Verlegen Sie den Kabelbaum in der Maschine mit Figure 15.

  4. Befestigen Sie den Kabelbaum mit Magnethaltern, die in Figure 16 abgebildet sind.

    g037928
Close section

Anbringen der Aufkleber

Für diesen Arbeitsschritt erforderliche Teile:

Aufkleber 20 km/h3
Seriennummernplatte1
  1. Bringen Sie den 20-km/h-Aufkleber an, wie in Figure 17 abgebildet.

  2. Montieren Sie die Seriennummernplatte, wie in Figure 17 abgebildet.

  3. Stempeln Sie das Datum im Bereich, der in Figure 17 abgebildet ist, in die Seite des Metallrahmens.

    g189862
Close section

Abschlieen der Installation

  1. Schlieen Sie das Minuskabel (schwarz) an den Minuspol (–) der Batterie an.

  2. Verriegeln Sie die Motorhaube.

  3. Testen Sie alle Funktionen des Kits.

Close section
Close section

Betrieb

Bettigen der Schalter

  • Mit dem Warnblinkschalter schalten Sie die Warnblinkanlage ein oder aus; er funktioniert, wenn die Zndung in der Ein- oder Off-Stellung ist (Figure 18).

    g189974
    • Drcken Sie auf die Seite des Kippschalters mit dem Warnblinkanlagensymbol, um die Warnblinkanlage einzuschalten.

    • Drcken Sie auf die andere Seite des Kippschalters, um die Warnblinkanlage auszuschalten.

  • Mit dem Blinkerschalter schalten Sie den rechten und linken Blinker ein, wenn die Zndung in der Ein-Stellung ist (Figure 19).

    g185894
    • Drcken Sie auf die linke Seite des Blinkerschalters, um den linken Blinker einzuschalten.

    • Drcken Sie die rechte Seite des Blinkerschalters in die mittlere Stellung, um den linken Blinker auszuschalten.

    • Drcken Sie auf die rechte Seite des Blinkerschalters, um den rechten Blinker einzuschalten.

    • Drcken Sie die linke Seite des Blinkerschalters in die mittlere Stellung, um die rechten Blinker auszuschalten.

  • Der Scheinwerfer- und Abblendlichtschalter funktioniert nur bei eingeschalteter Zndung (Figure 19).

    • Drcken Sie den Schalter nach vorne, um den Scheinwerfer einzuschalten.

    • Drcken Sie den Schalter nach hinten, um das Abblendlicht einzuschalten.

  • Drcken Sie auf die Hupe Taste, um die Hupe zu aktivieren.

Close section
Close section

Wartung

  • Wischen Sie die Linsen mit einem feuchten Tuch ab, um sie sauber zu halten. Verwenden Sie keine auf Lsungsmittel basierende Reinigungsmittel.

  • Wechseln Sie alle Lampen bei Bedarf aus. Verwenden Sie Ersatzlampen mit der richtigen Spannung und den richtigen Watt; schauen Sie auf der alten Lampe nach.

Close section
Close section