Los lados derecho e izquierdo de la mquina se determinan desde la posicin normal del operador.

Advertencia

CALIFORNIA

Proposition 65 Warning

Montaje

Preparacin de la mquina

  1. Ponga la mquina en una superficie nivelada y ponga el freno de estacionamiento.

  2. Baje la carcasa de corte al suelo.

  3. Apague el motor y retire la llave.

  4. Desenganche y levante el cap y sujtelo en la posicin elevada con la varilla de soporte.

  5. Desconecte el cable negativo (–) de la batera.

Close section

Perforacin de taladros – mquinas de 2015 y anteriores

  1. Perfore el taladro como se muestra en Figure 1.

    g207350
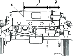
  2. Perfore los taladros segn se muestra en Figure 2.

    g038182
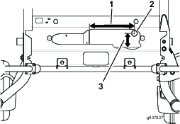
  3. Perfore los taladros del claxon, segn se muestra en Figure 3.

    g037926
  4. Perfore los taladros segn se muestra en Figure 4.

    g037927
Close section

Instalacin del interruptor de las luces de emergencia

Piezas necesarias en este paso:

Interruptor de las luces de emergencia1
  1. Desenganche la tapa lateral del panel de control (Figure 5) y aprtela.

    g004495
  2. Localice y retire el tapn situado hacia la parte delantera del panel de control, debajo de la pegatina (Figure 6).

    g038159

    Note: Oriente el interruptor de las luces de emergencia de manera que la lente quede alejada del operador.

  3. Inserte el interruptor de las luces segn se muestra en Figure 6.

Close section

Instalacin de las luces traseras

Piezas necesarias en este paso:

Luz trasera izquierda1
Luz trasera derecha1
Abrazadera4
Tuerca con arandela prensada (3/8")8
Placa de las luces1
Luz trasera central1
Perno (N 10 x 7/8")2
Perno (" x ")2
Tuerca con arandela prensada (N 10)4
  1. Instale las luces traseras derecha e izquierda con 4 pernos en U y 4 tuercas con arandela prensada (3/8") (Figure 7). Asegrese de no tapar la pegatina.

    g207376
  2. Instale la placa de las luces y la luz trasera central (Figure 8).

    Note: Puede ser necesario que otra persona sujete la placa de las luces mientras la sujeta a la mquina.

    g207375
Close section

Instalacin del conjunto de montaje de los faros

Piezas necesarias en este paso:

Conjunto de montaje de los faros1
Tuerca con arandela prensada (3/8")2
Perno (" x 1")2

Instale el conjunto de montaje de los faros en la parte delantera de la mquina con 2 pernos (3/8" x 1") y 2 tuercas con arandela prensada (3/8"); consulte Figure 9.

g189861
Close section

Instalacin de las luces delanteras

Piezas necesarias en este paso:

Contratuerca (")8
Conjunto de faro derecho1
Conjunto de faro izquierdo1
Perno (" x ")8
Extensin opcional del faro2
  1. Retire los protectores de los faros (Figure 11).

    Note: Las extensiones opcionales de los faros son para las carcasas de corte de 183 cm y 254 cm solamente (Figure 10).

  2. Si es necesario, instale la extensin del faro con 4 pernos (" x ") y 4 contratuercas ("); consulte Figure 10.

  3. Instale el faro en la extensin o en el soporte del faro con 4 pernos (" x ") y 4 contratuercas ("); consulte Figure 10.

    g037930
  4. Instale los conectores elctricos de las luces delanteras (Figure 11).

    g185808
  5. Instale los protectores en los faros (Figure 11).

Close section

Sujecin del enganche de la horquilla de la rueda giratoria

Piezas necesarias en este paso:

Perno con arandela prensada (" x 1").1
Tuerca con arandela prensada (")1

Important: Este procedimiento se utiliza nicamente en carcasas de corte de 254 cm.

Sujete el enganche de la horquilla de la rueda giratoria segn se muestra en Figure 12.

g185891
Close section

Instalacin de la palanca de control

Piezas necesarias en este paso:

Palanca1
  1. Retire la palanca izquierda existente y guarde las arandelas y los pernos.

  2. Instale la palanca nueva con las arandelas y los pernos existentes (Figure 13).

    g037904
Close section

Instalacin del claxon

Piezas necesarias en este paso:

Claxon1
Perno de cuello cuadrado (5/16" x ")1
Tuerca con arandela prensada (5/16")1

Instale el claxon, segn se muestra en Figure 14.

g037905
Close section

Instalacin del arns de cables

Piezas necesarias en este paso:

Arns de cables1
Fusible de 20A1
Rel1
Mdulo de intermitente1

Note: No conecte el cable negro (negativo) hasta que todo el kit est instalado.

  1. Pase la rama del arns de cables que lleva el rel del intermitente hasta la tapa lateral, donde el arns principal entra en el panel (Figure 14).

    g207446
  2. Utilice los conectores planos situados debajo del panel de control segn se indica a continuacin:

    Note: Utilice solamente uno de los conectores planos indicados en Figure 15.

    • Si la Unidad de potencia auxiliar (Modelo 30382) est instalada, conecte el conector plano correcto al conector plano del mdulo de potencia auxiliar.

    • Si la Unidad de potencia auxiliar (Modelo 30382) no est instalada, conecte el conector plano correcto al cable rosa existente.

  3. Para enrutar el arns de cables en la mquina, consulte la Figure 15.

  4. Utilice los soportes magnticos para sujetar el arns de cables, segn se muestra en Figure 16.

    g037928
Close section

Instalacin de las pegatinas

Piezas necesarias en este paso:

Pegatina 20 km/h3
Placa de nmero de serie1
  1. Instale las pegatinas de 20 km/h segn se muestra en Figure 17.

  2. Instale la placa del nmero de serie, segn se muestra en Figure 17.

  3. Estampe la fecha en el lateral del bastidor metlico, en la zona indicada en Figure 17.

    g189862
Close section

Finalizacin de la instalacin

  1. Conecte el cables negativo de la batera y el cable negro (negativo) a la batera.

  2. Cierre y enganche el cap del motor.

  3. Pruebe todas las funciones del kit.

Close section
Close section

Operación

Uso de los interruptores

  • El interruptor de las luces de emergencia controla las luces de emergencia, y funciona cuando la llave de contacto est en la posicin de Encendido o Apagado (Figure 18).

    g189974
    • Presione el lado del interruptor de las luces de emergencia que lleva el smbolo de advertencia de peligro para encender las luces de emergencia.

    • Presione el otro lado del interruptor para apagar las luces de emergencia.

  • El interruptor de los intermitentes controla los intermitentes de la derecha y la izquierda cuando la llave de contacto est en la posicin de Encendido (Figure 19).

    g185894
    • Presione el lado izquierdo del interruptor de los intermitentes para activar los intermitentes izquierdos.

    • Presione el lado derecho del interruptor de los intermitentes a la posicin central para apagar los intermitentes izquierdos.

    • Presione el lado derecho del interruptor de los intermitentes para activar los intermitentes derechos.

    • Presione el lado izquierdo del interruptor de los intermitentes a la posicin central para apagar los intermitentes derechos.

  • El interruptor de los faros (luces largas y cortas) funciona solamente cuando la llave de contacto est en la posicin de Encendido (Figure 19).

    • Presione el interruptor hacia adelante para encender los faros.

    • Presione el interruptor hacia atrs para encender las luces cortas.

  • Presione el botn del claxon para usar el claxon.

Close section
Close section

Mantenimiento

  • Mantenga el lentes limpias pasando un pao hmedo. No utilice productos de limpieza a base de disolventes.

  • Sustituya las lmparas segn sea necesario. Las lmparas de repuesto deben tener el voltaje y la potencia correctos; verifquelos consultando la lmpara usada.

Close section
Close section