Les cts gauche et droit de la machine sont dtermins d'aprs la position d'utilisation normale.

Attention

CALIFORNIA

Proposition 65 Warning

Mise en service

Prparation de la machine

  1. Conduisez la machine sur une surface plane et horizontale et serrez le frein de stationnement.

  2. Abaissez le plateau de coupe au sol.

  3. Coupez le moteur et enlevez la cl de contact.

  4. Dverrouillez et soulevez le capot moteur, et bloquez-le en position avec la bquille.

  5. Dbranchez le cble ngatif (-) de la batterie.

Close section

Perage des trous pour les tondeuses annes-modles 2015 et prcdentes

  1. Percez le trou comme montr la Figure 1.

    g207350
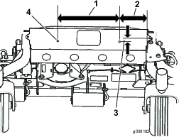
  2. Percez les trous comme montr la Figure 2.

    g038182
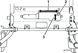
  3. Percez les trous pour l'avertisseur sonore comme montr la Figure 3.

    g037926
  4. Percez les trous comme montr la Figure 4.

    g037927
Close section

Montage de l'interrupteur de feux de dtresse

Pièces nécessaires pour cette opération:

Interrupteur des feux de dtresse1
  1. Dverrouillez le couvercle latral du panneau de commande (Figure 5) et mettez-le de ct.

    g004495
  2. Localisez et dposez les caches amovibles situs vers l'avant du panneau de commande, sous l'autocollant (Figure 6).

    g038159

    Note: Placez le verre sur l'interrupteur des feux de dtresse l'oppos du conducteur.

  3. Insrez l'interrupteur d'clairage comme montr la Figure 6.

Close section

Montage des clairages arrire

Pièces nécessaires pour cette opération:

Feu arrire gauche1
Feu arrire droit1
trier filet4
crou embase (3/8")8
Plaque de fixation d'clairage1
Feu central arrire1
Boulon (n°10 x 7/8")2
Boulon (" x ")2
crou embase (n°10)4
  1. Montez les feux arrire gauche et droit l'aide de 4 triers filets et 4 crous embase (3/8") (Figure 7). Veillez ne pas recouvrir l'autocollant.

    g207376
  2. Montez la plaque de fixation d'clairage et le feu central arrire (Figure 8).

    Note: Vous devrez ventuellement demander une autre personne de tenir la plaque de fixation d'clairage pendant que vous la fixez sur la machine.

    g207375
Close section

Montage du support des phares

Pièces nécessaires pour cette opération:

Support de phare1
crou embase (3/8")2
Boulon (3/8" x 1")2

Montez le support de phare l'avant de la machine l'aide de 2 boulons (3/8" x 1") et 2 crous embase (3/8") (Figure 9).

g189861
Close section

Montage des clairages avant

Pièces nécessaires pour cette opération:

Contre-crou (")8
Phare droit1
Phare gauche1
Boulon (" x ")8
Extension de phare (option)2
  1. Retirez les botiers des phares (Figure 11).

    Note: Les extensions de phare en option sont pour les plateaux de coupe de 183cm et 254cm seulement (Figure 10).

  2. Au besoin, fixez l'extension de phare l'aide de 4 boulons (" x ") et 4 contre-crous ("); voir Figure 10.

  3. Fixez le phare sur l'extension ou le support de phare l'aide de 4 boulons (" x ") et 4 contre-crous ("); voir Figure 10.

    g037930
  4. Montez les connecteurs lectriques des feux avant (Figure 11).

    g185808
  5. Montez les botiers sur les phares (Figure 11).

Close section

Fixation du verrou de chape de roue pivotante

Pièces nécessaires pour cette opération:

Boulon embase (3/8" x 1")1
crou embase (3/8")1

Important: Cette procdure ne concerne que les plateaux de coupe de 254cm.

Fixez le verrou de chape de roue pivotante comme montr la Figure 12.

g185891
Close section

Montage du levier de commande

Pièces nécessaires pour cette opération:

Levier1
  1. Dposez le levier gauche existant et conservez les rondelles et les boulons.

  2. Montez le levier neuf avec les rondelles et les boulons existants (Figure 13).

    g037904
Close section

Montage de l'avertisseur sonore

Pièces nécessaires pour cette opération:

Avertisseur sonore1
Boulon de carrosserie (5/16" x 5/8")1
crou embase (5/16")1

Montez l'avertisseur sonore comme montr la Figure 14.

g037905
Close section

Installation du faisceau de cblage

Pièces nécessaires pour cette opération:

Faisceau de cblage1
Fusible de 20 A1
Relais1
Centrale clignotante1

Note: N'attachez pas le fil noir (ngatif) tant que le kit complet n'est pas install.

  1. Faites passer la branche du faisceau de cblage munie du relais de la centrale clignotante dans le couvercle latral, au point d'entre du faisceau principal dans le panneau (Figure 14).

    g207446
  2. Utilisez les connecteurs lames sous le panneau de commande comme suit:

    Note: Utilisez un seul des connecteurs lames montrs la Figure 15.

    • Si bloc d'alimentation auxiliaire (modle 30382) est mont, branchez le connecteur lame correct la lame libre du module d'alimentation auxiliaire.

    • Si le bloc d'alimentation auxiliaire (modle 30382) n'est pas mont, branchez le connecteur lame correct correspondant au fil rose existant.

  3. Reportez-vous la Figure 15 pour acheminer le faisceau de cblage dans la machine.

  4. Attachez le faisceau de cblage avec les supports magntiques montrs la in Figure 16.

    g037928
Close section

Mise en place des autocollants

Pièces nécessaires pour cette opération:

Autocollant 20km/h3
Plaque du numro de srie1
  1. Placez l'autocollant 20km/h comme montr la Figure 17.

  2. Placez la plaque du numro de srie comme montr la Figure 17.

  3. Inscrivez la date sur le ct du cadre en mtal, l'emplacement indiqu la Figure 17.

    g189862
Close section

Fin de l'installation

  1. Attachez le cble ngative de la batterie et le fil noir (ngatif) la batterie.

  2. Verrouillez le capot moteur.

  3. Testez toutes les fonctions du kit.

Close section
Close section

Utilisation

Utilisation des interrupteurs

  • L'interrupteur des feux de dtresse commande les feux de dtresse et fonctionne que le commutateur d'allumage soit tourn sur Contact ou sur Arrt (Figure 18).

    g189974
    • Appuyez sur le ct de l'interrupteur bascule portant le symbole des feux de dtresse pour allumer les feux de dtresse.

    • Appuyez sur l'autre ct de l'interrupteur pour teindre les feux de dtresse.

  • L'interrupteur des clignotants commande les clignotants gauche et droit quand le commutateur d'allumage soit tourn sur Contact (Figure 19).

    g185894
    • Appuyez sur le ct gauche de la commande des clignotants pour allumer les clignotants gauches.

    • Poussez le ct droit de la commande des clignotants au centre pour teindre les clignotants gauches.

    • Appuyez sur le ct droit de la commande des clignotants pour allumer les clignotants droits.

    • Poussez le ct gauche de la commande des clignotants au centre pour teindre les clignotants droits.

  • Le commutateur des phares et feux de croisement commande les phares uniquement lorsque le contact est tabli (Figure 19).

    • Poussez l'interrupteur vers l'avant pour allumer les phares.

    • Poussez l'interrupteur vers l'arrire pour allumer les feux de croisement.

  • Appuyez sur le bouton pour actionner l'avertisseur sonore.

Close section
Close section

Entretien

  • Essuyez les verres des clairages avec un chiffon humide pour les garder propres. N'utilisez pas de produits de nettoyage base de solvant.

  • Remplacez les ampoules selon les besoins. Les ampoules de rechange doivent avoir la tension et l'intensit correctes; voir l'ancienne ampoule.

Close section
Close section