Stabilite i lati sinistro e destro della macchina dalla normale posizione di guida.

Avvertenza

CALIFORNIA

Proposition 65 Warning

Preparazione

Preparazione della macchina

  1. Portate la macchina su un terreno pianeggiate e innestate il freno di stazionamento.

  2. Abbassate al suolo il piatto di taglio.

  3. Spegnete il motore ed estraete la chiave.

  4. Sbloccate il cofano del motore, sollevatelo e fissatelo in posizione sollevata con l'asta di sostegno.

  5. Scollegate il cavo negativo (-) della batteria dalla batteria.

Close section

Realizzazione dei fori per macchine del 2015 e di anni precedenti

  1. Realizzate il foro come illustrato nella Figure 1.

    g207350
  2. Realizzate i fori come illustrato nella Figure 2.

    g038182
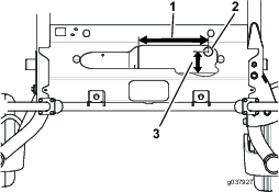
  3. Realizzate i fori per l’avvisatore acustico come illustrato nella Figure 3.

    g037926
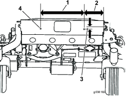
  4. Realizzate i fori come illustrato nella Figure 4.

    g037927
Close section

Montaggio dell'interruttore delle luci di emergenza

Parti necessarie per questa operazione:

Interruttore delle luci di emergenza1
  1. Sbloccate il pannello laterale del quadro di comando (Figure 5) e mettetelo da parte.

    g004495
  2. Individuate e togliete il tappo posto vicino alla parte anteriore del quadro di comando, sotto l'adesivo (Figure 6).

    g038159

    Note: Posizionate il vetrino sull’interruttore di emergenza dalla parte opposta all'operatore.

  3. Inserite l’interruttore delle luci come illustrato nella Figure 6.

Close section

Montaggio delle luci posteriori

Parti necessarie per questa operazione:

Luce posteriore sinistra1
Luce posteriore destra1
Bullone a U4
Dado flangiato (")8
Piastra delle luci1
Luce posteriore centrale1
Bullone (10 x 7/8")2
Bullone (" x ")2
Dado flangiato (n° 10)4
  1. Montate le luci posteriori destra e sinistra con 4 bulloni a U e 4 dadi flangiati (3/8") (Figure 7). Assicuratevi di non coprire l’adesivo.

    g207376
  2. Montate la piastra delle luci e la luce posteriore centrale (Figure 8).

    Note: Potreste aver bisogno di un’altra persona per sostenere la piastra luci mentre la fissate alla macchina.

    g207375
Close section

Montaggio del gruppo di supporto fari

Parti necessarie per questa operazione:

Gruppo di supporto fari1
Dado flangiato (3/8")2
Bullone (" x 1")2

Montate il gruppo di supporto fari sulla parte anteriore della macchina con 2 bulloni (3/8" x 1") e 2 dadi flangiati (3/8"); vedere Figure 9.

g189861
Close section

Montaggio delle luci anteriori

Parti necessarie per questa operazione:

Dado di bloccaggio (")8
Gruppo faro destro1
Gruppo faro sinistro1
Bullone (" x ")8
Prolunga faro opzionale2
  1. Rimuovete i carter dai fari (Figure 11).

    Note: Le prolunghe per fari opzionali sono destinate unicamente a macchine con piatti di taglio da 183 cm e 254 cm (Figure 10).

  2. Se necessario, montate la prolunga per faro con 4 bulloni (" x ") e 4 dadi di bloccaggio ("); vedere Figure 10.

  3. Montate il faro sulla prolunga o sul gruppo di supporto con 4 bulloni (" x ") e 4 dadi di bloccaggio ("); vedere Figure 10.

    g037930
  4. Collegate i connettori elettrici dei fari (Figure 11).

    g185808
  5. Montate i carter sui fari (Figure 11).

Close section

Fissaggio del fermo della forcella della ruota orientabile

Parti necessarie per questa operazione:

Bullone a testa flangiata (3/8" x 1")1
Dado flangiato (3/8")1

Important: Questa procedura prevista solo per macchine con piatti di taglio da 254 cm.

Fissate il fermo della forcella della ruota orientabile come illustrato nella Figure 12.

g185891
Close section

Montaggio della leva di comando

Parti necessarie per questa operazione:

Leva1
  1. Rimuovete la maniglia sinistra preesistente e conservatene le rondelle e i bulloni.

  2. Montate la maniglia nuova con le rondelle e i bulloni preesistenti (Figure 13).

    g037904
Close section

Montaggio dell'avvisatore acustico

Parti necessarie per questa operazione:

Avvisatore acustico1
Bullone a testa tonda (5/16" x 5/8")1
Dado flangiato (5/16")1

Montate l’avvisatore acustico come illustrato nella Figure 14.

g037905
Close section

Montaggio del cablaggio

Parti necessarie per questa operazione:

Cablaggio1
Fusibile da 20 A1
Rel1
Modulo lampeggiatore1

Note: Non collegate il filo nero (negativo) fino a quando il kit non completamente montato.

  1. Infilate la diramazione del cablaggio preassemblato con il rel lampeggiatore verso l’alto attraverso il pannello laterale, dove il cablaggio principale si inserisce nel quadro (Figure 14).

    g207446
  2. Utilizzate i connettori piatti sotto il quadro di comando nel modo seguente:

    Note: Utilizzate soltanto uno dei connettori piatti illustrati nella Figure 15.

    • Se l’unit di alimentazione ausiliaria (modello 30382) presente, collegate il connettore piatto corretto alla lamella libera sul modulo di alimentazione ausiliaria.

    • Se l’unit di alimentazione ausiliaria (modello 30382) non presente, collegate il connettore piatto corretto al filo rosa esistente.

  3. Servitevi della Figure 15 per disporre il cablaggio preassemblato sulla macchina.

  4. Utilizzate i fermi magnetici illustrati nella Figure 16 per fissare il cablaggio preassemblato.

    g037928
Close section

Applicazione degli adesivi

Parti necessarie per questa operazione:

Adesivo 20 kmp3
Targa del numero di serie1
  1. Applicate gli adesivi 20 kmp come mostrato nella Figure 17.

  2. Applicate la targhetta del numero di serie come illustrato nella Figure 17.

  3. Stampigliate la data sul fianco del telaio metallico, nella zona illustrata nella Figure 17.

    g189862
Close section

Completamento del montaggio

  1. Collegate il cavo negativo della batteria e il filo nero (negativo) alla batteria.

  2. Chiudete il cofano del motore.

  3. Verificate tutte le funzioni del kit.

Close section
Close section

Funzionamento

Funzionamento degli interruttori

  • L'interruttore delle luci di emergenza aziona le luci di emergenza e funziona sia quando l'interruttore di accensione della macchina in posizione ON, sia quando in posizione OFF (Figure 18).

    g189974
    • Premete il lato dell'interruttore a bilanciere con il simbolo di emergenza per attivare le luci di emergenza.

    • Premete l'altro lato dell'interruttore a bilanciere per spegnere le luci di emergenza.

  • L'interruttore degli indicatori di direzione aziona gli indicatori di direzione di destra e sinistra quando l'interruttore di accensione in posizione ON (Figure 19).

    g185894
    • Premete il lato sinistro dell'interruttore degli indicatori per accendere gli indicatori di direzione di sinistra.

    • Premete il lato destro dell'interruttore degli indicatori, portando l’interruttore in posizione centrale, per spegnere gli indicatori di sinistra.

    • Premete il lato destro dell'interruttore degli indicatori per accendere gli indicatori di direzione di destra.

    • Premete il lato sinistro dell'interruttore degli indicatori, portando l’interruttore in posizione centrale, per spegnere gli indicatori di destra.

  • L'interruttore dei fanali e degli anabbaglianti aziona i fanali unicamente quando l'interruttore di accensione della macchina in posizione On (Figure 19).

    • Spingete avanti l'interruttore per accendere i fanali.

    • Tirate indietro l’interruttore per accendere gli anabbaglianti.

  • Premete il pulsante dell'avvisatore acustico per attivare l'avvisatore acustico.

Close section
Close section

Manutenzione

  • Tenete i vetri delle luci puliti strofinandoli con un panno umido. Non usate detergenti a base di solvente.

  • Sostitute le lampadine all'occorrenza. Utilizzate lampadine sostitutive con una tensione e una potenza elettrica nominali adeguate; per i dettagli fate riferimento alla lampadina vecchia.

Close section
Close section