Bepaal vanuit de normale bedieningspositie de linker- en rechterzijde van de machine.

Waarschuwing

CALIFORNIA

Proposition 65 Warning

Montage

De machine gebruiksklaar maken

  1. Rijd de machine op een egaal oppervlak en stel de parkeerrem in werking.

  2. Laat het maaidek neer op de grond.

  3. Zet de motor af en haal het sleuteltje uit het contact.

  4. Maak de motorkap los en til ze op. Bevestig ze in deze stand met de steun.

  5. Koppel de minkabel (-) los van de accu.

Close section

De openingen boren voor machines uit 2015 en eerder

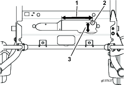
  1. Boor de opening zoals wordt getoond in Figure 1.

    g207350
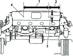
  2. Boor de openingen zoals wordt getoond in Figure 2.

    g038182
  3. Boor de openingen voor de claxon zoals wordt getoond in Figure 3.

    g037926
  4. Boor de openingen zoals wordt getoond in Figure 4.

    g037927
Close section

De schakelaar van de gevarenverlichting monteren

Benodigde onderdelen voor deze stap:

Schakelaar gevarenverlichting1
  1. Maak het zijdeksel van het bedieningspaneel los (Figure 5) en bewaar het.

    g004495
  2. Zoek en verwijder de plug bij de voorkant van het bedieningspaneel onder de sticker (Figure 6).

    g038159

    Note: Richt de lens van de schakelaar van de gevarenverlichting weg van de bestuurder.

  3. Plaats de lichtschakelaar zoals wordt getoond in Figure 6.

Close section

De achterlichten monteren

Benodigde onderdelen voor deze stap:

Linker achterlicht1
Rechter achterlicht1
U-bout4
Flensmoer (inch)8
Verlichtingsplaat1
Middelste achterlicht1
Bout (nr. 10x 7/8")2
Bout (x")2
Flensmoer (nr. 10)4
  1. Plaats het linker en rechter achterlicht met 4 U-bouten en 4 flensmoeren (") (Figure 7). Voorkom dat u de sticker bedekt.

    g207376
  2. Monteer de verlichtingsplaat en het middelste achterlicht (Figure 8).

    Note: Mogelijk moet u iemand anders vragen om de verlichtingsplaat vast te houden terwijl u deze bevestigt aan de machine.

    g207375
Close section

De koplamphouder monteren

Benodigde onderdelen voor deze stap:

Koplamphouder1
Flensmoer (")2
Bout ("x1")2

Monteer de koplamphouder aan de voorzijde van de machine met 2 bouten ( x 1") en 2 flensmoeren ("); zie Figure 9.

g189861
Close section

De voorlichten monteren

Benodigde onderdelen voor deze stap:

Borgmoer (1/4inch)8
Koplamp rechts1
Koplamp links1
Bout (" x ")8
Optionele koplampverlenging2
  1. Verwijder de schermen van de koplampen (Figure 11).

    Note: De optionele koplampverlengingen zijn enkel bedoeld voor maaidekken van 183 cm en 254 cm (Figure 10).

  2. Monteer indien nodig de koplampverlenging met 4 bouten (" x ") en 4 borgmoeren ("); zie Figure 10.

  3. Monteer de koplamp op de verlenging of de koplampbeugel; gebruik 4 bouten (" x ") en 4 borgmoeren (") zoals afgebeeld op Figure 10.

    g037930
  4. Maak de elektrische verbindingen voor het voorlicht (Figure 11).

    g185808
  5. Plaats de schermen op de koplampen (Figure 11).

Close section

De zwenkwielvork vergrendelen

Benodigde onderdelen voor deze stap:

Flensbout ( x 1")1
Flensmoer (")1

Important: Deze procedure is alleen van toepassing op maaidekken van 254cm.

Maak de grendel van de zwenkwielvork vast zoals afgebeeld in Figure 12.

g185891
Close section

De bedieningshendel monteren

Benodigde onderdelen voor deze stap:

Hendel1
  1. Verwijder de aanwezige linkerhandgreep en bewaar de ringen en bouten.

  2. Monteer de nieuwe handgreep met de oude ringen en bouten (Figure 13).

    g037904
Close section

De claxon monteren

Benodigde onderdelen voor deze stap:

Claxon1
Slotbout (5/16 x 5/8")1
Flensmoer (5/16")1

Plaats de claxon zoals wordt getoond in Figure 14.

g037905
Close section

De kabelboom monteren

Benodigde onderdelen voor deze stap:

Kabelboom1
20A zekering1
Relais1
Knipperlichtmodule1

Note: Sluit de zwarte kabel (minkabel) pas aan wanneer de set volledig is gemonteerd.

  1. Draai de tak van de kabelboom met het knipperrelais in de zijplaat, waar de hoofdkabelboom in het paneel gaat (Figure 14).

    g207446
  2. Gebruik de kabelschoenen onder het bedieningspaneel als volgt:

    Note: Gebruik slechts 1 van de kabelschoenen zoals wordt getoond in Figure 15.

    • Als het hulpaggregaat (model 30382) gemonteerd is, moet u de juiste kabelschoen aansluiten op het vrije contact van de hulpaggregaateenheid.

    • Als het hulpaggregaat (model 30382) niet gemonteerd is, moet u de juiste kabelschoen aansluiten die past op de aanwezige roze draad.

  3. Gebruik Figure 15 om de kabelboom in de machine te leiden.

  4. Gebruik de magneethouders afgebeeld in Figure 16 om de kabelboom te bevestigen.

    g037928
Close section

De stickers aanbrengen

Benodigde onderdelen voor deze stap:

Sticker 20 km/u3
Plaatje met serienummer1
  1. Breng de stickers "20 km/u" aan zoals afgebeeld op Figure 17.

  2. Monteer het plaatje met serienummer zoals afgebeeld in Figure 17.

  3. Stempel de datum in de zijkant van het metalen frame op de plaats getoond in Figure 17.

    g189862
Close section

De montage voltooien

  1. Bevestig de negatieve accukabel en de zwarte minkabel op de accu.

  2. Vergrendel de motorkap.

  3. Test de werking van de set.

Close section
Close section

Gebruiksaanwijzing

De schakelaars bedienen

  • De schakelaar gevarenverlichting activeert de gevarenverlichting en werkt zowel met het contactsleuteltje op AAN als UIT (Figure 18).

    g189974
    • Druk op de zijkant van de tuimelschakelaar met het gevarensymbool om de gevarenverlichting te activeren.

    • Druk op de andere kant van de tuimelschakelaar om de gevarenverlichting uit te schakelen.

  • De schakelaar van de richtingaanwijzers activeert de richtingaanwijzers wanneer het contactsleuteltje op AAN staat (Figure 19).

    g185894
    • Druk op de linkerkant van de schakelaar van de richtingaanwijzers om de linker richtingaanwijzers in te schakelen.

    • Druk de rechterkant van de schakelaar van de richtingaanwijzers naar de middelste stand om de linker richtingaanwijzers uit te schakelen.

    • Druk op de rechterkant van de schakelaar van de richtingaanwijzers om de rechter richtingaanwijzers in te schakelen.

    • Druk de linkerkant van de schakelaar van de richtingaanwijzers naar de middelste stand om de rechter richtingaanwijzers uit te schakelen.

  • De schakelaar van de koplampen en dimlichten activeert de koplampen alleen als het contactsleuteltje op aan staat (Figure 19).

    • Duw de schakelaar naar voren om de koplamp aan te zetten.

    • Duw de schakelaar naar achteren om het dimlicht aan te zetten.

  • Druk op de claxonknop om te claxonneren.

Close section
Close section

Onderhoud

  • Houd de lenzen schoon door ze af te vegen met een vochtige doek. Gebruik geen oplosmiddelenhoudende reinigingsmiddelen.

  • Vervang lampen wanneer dat nodig is. Gebruik vervanglampen met de juiste nominale spanning en wattverbruik; kijk voor meer informatie op de oude lampen.

Close section
Close section