Determine os lados direito e esquerdo da mquina a partir da posio normal de operao.

Aviso

CALIFORNIA

Proposition 65 Warning

Instalação

Preparao da mquina

  1. Mova a mquina para uma rea nivelada e aplique o travo de mo.

  2. Desa a plataforma de corte at ao solo.

  3. Desligue o motor e retire a chave.

  4. Abra a cobertura do motor, levante-a e prenda-a na posio elevada com a barra de apoio.

  5. Desligue o cabo negativo (–) da bateria.

Close section

Abertura de orifcios nas mquinas de 2015 e anteriores

  1. Perfure um orifcio como se mostra na Figure 1.

    g207350
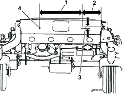
  2. Abra os orifcios como se mostra na Figure 2.

    g038182
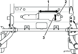
  3. Abra os orifcios para a buzina como se mostra na Figure 3.

    g037926
  4. Abra os orifcios como se mostra na Figure 4.

    g037927
Close section

Instalao do interruptor dos piscas de emergncia

Peças necessárias para este passo:

Interruptor dos piscas de emergncia1
  1. Desprenda a cobertura lateral do painel de controlo (Figure 5) e reserve.

    g004495
  2. Identifique a tampa extravel na parte da frente do painel de controlo sob o autocolante e retire-a (Figure 6).

    g038159

    Note: Coloque a lente no interruptor das luzes de emergncia afastada do operador.

  3. Insira o interruptor das luzes como se mostra na Figure 6.

Close section

Instalao das luzes traseiras

Peças necessárias para este passo:

Luz traseira do lado esquerdo1
Luz traseira do lado direito1
Cavilha em U4
Porca flangeada (3/8pol.)8
Placa das luzes1
Luz traseira central1
Parafuso (#10 x 7/8 pol.)2
Parafuso ( x pol.)2
Porca flangeada (n.10)4
  1. Instale as luzes traseiras do lado esquerdo e direito usando as 4 cavilhas em U e as 4 porcas flangeadas (3/8 pol.) (Figure 7). Certifique-se de que no tapa o autocolante.

    g207376
  2. Instale a placa das luzes e a luz traseira central (Figure 8).

    Note: Pode precisar que outra pessoa segure na placa das luzes enquanto a prende na mquina.

    g207375
Close section

Instalao do conjunto de montagem do farol

Peças necessárias para este passo:

Conjunto de montagem do farol1
Porca flangeada (3/8pol.)2
Parafuso (3/8 x 1pol.)2

Instale o conjunto de montagem do farol na parte da frente da mquina utilizando 2 parafusos (3/8 x 1 pol.) e 2 porcas flangeadas (3/8 pol); consulte Figure 9.

g189861
Close section

Instalao das luzes dianteiras

Peças necessárias para este passo:

Porca de bloqueio (pol.)8
Conjunto do farol direito1
Conjunto do farol esquerdo1
Parafuso ( x pol.)8
Extenso de farol opcional2
  1. Retire os escudos dos faris (Figure 11).

    Note: As extenses de faris opcionais so apenas para plataformas de cortadores de 183cm e 254cm (Figure 10).

  2. Se for necessrio, instale a extenso do farol utilizando 4 parafusos ( x pol.) e 4 porcas de bloqueio (pol.); consulte Figure 10.

  3. Instale o farol na extenso ou o conjunto de montagem do farol utilizando 4 parafusos ( x pol.) e 4 porcas de bloqueio (pol.); consulte Figure 10.

    g037930
  4. Instale os conectores eltricos das luzes dianteiras (Figure 11).

    g185808
  5. Instale os resguardos nos faris (Figure 11).

Close section

Fixao do trinco do garfo da roda giratria

Peças necessárias para este passo:

Parafuso de cabea flangeada (3/8x 1pol.)1
Porca flangeada (3/8pol.)1

Important: Este procedimento aplica-se apenas s plataformas de cortadores de 254 cm.

Prenda o trinco do garfo da roda giratria como se mostra na Figure 12.

g185891
Close section

Instalao da alavanca de controlo

Peças necessárias para este passo:

Alavanca1
  1. Retire o manpulo esquerdo existente e guarde as anilhas e os parafusos.

  2. Instale o manpulo novo usando as anilhas e parafusos que guardou (Figure 13).

    g037904
Close section

Instalao da buzina

Peças necessárias para este passo:

Buzina1
Parafuso de carroaria (5/16 x 5/8 pol.)1
Porca flangeada (5/16pol.)1

Instale a buzina como se mostra na Figure 14.

g037905
Close section

Instalao da cablagem

Peças necessárias para este passo:

Cablagem1
Fusvel 20 A1
Rel1
Mdulo de piscas1

Note: No ligue o cabo (negativo) preto at ter instalado o kit completo.

  1. Encaminhe a derivao da cablagem juntamente como o rel do pisca para cima, para dentro da cobertura lateral, onde a cablagem principal entra no painel (Figure 14).

    g207446
  2. Utilize os conectores de lmina sob o painel de controlo da seguinte forma:

    Note: Utilize apenas 1 dos conectores de lmina ilustrado na Figure 15.

    • Se a Unidade de Alimentao Auxiliar (modelo 30382) estiver instalada, ligue o conector de lmina correto lmina aberta no mdulo de alimentao auxiliar.

    • Se a Unidade de Alimentao Auxiliar (modelo 30382) no estiver instalada, ligue o conector de lmina correto que encaixa no fio cor-de-rosa existente.

  3. Utilize a Figure 15 para encaminhar a cablagem para dentro da mquina.

  4. Utilize os suportes magnticos ilustrados na Figure 16 para prender a cablagem.

    g037928
Close section

Colocao dos autocolantes

Peças necessárias para este passo:

Autocolante de 20 km/h3
Placa do nmero de srie1
  1. Instale os autocolantes de 20km/h como se mostra na Figure 17.

  2. Instale a placa do nmero de srie como se mostra na Figure 17.

  3. Grave a data na lateral da estrutura metlica, na rea ilustrada na Figure 17.

    g189862
Close section

Acabamento da instalao

  1. Ligue o cabo negativo da bateria e o fio (negativo) preto bateria.

  2. Prenda a cobertura do motor.

  3. Teste todas as funes do kit.

Close section
Close section

Funcionamento

Operao dos interruptores

  • O interruptor de aviso de perigo opera as luzes dos piscas de emergncia e funcionar independentemente de a ignio se encontrar na posio Ligada ou Desligada (Figure 18).

    g189974
    • Carregue na lateral do interruptor oscilador com o smbolo do aviso de perigo para ativar os piscas de emergncia.

    • Carregue na outra extremidade do interruptor oscilador para desligar os piscas de emergncia.

  • O interruptor dos indicadores de direo opera as luzes dos indicadores de direo do lado esquerdo e direito quando a ignio est na posio Ligada (Figure 19).

    g185894
    • Carregue no lado esquerdo do interruptor dos indicadores para acender as luzes dos indicadores de direo do lado esquerdo.

    • Carregue no lado direito do interruptor dos indicadores para a posio central, para desligar as luzes dos indicadores de direo do lado esquerdo.

    • Carregue no lado direito do interruptor dos indicadores para acender as luzes dos indicadores de direo do lado direito.

    • Carregue no lado esquerdo do interruptor dos indicadores para a posio central, para desligar as luzes dos indicadores de direo do lado direito.

  • O interruptor dos faris e dos mdios s opera os faris quando a ignio est na posio On (ligada) (Figure 19).

    • Empurre o interruptor para a frente para acender o farol.

    • Empurre o interruptor para trs para acender os mdios.

  • Carregue no boto da buzina para tocar a buzina.

Close section
Close section

Manutenção

  • Mantenha as lentes limpas limpando-as com um pano hmido. No utilize produtos base de solventes.

  • Substitua todas as lmpadas sempre que for necessrio. As lmpadas utilizadas na substituio devem ter os Volts e Watts corretos; veja a lmpada antiga para confirmar as especificaes.

Close section
Close section