CALIFORNIA
Proposition 65 Warning
Note: 安装此组件的程序需要您从机器下面工作。
Note: 您可以使用起重机,在机器下方进行更方便的检修。
Important: 盖住或塞住任何断开的液压软管、管道或组件端口,以防止污染系统。
停在水平地面上,接合手刹,确保驱动踏板处于空档位置。
确保 PTO 按钮处于关闭位置。
关闭发动机,拔下钥匙,并等待机器冷却。
如果将钥匙留在点火开关上,可能会有人无意中启动发动机,对您或旁观者造成严重伤害。
执行任何维护前,请拔下点火开关的钥匙。
通过转动液压泵旁通阀排出液压系统的压力;请参阅操作员手册中的推动或拖曳机器说明。
如果不安装 4 轮驱动开关,请跳至步骤 拆掉液压管线。如果要安装 4 轮驱动开关,请继续此程序。
打开右工具箱盖,从电池电极断开负极接线;请参阅机器操作员手册。
电池接线不正确会损坏机器,而且接线之间会产生火花。火花可引发电池气体爆炸,从而造成人身伤害。
应始终先断开负极(黑色)电池线,然后才能断开正极(红色)接线。
应始终先连接正极(红色)电池线,然后才能连接负极(黑色)接线。
断开电池的正极电池线;请参阅机器操作员手册。
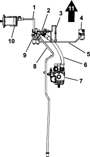
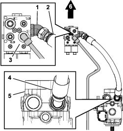
如Figure 1 所示卸掉右控制台盖。

从分流器管的接头卸下后牵引管的管螺母。
从左前牵引马达的 T 形接头卸下分流器管的管螺母,然后从机器中取出管道(Figure 2 或Figure 3)。
Note: 丢弃分流器管。
如果要安装 4 轮驱动开关,请继续此程序。如果不安装 4 轮驱动开关,请跳至步骤 安装液压组件。
Important: 您在安装 4 轮驱动开关时需要执行此程序。
将油箱软管前面直端下方的放油盘对齐。
从液压油箱中的接头卸下油箱软管的前端,盖住油箱上的接头,让液压油从软管中排出。

从隔板接头卸下油箱软管的后斜角端,然后取下油箱软管。
临时盖住隔板接头。
Note: 丢弃原油箱软管。
此程序中需要的物件:
| 分流器 | 1 |
| 插头 | 1 |
| 阀门 | 2 |
| 线圈(12V) | 2 |
| 线圈螺母 | 2 |
Important: 如果您准备安装 4 轮驱动开关,才必须执行此程序。
如Figure 7 所示,将适当的零件安装到分流器歧管上。

上紧线圈螺母扭矩至 6.8~9.5N∙m。
上紧阀门扭矩至 101.7Nm。
上紧分流器扭矩至 101.7Nm。
将栓塞安装到新孔口上。
Note: 丢弃卸下的栓塞和阀门。
此程序中需要的物件:
| 分流器歧管 | 1 |
| 压力软管(适用于 Reelmaster 7000 机器的斜角端) | 1 |
| 压力软管(适用于 Groundsmaster 4500/4700 机器的直端) | 1 |
| 歧管管子 | 1 |
| 牵引马达管(短管用于 Groundsmaster 4500/4700 机器) | 1 |
| 牵引马达管(长管用于 Reelmaster 7000 机器) | 1 |
| 分流器管 | 1 |
| 油箱软管 | 1 |
| 螺栓 | 2 |
| 凸缘螺母 | 2 |
将分流器歧管中的孔与底盘支架中的孔对齐。
Note: 确保 45 度接头向下朝向机器的背面。

用 2 个螺栓和 2 个凸缘螺母将分流器歧管固定到底盘支架上。上紧螺栓扭矩至 37~45N∙m。
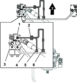
将后牵引管的前管螺母与分流器歧管的弯头对齐(Figure 9 和Figure 11)。


将前管螺母拧到弯头上,然后上紧螺母扭矩至 51~63N∙m。

如下所示,将压力软管安装到 Groundsmaster 4500/4700 机器:
从液压泵上取下临时盖子。
将压力软管的一个直端拧到液压泵内的接头上(Figure 11)。
从分流器歧管上取下临时盖子。
将压力软管的另一直端拧入分流器歧管侧面内的接头上(Figure 11)。
上紧软管接头扭矩至 150~184Nm。
如下所示,将压力软管安装到 Reelmaster 7000 机器:
取下之前安装的后牵引歧管接头上的盖子。
将交叉歧管管的管螺母与后牵引歧管和分流器歧管中的接头对齐(Figure 13)。

将管螺母拧到分流器歧管和后牵引歧管内的接头上,然后上紧螺母扭矩至 51~63N∙m。
准备从拆下十字管中保留的液压滤管。 如Figure 14 所示,将液压滤管的管螺母与交叉歧管管内的接头对齐。

将液压滤管的管螺母拧到交叉歧管管内的接头上,然后上紧螺母扭矩至 51~63N∙m。
将分流器管的管螺母与交叉歧管管和分流器歧管内的接头对齐(Figure 14)。
将分流器管的管螺母拧到交叉歧管管和分流器歧管内的接头上,然后上紧螺母扭矩至 37~45N∙m。
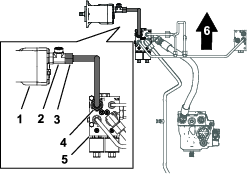
将牵引马达管的管螺母与牵引马达和分流器歧管内的接头对齐(Figure 15)。短牵引马达管用于 Groundsmaster 4500/4700 机器,长牵引马达管用于 Reelmaster 7000 机器。

将牵引马达管的管螺母拧到牵引马达和分流器歧管内的接头上,然后上紧螺母扭矩至 116~142N∙m。
Important: 如果您准备安装 4 轮驱动开关,才必须执行此程序。
取下隔板接头上的临时盖子,并将油箱软管的斜角端拧到隔板接头上。

Note: 使斜角端和软管向外朝向机器右侧,与机架垂直,确保线圈间隙。
取下液压油箱接头上的临时盖子,并将油箱软管的直端拧到接头上。
上紧连接至油箱的前直端扭矩至 50~64Nm。
上紧连接至隔板的斜角端扭矩至 81~100Nm。
此程序中需要的物件:
| 保险丝(10A) | 1 |
| 保险丝标贴 | 1 |
Important: 如果您准备安装 4 轮驱动开关,才必须执行此程序。
将保险丝安装到险丝盒的 C4 插槽内(Figure 17)。
Note: 如果另一个保险丝已经占用了 C4 插槽,可将该保险丝放在任何打开的辅助插槽内。

Important: 注意哪个保险丝插槽对应于哪个辅助电源线。如果开关连接至不带保险丝的电线,开关将不起作用。
将保险丝标贴粘贴在工具箱盖下方对应的面板上。

此程序中需要的物件:
| 切换开关 | 1 |
| 线束 | 1 |
| 4 轮驱动功能标贴 | 1 |
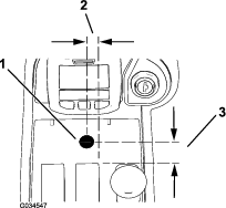
在中央控制台钻一个 13mm 的孔;请参阅Figure 19了解正确的方向。
Important: 小心不要让钻头碰到控制台下方的任何组件或电线。

将 4 轮驱动功能标贴贴在新钻孔的上方(Figure 20)。

找到线束中的 2 个孔眼连接件,然后将它们连接到切换开关的底部(Figure 21)。
Note: 将红线连接至开关的中间端子,将灰线连接至后端子。

将连接了线束的切换开关放入中央控制台的后面(Figure 22)。

将切换开关/线束通过中央控制台向上拉到钻出的孔(Figure 23)。

从中央控制台底部将切换开关装入 13mm 的孔;请参阅Figure 24了解正确的六角螺母和垫圈方向。
Note: 安装切换开关,将开关弹簧装到后面。丢弃随切换开关附带的带标签垫圈。

此程序中需要的物件:
| 线束 | 1 |
| 继电器 | 1 |
| 自攻螺丝 | 1 |
Important: 如果您准备安装 4 轮驱动开关,才必须执行此程序。
沿现有线束将线束布放到座椅下方机架的开口(Figure 25)。

在控制台内将新线束固定至现有线束。
将端子插头和孔眼连接件放入工具箱(Figure 26)。

如Figure 27 所示,将线束端子插入离开保险丝盒的辅助电线。
Important: 确保选定的辅助电线与新保险丝相连,否则开关将不起作用。用万用表进行连续性测试,以确认所需的插槽和电线是否匹配。

如Figure 28 所示,将孔眼连接件连接至地线盒。

打开座椅的闩锁;请参阅机器操作员手册。
如Figure 29 所示,用提供的自攻螺丝将继电器安装到继电器安装座上。

如Figure 30 所示,将继电器接头插入继电器。

将未直接连接到继电器的 2 根剩余电线沿着机架下方的现有线束布放,直至位于 3 向歧管的上方(Figure 31)。

从 3 向歧管拔掉线圈的插头(Figure 32)。

将刚刚拔出的插头接入新线束的空闲插槽内(Figure 33)。

将新线束的斜角插头接入 3 向歧管上的线圈(Figure 34)。

将剩余的松散线束端部绕在下机架上,并将它们连接到右前轮胎内侧的分流器歧管上的 2 个线圈(Figure 31 和Figure 35)。

将正极电池线连接至电池正极;请参阅机器操作员手册。
电池接线不正确会损坏机器,而且接线之间会产生火花。火花可引发电池气体爆炸,从而造成人身伤害。
应始终先断开负极(黑色)电池线,然后才能断开正极(红色)接线。
应始终先连接正极(红色)电池线,然后才能连接负极(黑色)接线。
将负极电池线连接至电池负极;请参阅机器操作员手册。
关闭右工具箱盖,然后安装右控制台盖(Figure 1)。
压力下泄漏的液压油可穿透皮肤,造成伤害。
在对液压系统施加压力之前,请确保所有液压油软管和管线均处于良好状态,且所有液压连接和接头均紧固到位。
请确保身体和双手远离喷射高压液压油的针孔泄漏点或喷嘴。
使用纸板或纸张找出液压泄漏点。
在对液压系统执行任何工作之前,请先安全释放液压系统中的所有压力。
如果液压油穿透皮肤,请立即就医。
检查并拧紧所有接头和液压连接件。
确保液压泵旁通阀处于操作位置;请参阅操作员手册中的推动或拖曳机器说明。
检查液压油位,必要时加注;请参阅机器操作员手册。
启动机器并让液压系统加压。
关闭发动机,然后检查液压管、软管和接头的泄漏情况。
Note: 操作机器之前,修理所有泄漏的地方。
Important: 这样就可以完成安装。
将钥匙放入开关,将钥匙转至启动位置,然后分离手刹。
向前驾驶机器,并向前按下 4 轮驱动切换开关。
Note: 如果组件安装正确,您应该能听到电磁阀换档。如果没有听到,请检查线束连接和保险丝位置。
向前压开关进行急转向。
Note: 如果组件安装正确,您应该能感受到 4 轮驱动。如果没有感到,请检查线束连接和保险丝位置。
分流器组件可在前、后轮之间分隔牵引流。这将需要前轮胎和后轮胎在机器失去牵引力之前旋转。
使用以下信息,可最好地操作安装了分流器的机器:
分流器套件仅用于低速范围。高速范围下系统不会启动分流器。
如果前轮和后轮同时旋转,可能有助于使用转向制动器。应用对应于旋转前轮的制动踏板,以便将扭矩传递到仍然具有牵引力的车轮。