Údržba
Note: Z polohy obsluhy určete levou a pravou stranu stroje.
Doporučený harmonogram údržby
| Servisní interval | Postup při údržbě |
|---|---|
| Po prvních 2 hodinách |
|
| Po prvních 5 hodinách |
|
| Při každém použití nebo denně |
|
| Po každých 100 hodinách provozu |
|
| Každý rok |
|
| Každý rok nebo před uskladněním |
|
Important: Více informací o údržbě a servisu sněhové frézy naleznete na stránkách www.Toro.com.
Bezpečnost při provádění úkonů údržby
Před provedením jakýchkoli úkonů údržby stroje si přečtěte následující bezpečnostní opatření.
-
Před prováděním údržby, servisu nebo nastavování vypněte motor a vytáhněte klíček ze zapalování. Vyžaduje-li stroj závažnější opravu, vyhledejte autorizovaného servisního prodejce.
-
Často kontrolujte, zda jsou všechny montážní prvky správně utaženy, aby byl stroj udržován v bezpečném provozním stavu.
-
Neměňte nastavení regulátoru motoru.
-
Kupujte výhradně originální náhradní díly a příslušenství značky Toro.
Příprava údržby
-
Umístěte sněhovou frézu na rovný povrch.
-
Vypněte motor a počkejte, dokud se nezastaví všechny pohybující se součásti.
-
Odpojte kabel zapalovací svíčky. Viz Výměna zapalovací svíčky.
Kontrola hladiny motorového oleje
| Servisní interval | Postup při údržbě |
|---|---|
| Při každém použití nebo denně |
|


Kontrola a nastavení kluzných lišt a shrnovače
| Servisní interval | Postup při údržbě |
|---|---|
| Každý rok |
|
Zkontrolujte kluzné lišty a shrnovač, abyste se ujistili, že se nabírací šroub nedotýká dlážděného nebo štěrkového povrchu. Podle potřeby nastavte kluzné lišty a shrnovač, abyste kompenzovali opotřebení.
-
Zkontrolujte tlak v pneumatikách; viz Nastavení tlaku v pneumatikách.
-
Povolujte matice přidržující obě kluzné lišty na stranách nabíracího šroubu, dokud se lišty nebudou snadno posunovat nahoru a dolů.

Important: Nože nabíracího šroubu musí být pomocí kluzných lišt zvednuty nad zem.
-
Ujistěte se, že shrnovač je 3 mm nad rovným povrchem a je s tímto povrchem rovnoběžný.
Note: Pokud je podklad popraskaný, hrubý nebo nerovný, nastavte kluzné lišty tak, aby se shrnovač zvedl. V případě štěrkového povrchu spusťte kluzné lišty ještě níže, aby sněhová fréza nenabírala kameny.
-
Spouštějte kluzné lišty dolů, dokud nebudou vyrovnány se zemí.
-
Pevně utáhněte matice připevňující obě kluzné lišty ke stranám nabíracího šroubu.
Note: Chcete-li rychle nastavit uvolněné kluzné lišty, podepřete shrnovač ve výšce 3 mm nad zemí a poté lišty spusťte na zem.
Note: Pokud jsou obě kluzné lišty nadměrně opotřebené, můžete je obrátit nepoužitou stranou k zemi.
Kontrola a nastavení lanka pojezdu
| Servisní interval | Postup při údržbě |
|---|---|
| Po prvních 2 hodinách |
|
| Každý rok |
|
Pokud se sněhová fréza nepohybuje dopředu nebo dozadu podle zařazených rychlostí nebo se pohybuje, když uvolníte páku pojezdu, seřiďte lanko pojezdu.
Není-li levé lanko (pojezd) správně seřízeno, proveďte následující kroky:
-
Povolte pojistnou matici.
-
Přesuňte páku pojezdu a podržte ji na místě (Obrázek 35).

-
Povolením nebo přitažením napínáku upravte délku pružiny na 5,5 cm, viz Obrázek 36.

-
Utažením pojistné matice (Obrázek 36) lanko mírně napněte.
-
Pokud je lanko pojezdu správně nastaveno, ale problém přetrvává, obraťte se na autorizované servisní středisko.
Kontrola a nastavení lanka nabíracího šroubu/rotoru
| Servisní interval | Postup při údržbě |
|---|---|
| Po prvních 2 hodinách |
|
| Každý rok |
|
-
Povolte pojistnou matici.
-
Přesuňte páku nabíracího šroubu / rotoru a podržte ji na místě (Obrázek 37).

-
Povolením nebo přitažením napínáku upravte délku pružiny na 7 cm, viz Obrázek 38.

-
Utažením pojistné matice (Obrázek 38) lanko mírně napněte.
-
Pokud je lanko nabíracího šroubu/rotoru správně nastaveno, ale problém přetrvává, obraťte se na autorizované servisní středisko.
Kontrola hladiny oleje v převodovce nabíracího šroubu
| Servisní interval | Postup při údržbě |
|---|---|
| Každý rok |
|
-
Umístěte sněhovou frézu na rovný povrch.
-
Vyčistěte prostor kolem zátky (Obrázek 39).

-
Odstraňte zátku z převodovky.
-
Zkontrolujte hladinu oleje v převodovce. Hladina oleje by měla být 9,5 mm pod otvorem plnicího hrdla.
-
Pokud je hladina oleje nízká, doplňte do převodovky převodový olej GL-5 nebo GL-6, SAE 80-90 EP tak, aby jeho hladina sahala 9,5 mm pod otvor plnicího hrdla.
Note: Nepoužívejte syntetický olej.
-
Namontujte zátku převodovky.
Výměna motorového oleje
| Servisní interval | Postup při údržbě |
|---|---|
| Po prvních 5 hodinách |
|
| Každý rok |
|
Je-li to možné, několik minut před výměnou oleje spusťte motor, protože teplý olej je tekutější a odplaví více nečistot.
| Množství motorového oleje | 0,70 l |
| Viskozita oleje | Viz Obrázek 41. |
| API provozní klasifikace | SJ nebo vyšší |
Použijte Obrázek 40 níže pro výběr oleje s nejlepší viskozitou vzhledem k očekávanému rozsahu venkovních teplot:

-
Vyčistěte prostor kolem uzávěru výpusti oleje (Obrázek 41).

-
Zasuňte vypouštěcí nádobu pod nástavec výpusti a odstraňte vypouštěcí zátku oleje.
-
Vypusťte olej.
Note: Použitý olej předejte do certifikovaného recyklačního střediska.
-
Nainstalujte vypouštěcí zátku oleje.
-
Naplňte klikovou skříň olejem.
Mazání šestihranné osy
| Servisní interval | Postup při údržbě |
|---|---|
| Každý rok |
|
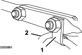
Každý rok lehce namažte šestihrannou osu motorovým olejem pro automobily (Obrázek 42).

Important: Předcházejte tomu, aby olej potřísnil gumové kolo nebo ocelové třecí kolo, protože pohon pojezdu by prokluzoval (Obrázek 42).
-
Vypusťte palivo z palivové nádrže.
-
Nakloňte stroj dopředu na skříň nabíracího šroubu a znehybněte ji, aby se nemohla převrátit.
-
Odstraňte zadní kryt (Obrázek 43).

-
Posuňte řadicí páku do polohy R2.
-
Ponořte prst do motorového oleje pro automobily a lehce namažte šestihrannou osu.
-
Posuňte řadicí páku do polohy 6.
-
Namažte druhý konec šestihranné osy.
-
Několikrát posuňte řadicí páku dopředu a dozadu.
-
Nainstalujte zadní kryt a vraťte stroj do provozní polohy.
Výměna zapalovací svíčky
| Servisní interval | Postup při údržbě |
|---|---|
| Po každých 100 hodinách provozu |
|
Důležité upozornění
Výměna zapalovací svíčky, když je motor horký, může způsobit popáleniny.
Zapalovací svíčku vyměňte až po vychladnutí motoru.
Používejte zapalovací svíčku Toro nebo ekvivalentní svíčku (Champion® RN9YC nebo NGK BPR6ES).
-
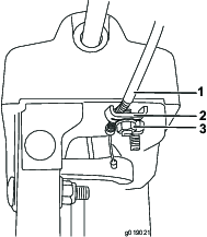
Vyjměte držák (Obrázek 44).

-
Vyčistěte okolí patky zapalovací svíčky.

-
Vyjměte a zlikvidujte starou zapalovací svíčku.
Note: Pro vyjmutí zapalovací svíčky budete potřebovat ráčnový klíč.
-
Mezeru mezi elektrodami na nové zapalovací svíčce nastavte na 0,76 mm, viz Obrázek 46.

-
Našroubujte novou zapalovací svíčku, pevně ji utáhněte a připojte k ní kabel zapalování.
Note: Zajistěte, aby byl kabel zapalování na zapalovací svíčce zcela přichycen na svém místě.
Seřízení západky vyhazovacího komínu
Pokud se vyhazovací komín nezajistí v požadované poloze nebo jej nelze odjistit, abyste jej mohli nastavit do jiné polohy, seřiďte západku vyhazovacího komínu.
-
Utahovací sponu na podpěře komínu povolte tak, aby se lanko uvolnilo.

-
Je-li lanko uvolněné, zatáhněte za ně směrem dozadu.
-
Lanko přidržujte na místě a utáhněte sponu.
Výměna hnacích řemenů
Pokud je hnací řemen nabíracího šroubu/rotoru nebo hnací řemen pojezdu opotřebený, nasáklý olejem nebo jinak poškozený, nechejte jej vyměnit v autorizovaném servisním středisku.




































