Vedligeholdelse
Note: Maskinens venstre og højre side er set fra den normale betjeningsposition.
Skema over anbefalet vedligeholdelse
| Vedligeholdelsesintervaller | Vedligeholdelsesprocedure |
|---|---|
| Efter de første 2 timer |
|
| Efter de første 5 timer |
|
| Hver anvendelse eller dagligt |
|
| For hver 100 timer |
|
| Årlig |
|
| Årlig eller før opbevaring |
|
Important: Du kan få yderligere oplysninger om vedligeholdelse og reparation af maskinen på www.Toro.com.
Vedligeholdelsessikkerhed
Læs følgende sikkerhedsforanstaltninger, før der udføres vedligeholdelse på maskinen:
-
Før du udfører vedligeholdelse, reparation eller justering, skal du slukke motoren og fjerne nøglen. Kontakt en autoriseret serviceforhandler, når det er nødvendigt at foretage større reparationer.
-
Kontroller med jævne mellemrum, at alle fastgørelsesbolte/skruer osv. er tilspændte for at sikre, at maskinen er i sikker driftsmæssig stand.
-
Lav ikke om på regulatorindstillingerne på motoren.
-
Køb kun originale Toro-reservedele og tilbehør.
Klargøring til vedligeholdelsesarbejde
-
Flyt maskinen til en plan overflade.
-
Sluk motoren, og vent, til alle bevægelige dele er standset.
-
Frakobl tændrørskablet. Se Udskiftning af tændrøret.
Kontrol af motoroliestanden
| Vedligeholdelsesintervaller | Vedligeholdelsesprocedure |
|---|---|
| Hver anvendelse eller dagligt |
|


Kontrol og justering af glidere og skraber
| Vedligeholdelsesintervaller | Vedligeholdelsesprocedure |
|---|---|
| Årlig |
|
Kontroller gliderne og skraberen for at sikre, at sneglen ikke kommer i kontakt med den asfalterede eller grusbelagte overflade. Juster gliderne og skraberen som nødvendigt for at kompensere for slid.
-
Kontroller dæktrykket. Se Justering af dæktryk.
-
Løsn de møtrikker, der fastgør begge glidere til sneglens sider, indtil gliderne let kan glide op og ned.

Important: Sneglebladene skal være støttet over jorden af gliderne.
-
Sørg for, at skraberen er 3 mm over og parallelt med en plan overflade.
Note: Hvis fortovet er revnet, hårdt eller ujævnt, skal du justere gliderne for at hæve skraberen. Ved grusbelagte overflader skal du justere gliderne yderligere for at forhindre, at sneslyngen opsamler sten.
-
Flyt gliderne nedad, indtil de er i niveau med jorden.
-
Spænd de møtrikker, der fastgør begge gliderne til sneglens sider, godt fast.
Note: For hurtigt at justere gliderne, hvis de bliver løse, skal du støtte skraberen 3 mm over fortovet og dernæst justere gliderne ned til fortovet.
Note: Hvis gliderne bliver for slidte, kan du vende dem om, således at den ubrugte side vender mod fortovet.
Kontrol og justering af traktionskablet
| Vedligeholdelsesintervaller | Vedligeholdelsesprocedure |
|---|---|
| Efter de første 2 timer |
|
| Årlig |
|
Hvis sneslyngen ikke kører i de fremadgående gear eller bakgearene, eller den kører, når du slipper traktionsgrebet, skal du justere traktionskablet.
Hvis det venstre traktionskabel ikke er justeret korrekt, skal du gøre følgende:
-
Løsn kontramøtrikken.
-
Indkobl traktionshåndtaget, og hold det på plads (Figur 35).

-
Løsn eller tilspænd spændemøtrikken for at justere fjederens længde til 5,5 cm som vist i Figur 36.

-
Tilspænd kontramøtrikken (Figur 36), og sørg for, at kablet strammes en anelse.
-
Hvis traktionskablet er justeret korrekt, men der stadig er et problem, skal du kontakte en autoriseret serviceforhandler.
Kontrol og justering af snegle-/rotorkablet
| Vedligeholdelsesintervaller | Vedligeholdelsesprocedure |
|---|---|
| Efter de første 2 timer |
|
| Årlig |
|
-
Løsn kontramøtrikken.
-
Indkobl snegle/rotorhåndtaget, og hold det på plads (Figur 37).

-
Løsn eller tilspænd spændemøtrikken for at justere fjederens længde til 7 cm som vist i Figur 38.

-
Tilspænd kontramøtrikken (Figur 38), og sørg for, at kablet strammes en anelse.
-
Hvis snegle-/rotorkablet er justeret korrekt, men der stadig er et problem, skal du kontakte en autoriseret serviceforhandler.
Kontrol af oliestanden i sneglens gearkasse
| Vedligeholdelsesintervaller | Vedligeholdelsesprocedure |
|---|---|
| Årlig |
|
-
Flyt sneslyngen til en plan overflade.
-
Rengør området omkring rørproppen (Figur 39).

-
Fjern rørproppen fra gearkassen.
-
Kontroller oliestanden i gearkassen. Olien skal være 9,5 mm under påfyldningsåbningen.
-
Hvis oliestanden er lav, skal du fylde GL-5 eller GL-6, SAE 80-90 EP-gearoliesmøremiddel i gearkassen, indtil olien er 9,5 mm under påfyldningsåbningen.
Note: Brug ikke syntetisk olie.
-
Monter rørproppen i gearkassen.
Skift af motorolien
| Vedligeholdelsesintervaller | Vedligeholdelsesprocedure |
|---|---|
| Efter de første 5 timer |
|
| Årlig |
|
Hvis det er muligt, bør du lade motoren køre nogle få minutter, før der skiftes olie, da varm olie flyder lettere og bærer flere kontaminanter.
| Motoroliekapacitet | 0,70 l |
| Olieviskositet | Se Figur 41. |
| API-serviceklassifikation | SJ eller højere |
Brug Figur 40 nedenfor for at vælge den bedste olieviskositet til det forventede udendørs temperaturområde:

-
Rengør området omkring olieaftapningshætten (Figur 41).

-
Skub en oliedræningsbakke under aftapningsforlængeren, og fjern olieaftapningshætten.
-
Aftap olien.
Note: Bortskaf den brugte olie på et lokalt genbrugsanlæg.
-
Sæt olieaftapningshætten på.
-
Fyld krumtaphuset med olie.
Smøring af sekskantakslen
| Vedligeholdelsesintervaller | Vedligeholdelsesprocedure |
|---|---|
| Årlig |
|
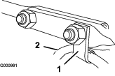
Smør et tyndt lag motorolie til biler på sekskantakslen en gang om året (Figur 42).

Important: Spild ikke olie på gummihjulet eller friktionsremskiven af stål, da traktionsdrevet i så fald ikke vil tage rigtigt ved (Figur 42).
-
Tap brændstoffet af brændstoftanken.
-
Tip maskinen fremad på dens sneglehus, og bloker den, så den ikke kan vælte.
-
Fjern bagdækslet (Figur 43).

-
Flyt farthåndtaget til positionen R2.
-
Dyp fingeren i motorolie til biler, og smør sekskantakslen let.
-
Flyt farthåndtaget til positionen 6.
-
Smør den anden ende af sekskantakslen.
-
Flyt farthåndtaget frem og tilbage nogle få gange.
-
Monter bagdækslet, og flyt maskinen tilbage til betjeningspositionen.
Udskiftning af tændrøret
| Vedligeholdelsesintervaller | Vedligeholdelsesprocedure |
|---|---|
| For hver 100 timer |
|
Advarsel
Hvis tændrøret udskiftes, mens motoren er varm, kan det medføre forbrændinger.
Vent, til motoren er tilstrækkeligt afkølet, før tændrøret udskiftes.
Brug et Toro-tændrør eller tilsvarende (Champion® RN9YC eller NGK BPR6ES).
-
Fjern kappen (Figur 44).

-
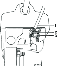
Rengør området omkring den nederste del af tændrøret.

-
Fjern og bortskaf det gamle tændrør.
Note: Du skal bruge en skraldenøgleforlænger til at fjerne tændrøret.
-
Indstil mellemrummet mellem elektroderne på et nyt tændrør til 0,76 mm som vist i Figur 46.

-
Monter det nye tændrør, stram det godt, og sæt tændingskablet på tændrøret.
Note: Sørg for, at tændingskablet klikker helt på plads på tændrøret.
Justering af låsen til udblæsningsslisken
Hvis udblæsningsslisken ikke fastlåses i den ønskede position eller ikke låses op, så du kan bevæge den til en anden position, skal du justere låsen til udblæsningsslisken.
-
Løst klemmens fastgørelsesanordning på sliskens støtteplade, indtil kablet er fri.

-
Fjern ethvert slæk i kablet ved at trække kabelrøret bagud.
-
Tilspænd klemmens fastgørelsesanordning, mens kablet holdes på plads.
Udskiftning af drivremmene
Hvis sneglens/rotorens drivrem eller traktionsdrivremmen bliver slidt, olievædet eller på anden måde beskadiges, skal du få udskiftet remmen hos en autoriseret serviceforhandler.




































