Konserwacja
Note: Określ lewą i prawą stronę maszyny ze standardowego stanowiska operatora.
Zalecany harmonogram konserwacji
| Częstotliwość serwisowania | Procedura konserwacji |
|---|---|
| Po pierwszych 2 godzinach |
|
| Po pierwszych 5 godzinach |
|
| Przed każdym użyciem lub codziennie |
|
| Co 100 godzin |
|
| Co rok |
|
| Co rok lub przed składowaniem |
|
Important: Dodatkowe informacje na temat konserwacji i serwisowania maszyny znajdziesz w witrynie www.Toro.com.
Zasady bezpieczeństwa podczas konserwacji
Przed przystąpieniem do wykonywania jakichkolwiek czynności konserwacyjnych w maszynie należy zapoznać się z następującymi zasadami bezpieczeństwa:
-
Przed przystąpieniem do konserwacji, serwisowania lub regulacji wyłącz silnik i wyjmij kluczyk. W sprawie poważnych napraw kontaktuj się z przedstawicielem autoryzowanego serwisu.
-
Często regularnie sprawdzaj dokręcenie wszystkich mocowań, aby zapewnić bezpieczną eksploatację maszyny.
-
Nie zmieniaj ustawień regulatora silnika.
-
Kupuj tylko oryginalne części zamienne i akcesoria firmy Toro.
Przygotowanie do konserwacji
-
Ustaw maszynę na równym podłożu.
-
Wyłącz silnik i zaczekaj, aż wszystkie ruchome części się zatrzymają.
-
Odłącz kabel od świecy zapłonowej. Patrz Wymiana świecy zapłonowej.
Sprawdzanie poziomu oleju w silniku
| Częstotliwość serwisowania | Procedura konserwacji |
|---|---|
| Przed każdym użyciem lub codziennie |
|


Sprawdzanie i regulacja płóz i zgarniacza
| Częstotliwość serwisowania | Procedura konserwacji |
|---|---|
| Co rok |
|
Sprawdź płozy i zgarniacz, aby upewnić się, że śruba śnieżna nie dotyka brukowanej lub żwirowej nawierzchni. Wyreguluj płozy i zgarniacz odpowiednio do ich zużycia.
-
Sprawdź ciśnienie w oponach; patrz Regulacja ciśnienia w oponach.
-
Odkręcaj nakrętki mocujące obie płozy do boków śruby śnieżnej, aż można je będzie łatwo przesuwać w górę i w dół.

Important: Łopatki śruby śnieżnej muszą być podparte nad podłożem przez płozy.
-
Upewnij się, że zgarniacz znajduje się 3 mm nad i równolegle do równej nawierzchni.
Note: Jeśli chodnik jest popękany, wyboisty lub nierówny, wyreguluj płozy, aby unieść zgarniacz. W przypadku nawierzchni żwirowych, bardziej opuść płozy, aby maszyna nie zbierała kamieni.
-
Opuszczaj płozy, aż będą równo z podłożem.
-
Mocno dokręć nakrętki mocujące obie płozy do boków śruby śnieżnej.
Note: Aby szybko wyregulować płozy, gdy się obluzują, podeprzyj zgarniacz 3 mm nad chodnikiem, po czym opuść płozy na chodnik.
Note: Jeśli płozy ulegną nadmiernemu zużyciu, możesz je odwrócić i ustawić stroną nieużywaną do chodnika.
Sprawdzanie i regulacja linki trakcji
| Częstotliwość serwisowania | Procedura konserwacji |
|---|---|
| Po pierwszych 2 godzinach |
|
| Co rok |
|
Jeśli maszyna nie porusza się po włączeniu biegu jazdy do przodu lub do tyłu, lub jeśli porusza się po zwolnieniu dźwigni trakcji, wyreguluj linkę trakcji.
Jeśli lewa linka (trakcji) nie jest właściwie wyregulowana, wykonaj poniższe czynności:
-
Odkręć przeciwnakrętkę.
-
Załącz dźwignię trakcji i przytrzymaj w tym położeniu (Rysunek 35).

-
Odkręć lub dokręć ściągacz, aby ustawić długość sprężyny na 5,5 cm, jak pokazano na Rysunek 36.

-
Dokręć przeciwnakrętkę (Rysunek 36), upewniając się, że linka jest lekko napięta.
-
Jeśli linka trakcji jest prawidłowo wyregulowana, ale problem nadal powtarza się, skontaktuj się z przedstawicielem autoryzowanego serwisu.
Sprawdzanie i regulacja linki śruby śnieżnej/ wirnika
| Częstotliwość serwisowania | Procedura konserwacji |
|---|---|
| Po pierwszych 2 godzinach |
|
| Co rok |
|
-
Odkręć przeciwnakrętkę.
-
Załącz dźwignię śruby śnieżnej/ wirnika i przytrzymaj w tym położeniu (Rysunek 37).

-
Odkręć lub dokręć ściągacz, aby ustawić długość sprężyny na 7 cm, jak pokazano na Rysunek 38.

-
Dokręć przeciwnakrętkę (Rysunek 38), upewniając się, że linka jest lekko napięta.
-
Jeśli linka śruby śnieżnej/ wirnika jest prawidłowo wyregulowana, ale problem nadal powtarza się, skontaktuj się z przedstawicielem autoryzowanego serwisu.
Sprawdzanie poziomu oleju w skrzyni przekładni śruby śnieżnej
| Częstotliwość serwisowania | Procedura konserwacji |
|---|---|
| Co rok |
|
-
Ustaw maszynę na równym podłożu.
-
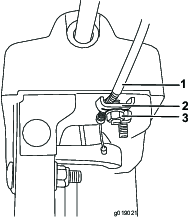
Wyczyść obszar wokół zatyczki (Rysunek 39).

-
Wyjmij zatyczkę z przekładni.
-
Sprawdź poziomu oleju w przekładni. Poziom oleju powinien znajdować się 9,5 mm poniżej wlewu.
-
Jeżeli poziom oleju jest niski, dolej oleju przekładniowego GL-5 lub GL-6, SAE 80-90 EP do przekładni — poziom oleju powinien znajdować się 9,5 mm poniżej wlewu.
Note: Nie stosuj oleju syntetycznego.
-
Włóż zatyczkę do przekładni.
Wymiana oleju silnikowego
| Częstotliwość serwisowania | Procedura konserwacji |
|---|---|
| Po pierwszych 5 godzinach |
|
| Co rok |
|
Jeśli to możliwe, uruchom silnik na kilka minut przed wymianą oleju, ponieważ rozgrzany olej łatwiej wypływa i zawiera więcej zanieczyszczeń.
| Ilość oleju silnikowego | 0,70 l |
| Lepkość oleju | Patrz Rysunek 41. |
| Klasa serwisowa API | SJ lub wyższa |
Wykorzystaj Rysunek 40 poniżej, aby wybrać najlepszą lepkość oleju dla spodziewanego zakresu temperatur na zewnątrz:

-
Wyczyść obszar wokół korka spustowego oleju (Rysunek 41).

-
Podsuń naczynie na spuszczany olej pod przedłużenie spustu i wyciągnij korek spustowy oleju.
-
Spuść olej.
Note: Oddaj zużyty olej do lokalnego centrum recyklingu.
-
Załóż korek spustowy oleju.
-
Napełnij skrzynię korbową olejem.
Smarowanie wałka sześciokątnego.
| Częstotliwość serwisowania | Procedura konserwacji |
|---|---|
| Co rok |
|
Raz w roku delikatnie nasmaruj wałek sześciokątny olejem silnikowym (Rysunek 42).

Important: Uważaj, aby olej nie dostał się na gumowe koło ani na stalowe koło pasowe, ponieważ spowoduje to ślizganie się napędu jezdnego (Rysunek 42).
-
Opróżnij zbiornik paliwa.
-
Przechyl maszynę do przodu, na obudowę śruby śnieżnej i zablokuj tak, aby się nie przewróciła.
-
Zdejmij pokrywę tylną (Rysunek 43).

-
Ustaw dźwignię wybieraka biegów w położeniu R2.
-
Zamocz palec w oleju silnikowym i delikatnie nasmaruj wałek sześciokątny.
-
Ustaw dźwignię wybieraka biegów w położeniu 6
-
Nasmaruj drugi koniec wałka sześciokątnego.
-
Przesuń dźwignię wybieraka biegów kilka razu do przodu i do tyłu.
-
Zamontuj pokrywę tylną i przywróć maszynę do położenia roboczego.
Wymiana świecy zapłonowej
| Częstotliwość serwisowania | Procedura konserwacji |
|---|---|
| Co 100 godzin |
|
Ostrzeżenie
Wymiana świecy w momencie, gdy silnik jest rozgrzany może spowodować oparzenia.
Odczekaj, aż silnik ochłodnie, a następnie wymień świecę.
Używaj świec firmy Toro lub świec podobnych (Champion® RN9YC lub NGK BPR6ES).
-
Zdejmij osłonę (Rysunek 44).

-
Wyczyść obszar wokół podstawy świecy zapłonowej.

-
Wyciągnij i usuń starą świecę.
Note: Do wykręcenia świecy niezbędny jest klucz z grzechotką.
-
Odstęp między elektrodami w nowej świecy powinien wynosić 0,76 mm, zgodnie z Rysunek 46.

-
Wprowadź nową świecę, dokładnie ją dokręć i podłącz kabel zapłonu do świecy.
Note: Sprawdź, czy przewód zapłonowy zamknął się prawidłowo na świecy.
Regulacja zapadki tunelu wyrzutowego
Jeśli tunel wyrzutowy nie blokuje się w żądanej pozycji lub nie można go odblokować, aby zmienić jego położenie, wyreguluj zapadkę tunelu.
-
Poluzuj mocowanie zacisku na płytce wspornika tunelu, do momentu aż linka zostanie zwolniona.

-
Usuń jakikolwiek luz linki, ciągnąc kanał linki do tyłu.
-
Dokręć mocowanie zacisku, gdy linka znajduje się na miejscu.
Wymiana pasków napędowych
Jeśli pasek napędowy lub pasek napędu trakcyjnego śruby śnieżnej/wirnika zużyje się, nasiąknie olejem lub ulegnie innemu uszkodzeniu, zleć wymianę paska przedstawicielowi autoryzowanego serwisu.




































