Техническое обслуживание
Note: Левая и правая сторона машины определяются при взгляде с места оператора.
Рекомендуемый график(и) технического обслуживания
| Периодичность технического обслуживания | Порядок технического обслуживания |
|---|---|
| Через первые 2 часа |
|
| Через первые 5 часа |
|
| Перед каждым использованием или ежедневно |
|
| Через каждые 100 часов |
|
| Ежегодно |
|
| Ежегодно, или до помещения на хранение |
|
Important: Более подробную информацию о техническом обслуживании и уходе за вашей машиной можно найти на сайте www.Toro.com.
Техника безопасности при обслуживании
Изучите приведенные ниже предостережения по технике безопасности, прежде чем выполнять техническое обслуживание машины:
-
Перед выполнением операций технического обслуживания, ухода или регулировки выключите двигатель и извлеките ключ зажигания. При необходимости выполнения капитального ремонта обращайтесь к официальному дилеру по техническому обслуживанию.
-
Для поддержания машины в безопасном рабочем состоянии как можно чаще проверяйте затяжку всех крепежных деталей.
-
Не изменяйте настройки регулятора оборотов двигателя.
-
Приобретайте только оригинальные запасные детали и принадлежности Toro.
Подготовка к операциям технического обслуживания
-
Установите снегоочиститель на ровную поверхность.
-
Выключите двигатель и дождитесь остановки всех движущихся частей.
-
Отсоедините провод свечи зажигания. См. Замена свечи зажигания
Проверка уровня масла в двигателе
| Периодичность технического обслуживания | Порядок технического обслуживания |
|---|---|
| Перед каждым использованием или ежедневно |
|


Проверка и регулировка полозьев и скребка
| Периодичность технического обслуживания | Порядок технического обслуживания |
|---|---|
| Ежегодно |
|
Проверьте положение полозьев и скребка, чтобы шнек не касался мостовой или поверхности, покрытой гравием. Произведите регулировку полозьев и скребка для того, чтобы компенсировать их износ.
-
Проверьте давление в шинах; см. раздел Регулировка давления в шинах.
-
Ослабьте затяжку гаек, крепящих оба полоза к боковинам шнека, так, чтобы шнек мог легко перемещаться вверх и вниз.

Important: Лопасти шнека должны поддерживаться над уровнем земли полозьями.
-
Скребок должен располагаться параллельно поверхности на высоте 3 мм.
Note: Если на мостовой имеются трещины, ухабы и неровности, произведите регулировку полозьев, чтобы увеличить высоту скребка. Для работы на поверхностях, покрытых гравием, при регулировке опускайте полозья дальше вниз для того, чтобы снегоочиститель не захватывал камни.
-
Передвигайте полозья вниз до тех пор, пока они не станут на одном уровне с землей.
-
Надежно затяните гайки, которые крепят оба полоза к боковинам шнека.
Note: Для того, чтобы быстро произвести регулировку полозьев, если их крепление ослабло, поднимите и зафиксируйте скребок на высоте 3 мм над мостовой, затем опустите полозья на мостовую.
Note: Если полозья сильно изношены, их можно перевернуть, чтобы мостовой касалась сторона, не подвергшаяся износу.
Контроль и регулировка троса тяги
| Периодичность технического обслуживания | Порядок технического обслуживания |
|---|---|
| Через первые 2 часа |
|
| Ежегодно |
|
Если у снегоочистителя не включаются передние или задние скорости, или снегоочиститель движется, когда отпущен рычаг привода, произведите регулировку троса тяги.
Если левый трос (тяги) отрегулирован неправильно, выполните следующие действия:
-
Ослабьте затяжку контргайки.
-
Прижмите рычаг тяги к рукоятке и удерживайте его на месте (Рисунок 35).

-
Ослабьте натяжение или подтяните винтовую стяжку, чтобы отрегулировать длину пружины на 5,5 см, как показано на Рисунок 36.

-
Затяните контргайку (Рисунок 36), убедившись в том, что имеется небольшое натяжение тросика.
-
Если тяговый тросик правильно отрегулирован, но проблему устранить не удается, обратитесь к уполномоченному дилеру по техническому обслуживанию.
Проверка и регулировка троса привода шнека/крыльчатки
| Периодичность технического обслуживания | Порядок технического обслуживания |
|---|---|
| Через первые 2 часа |
|
| Ежегодно |
|
-
Ослабьте затяжку контргайки.
-
Прижмите рычаг шнека/крыльчатки к рукоятке и удерживайте его на месте (Рисунок 37).

-
Ослабьте натяжение или подтяните винтовую стяжку, чтобы отрегулировать длину пружины на 7 см, как показано на Рисунок 38.

-
Затяните контргайку (Рисунок 38), убедившись в том, что имеется небольшое натяжение тросика.
-
Если трос шнека/крыльчатки правильно отрегулирован, а недостаток остается, обратитесь к официальному дилеру по техническому обслуживанию.
Проверка уровня масла в редукторе шнека
| Периодичность технического обслуживания | Порядок технического обслуживания |
|---|---|
| Ежегодно |
|
-
Установите снегоочиститель на ровную поверхность.
-
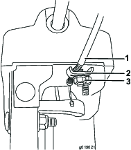
Очистите поверхность вокруг пробки редуктора (Рисунок 39).

-
Выверните пробку из редуктора.
-
Проверьте уровень масла в редукторе. Масло должно находиться на 9,5 мм ниже отверствия заливной горловины.
-
Если уровень масла низкий, добавьте в редуктор трансмиссионное масло GL-5 или GL-6, SAE 80-90 EP до уровня на 9,5 мм ниже отверстия заливной горловины.
Note: Не используйте синтетическое масло.
-
Вверните пробку в редуктор.
Замена масла в двигателе
| Периодичность технического обслуживания | Порядок технического обслуживания |
|---|---|
| Через первые 5 часа |
|
| Ежегодно |
|
При наличии возможности дайте двигателю поработать в течение нескольких минут непосредственно перед заменой масла, так как горячее масло лучше вытекает и уносит с собой больше посторонних частиц.
| Объем моторного масла | 0,70 л |
| Вязкость масла | См. Рисунок 41 |
| Эксплуатационная характеристика по классификации API | SJ или выше. |
Используйте Рисунок 40 приведенный ниже для выбора оптимальной вязкости масла для ожидаемого диапазона наружных температур:

-
Очистите поверхность вокруг пробки для слива масла (Рисунок 41).

-
Установите поддон для масла под трубопроводом слива и снимите пробку для слива масла.
-
Слейте масло.
Note: Утилизируйте использованное масло в местном центре вторичной переработки.
-
Установите пробку для слива масла.
-
Заполните картер двигателя маслом.
Смазка шестигранного вала
| Периодичность технического обслуживания | Порядок технического обслуживания |
|---|---|
| Ежегодно |
|
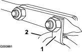
Раз в год наносите на шестигранный вал тонкий слой автомобильного двигательного масла (Рисунок 42).

Important: Не допускайте попадания масла на резиновое колесо или стальной фрикционный шкив, так как в этом случае привод тяги будет проскальзывать (Рисунок 42).
-
Слейте топливо из топливного бака.
-
Наклоните машину вперед на кожух шнека и зафиксируйте ее так, чтобы она не могла упасть.
-
Снимите заднюю крышку (Рисунок 43).

-
Переведите рычаг переключения скоростей в положение R2.
-
Опустите палец в автомобильное двигательное масло и нанесите тонкий слой масла на шестигранный вал.
-
Переведите рычаг переключения скоростей в положение 6.
-
Нанесите смазку на противоположный конец шестигранного вала.
-
Несколько раз переведите рычаг переключения скоростей вперед и назад.
-
Установите заднюю крышку и возвратите машину в рабочее положение.
Замена свечи зажигания
| Периодичность технического обслуживания | Порядок технического обслуживания |
|---|---|
| Через каждые 100 часов |
|
Предупреждение
Замена свечи зажигания на горячем двигателе может привести к ожогам.
Чтобы заменить свечу зажигания, подождите, пока двигатель остынет.
Используйте свечу Toro или эквивалентную (Champion® RN9YC или NGK BPR6ES).
-
Снимите изоляционный колпачок (Рисунок 44).

-
Произведите чистку поверхности вокруг гнезда для свечи зажигания.

-
Выверните и утилизируйте старую свечу зажигания.
Note: Для удаления свечи зажигания потребуется гаечный ключ с трещоткой и удлиненной рукояткой.
-
На новой свече установите зазор между электродами, равный 0,76 мм, как показано на Рисунок 46.

-
Установите новую свечу, плотно затяните ее и подсоедините провод зажигания к свече.
Note: Убедитесь в том, что провод зажигания надежно установлен с фиксацией на свече.
Регулировка фиксатора желоба выброса снега
Если желоб выброса снега не фиксируется в требуемом положении или не освобождается для перехода в другое положение, отрегулируйте фиксатор желоба.
-
Ослабьте зажимную скобу на опорной пластине желоба, пока кабель не освободится.

-
Устраните провисание кабеля, потянув кабельный трубопровод назад.
-
Затяните зажимную скобу, удерживая кабель на месте.
Замена приводных ремней
Если ремень привода шнека/крыльчатки или ремень привода тяги изношен, пропитан маслом или поврежден каким-либо иным образом, вызовите официального дилера по техническому обслуживанию для замены ремня.




































