Údržba
Note: Ľavá a pravá stranu stroja sa určuje podľa bežnej prevádzkovej polohy.
Odporúčaný harmonogram údržby
| Servisný interval | Postup pri údržbe |
|---|---|
| Po prvých 2 hodinách |
|
| Po prvých 5 hodinách |
|
| Pri každom použití alebo denne |
|
| Po každých 100 hodinách prevádzky |
|
| Každý rok |
|
| Každý rok alebo pred uskladnením |
|
Important: Viac informácií o údržbe a servise vášho stroja nájdete na lokalite www.Toro.com.
Bezpečnosť pri údržbe
Pred vykonaním akejkoľvek údržby stroja si prečítajte nasledujúce bezpečnostné opatrenia:
-
Pred vykonaním akejkoľvek údržby, servisu alebo nastavenia zastavte motor a vyberte kľúč. V prípade potreby veľkých opráv kontaktujte autorizovaného servisného predajcu.
-
Fixačné prvky často kontrolujte, či sú správne dotiahnuté, aby ste sa ubezpečili, že stroj je v bezpečnom pracovnom stave.
-
Nemeňte nastavenie regulátora motora.
-
Kupujte len originálne náhradné diely a príslušenstvo značky Toro.
Príprava na údržbu
-
Stroj presuňte na rovný povrch.
-
Zastavte motor a čakajte, pokým sa nezastavia všetky pohyblivé časti.
-
Odpojte drôt zapaľovacej sviečky. Pozrite si časť Výmena zapaľovacej sviečky.
Kontrola hladiny motorového oleja
| Servisný interval | Postup pri údržbe |
|---|---|
| Pri každom použití alebo denne |
|


Kontrola a nastavenie zarážok a škrabáka
| Servisný interval | Postup pri údržbe |
|---|---|
| Každý rok |
|
Skontrolujte zarážky a škrabák a overte, či sa vrták nedotýka dláždeného alebo štrkového povrchu. Opotrebovanie vyrovnajte nastavením zarážok a škrabáka podľa potreby.
-
Skontrolujte tlak pneumatík. Pozrite si časť Úprava tlaku pneumatík.
-
Uvoľňujte matice, ktoré obidve zarážky pripevňujú k bokom vrtáka, kým sa zarážky nebudú ľahko posúvať smerom hore a dole.

Important: Čepele vrtáka musíte zarážkami podoprieť nad zemou.
-
Zabezpečte, aby sa škrabák nachádzal vo vzdialenosti 3 mm nad rovným povrchom a bol s ním rovnobežný.
Note: Ak je chodník popraskaný, hrboľatý alebo nerovný, zarážky nastavte tak, aby škrabák zdvihli. Pre štrkové povrchy nastavte zarážky ešte nižšie, aby ste stroju zabránili v zbieraní skál.
-
Zarážky posúvajte nadol, pokým nebudú vyrovnané so zemou.
-
Pevne dotiahnite matice zaisťujúce obidve zarážky k bočným stranám vrtáka.
Note: Ak chcete rýchlo nastaviť zarážky v prípade ich uvoľnenia, podoprite škrabák 3 mm nad chodníkom a potom nastavte zarážky nadol k chodníku.
Note: Ak sa zarážky nadmerne opotrebujú, môžete ich otočiť a nepoužitú stranu nastaviť smerom k chodníku.
Kontrola a nastavenie trakčného kábla
| Servisný interval | Postup pri údržbe |
|---|---|
| Po prvých 2 hodinách |
|
| Každý rok |
|
Trakčný kábel nastavte, ak sa stroj nepohybuje smerom dopredu alebo dozadu, prípadne ak sa pohybuje po uvoľnení trakčnej páky.
Ak ľavý (trakčný) kábel nie je správne nastavený, vykonajte nasledovné kroky:
-
Uvoľnite poistnú maticu.
-
Zapojte trakčnú páku a podržte ju na mieste (Obrázok 35).

-
Uvoľnením alebo dotiahnutím napínadla nastavte dĺžku pružiny na 5,5 cm, ako je zobrazené na Obrázok 36.

-
Dotiahnite poistnú maticu (Obrázok 36) a skontrolujte, či je kábel mierne napnutý.
-
Ak problém pretrváva aj po správnom nastavení trakčného kábla, obráťte sa na autorizovaného servisného predajcu.
Kontrola a nastavenie kábla vrtáka/poháňača
| Servisný interval | Postup pri údržbe |
|---|---|
| Po prvých 2 hodinách |
|
| Každý rok |
|
-
Uvoľnite poistnú maticu.
-
Zapojte páku vrtáka/poháňača a podržte ju na mieste (Obrázok 37).

-
Uvoľnením alebo dotiahnutím napínadla nastavte dĺžku pružiny na 7 cm, ako je zobrazené na Obrázok 38.

-
Dotiahnite poistnú maticu (Obrázok 38) a skontrolujte, či je kábel mierne napnutý.
-
Ak problém pretrváva aj po správnom nastavení kábla vrtáka/poháňača, obráťte sa na autorizovaného servisného predajcu.
Kontrola hladiny oleja prevodovky vrtáka
| Servisný interval | Postup pri údržbe |
|---|---|
| Každý rok |
|
-
Stroj presuňte na rovný povrch.
-
Vyčistite oblasť okolo zátky rúry (Obrázok 39).

-
Zátku rúry odstráňte z prevodovky.
-
Skontrolujte hladinu oleja v prevodovke. Olej by mal siahať do výšky 9,5 mm pod okraj plniaceho otvoru.
-
Ak je hladina oleja nízka, prilievajte prevodové mazivo do prevodoviek GL-5 alebo GL-6, SAE 80-90 EP, kým nebude hladina oleja 9,5 mm pod okrajom plniaceho otvoru.
Note: Nepoužívajte syntetický olej.
-
Na prevodovku namontujte zátku rúry.
Výmena motorového oleja
| Servisný interval | Postup pri údržbe |
|---|---|
| Po prvých 5 hodinách |
|
| Každý rok |
|
Ak je to možné, pred výmenou oleja nechajte motor niekoľko minút bežať, pretože teplý olej lepšie tečie a prenáša viac kontaminantov.
| Objem motorového oleja | 0,70 l |
| Viskozita oleja | Pozrite si časť Obrázok 41. |
| Klasifikácia API | SJ alebo vyššie |
Pomocou nižšie uvedeného obrázka Obrázok 40 vyberte najlepšiu viskozitu oleja pre očakávaný rozsah vonkajších teplôt:

-
Vyčistite oblasť okolo výpustnej zátky oleja (Obrázok 41).

-
Pod vypúšťaciu nadstavbu dajte vaňu na vypustenie oleja a zložte vypúšťaciu zátku oleja.
-
Vypustite olej.
Note: Použitý olej správne zlikvidujte v miestnom recyklačnom stredisku.
-
Nasaďte vypúšťaciu zátku oleja.
-
Kľukovú skriňu naplňte olejom.
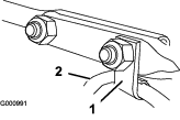
Mazanie šesťhranného hriadeľa
| Servisný interval | Postup pri údržbe |
|---|---|
| Každý rok |
|
Šesťhranný hriadeľ zľahka mažte raz ročne motorovým olejom (Obrázok 42).

Important: Olej nenanášajte na gumené koleso ani oceľový trecí kotúč, pretože bude trakčný pohon prešmykovať (Obrázok 42).
-
Z palivovej nádrže vypustite palivo.
-
Nakloňte stroj dopredu na kryt vrtáka a zaistite ho, aby nespadol.
-
Zložte zadný kryt (Obrázok 43).

-
Páku voliča rýchlosti preraďte do polohy R2.
-
Prstom namočeným do motorového oleja zľahka namažte šesťhranný hriadeľ.
-
Páku voliča rýchlosti preraďte do polohy 6.
-
Namažte druhý koniec šesťhranného hriadeľa.
-
Páku voliča rýchlosti niekoľkokrát preraďte dopredu a dozadu.
-
Nasaďte zadný kryt a vráťte stroj späť do prevádzkovej polohy.
Výmena zapaľovacej sviečky
| Servisný interval | Postup pri údržbe |
|---|---|
| Po každých 100 hodinách prevádzky |
|
Dôležité upozornenie
Výmena zapaľovacej sviečky, kým je motor horúci, môže spôsobiť popáleniny.
Ak chcete vymeniť zapaľovaciu sviečku, počkajte, kým motor nevychladne.
Použite zapaľovaciu sviečku značky Toro alebo jej ekvivalent (Champion® RN9YC alebo NGK BPR6ES).
-
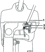
Otvorte kryt (Obrázok 44).

-
Vyčistite priestor okolo základne zapaľovacej sviečky.

-
Vyberte a zahoďte starú zapaľovaciu sviečku.
Note: Na vybratie zapaľovacej sviečky budete potrebovať račnový nástavec.
-
Vzdialenosť medzi elektródami novej zapaľovacej sviečky nastavte na 0,76 mm ako je zobrazené na Obrázok 46.

-
Namontujte novú zapaľovaciu sviečku, pevne ju dotiahnite a pripojte k nej kábel zapaľovania.
Note: Skontrolujte, či kábel zapaľovania úplne zacvakol na svoje miesto na zapaľovacej sviečke.
Nastavenie západky výstupného zľabu
Ak výstupný žľab nezapadne do želanej polohy alebo sa neodomkne, aby ste ho mohli presunúť do inej polohy, nastavte západku výstupného žľabu.
-
Uvoľňujte upevňovaciu svorku na platni podpery žľabu, kým sa kábel úplne neuvoľní.

-
Ťahaním káblového kanála dozadu kábel pevne natiahnite.
-
Kábel podržte na mieste a dotiahnite upevňovaciu svorku.
Výmena hnacích remeňov
Ak sa hnací remeň vrtáka/poháňača alebo trakčný hnací remeň opotrebuje, nasiakne olejom alebo sa inak poškodí, nechajte remeň vymeniť autorizovanému servisnému predajcovi.




































