Vedlikehold
Note: Angi hva som er hyre og venstre side p maskinen ved st i normal arbeidsstilling.
Vedlikeholde motstangen
Fjerne motstangen
-
Skru justeringsskruen til motstangen mot klokken, til motstlet bakside, vekk fra spolen (Figure 18).

-
Skru ut fjrspenningsmutteren til skiven ikke lenger er strammet mot motstangen (Figure 18).
-
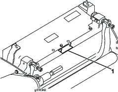
Lsne lsemutteren som fester motstangsbolten p begge sider av maskinen (Figure 19).

-
Fjern begge motstangsboltene slik at motstangen kan dras nedover og fjernes fra maskinbolten (Figure 19).
Husk ta skivene av nylon (2) og stanset stl (2) p hver side av motstangen med i beregningen (Figure 20).

Montere motstangen
-
Nr du skal montere motstangen, m du plassere monteringsfestene mellom skiven og motstangsjustereren.
-
Fest motstangen p hver side av sideplaten ved hjelp av motstangsboltene (mutrene p boltene) og fire skiver (tte totalt).
-
Plasser en nylonskive p hver side av sideplatens nav. Plasser en stlskive p utsiden av hver nylonskive (Figure 20).
-
Trekk motstangsboltene til med et moment p 27 til 36Nm. Stram til lsemutrene for hnd til den ytre stlskiven slutter rotere og det ikke finnes ddgang. Skivene p innsiden kan ha et mellomrom.
Important: kke stram lsemutterne for mye, da dette vil fre til at sideplatene byer av.
-
Stram fjrspenningsmutteren til fjren bryter sammen. Skru deretter ut 1/2 gang (Figure 21).

Slipe spolen
Fare
Kontakt med spolen eller deler som er i bevegelse, kan fre til personskader.
Hold fingre, hender og klr borte fra spolene eller andre bevegelige deler.
-
Hold avstand til spolen nr du sliper.
-
Bruk aldri en pensel med kort hndtak nr du sliper. Delenr.29-9100 Hndtak komplett eller separate deler er tilgjengelige fra din lokale Toro-forhandler.
Du kan slipe spolene ved enten la klippeenheten vre p trekkenheten, eller fjerne klippeenheten fra trekkenheten fullstendig. Hvis klippeenheten blir vrende p trekkenheten, m sekskantkoblingen med hoveddrivet og klippeenhetdrivet flyttet til frakoblet posisjon, for forhindre slitasje p spolebremsen. Flgende fremgangsmte beskriver ekstern sliping:
-
Sett maskinen p en ren og jevn flate.
-
Sl av maskinen p flgende mte:
-
Gassenheter: Stopp motoren, og koble fra tennpluggledningen.
-
Strmdrevne enheter: Sl av maskinen og koble fra batterikoblingen (T-hndtak).
-
-
Sett p parkeringsbremsen.
-
Koble slipemaskinen til klippeenheten ved koble en 1,2 cm sekskanthodet sokkel til spoleremskivens utgende aksel p venstre side av klippeenheten.
Note: Ekstra instruksjoner og fremgangsmter om sliping finnes i brukerveiledningen til Toro Sharpening Reel & Rotary Mowers, skjemanr. 80-300PT.
Note: Hvis du vil ha en skarpere knivegg, bruker du en fil p tvers av motstlets forside nr du er ferdig slipe. Dette vil fjerne alle ru eller skarpe kanter p klippeenheten. En svrt lett nedfiling kan vre ndvendig p toppkanten for bryte den ru kanten helt av klippekanten.
Note: Hvis klippeenheten fremdeles var festet til maskinen under slipingen, husk koble maskinens sekskantede aksel p klippeenheten igjen.





















