保守
Note: 前後左右は運転位置からみた方向です。
ベッドバーの整備
ベッドバーの取り外し
ベッドバーの取り付け
-
ベッドバーアジャスタとスラストワッシャとの間にベッドバーの固定用「耳」を入れる。
-
ベッドバーボルト(とボルトについているナット)とワッシャ4枚(全部で8枚)で、ベッドバーを各サイドプレートに固定する。
-
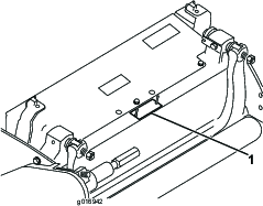
サイドプレートのボスの両側にナイロンワッシャを入れる。その外側からスチール製ワッシャを取り付ける (Figure 20)。
-
ベッドバーボルトを 27~36Nm (2.8~3.7kg.m = 240~320in-lb)にトルク締めする。左右の遊びが完全になくなって外側のスチール製ワッシャが回らなくなるまでロックナットを手で締め付ける。内側のワッシャには遊びがあってよい。
Important: ロックナットを締め付けすぎるとサイドプレートを変形させる恐れがあるので注意する。
-
スプリングがつぶれるまでテンションナットを締め、そこから半回転戻す (Figure 21)。

バックラップ
危険
回転しているリールに触れると大けがをする。
リールその他の可動部に手指、足、衣類等を近づけないよう注意すること。
-
バックラップ中のリールには、絶対に手や足を近づけないこと。
-
柄の短いブラシは絶対にバックラップに使用しないこと。必ず柄の長いブラシ(P/N 29-9110)を使用する。このブラシは完成品でも部品でも入手可能である。
バックラップは、カッティングユニットをトラクションユニットにとりつけたままでも、トラクションユニットから完全に外した状態でも行うことができます。カッティングユニットをトラクションユニットに取り付けたままで行う場合には、リールブレーキの磨耗を減らすために、トラクションユニットとカッティングユニットを接続している六角駆動シャフトカップルをカッティングユニットから外してください。バックラップは以下の手順で行います:
-
平らな、汚れのない場所に駐車する。
-
以下の手順でマシンを停止させる:
-
ガソリンユニット:エンジンを停止させ、点火プラグのコードを外す。
-
電動ユニット:マシンのスイッチをOFFにし、バッテリーコネクタを外す(T字コネクタ)。
-
-
駐車ブレーキを掛ける。
-
バックラップ装置をカッティングユニットに接続します:これは、カッティングユニット左側にあるリールプーリの出力シャフトに インチのソケットを入れて行います。
Note: さらに詳しい説明が、「Toro リール/ロータリー・モアのための研磨マニュアル(Form No. 80-300PT)」に掲載されています。
Note: バックラップが終わったら、ベッドナイフの前端に軽くヤスリ掛けを行ってください。これによりベッドナイフ前端に形成されたバリを取り除きます。このとき刃先を削らないように注意してください。刃先から完全にバリを取り除くためには、非常に軽い感覚のヤスリ掛けが必要です。
Note: カッティングユニットをトラクションユニットにとりつけたままでバックラップを行った場合には、作業後に、トラクションユニットとカッティングユニットを接続する六角駆動シャフトカップルを忘れずに取り付けてください。
























