Manutenzione
Note: Stabilite i lati sinistro e destro della macchina dalla normale posizione di guida.
Revisione della barra di appoggio
Rimozione della barra di appoggio
-
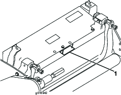
Ruotate la vite di regolazione della barra di appoggio in senso antiorario per allontanare la controlama dal cilindro (Figure 18).

-
Allentate il dado di tensione della molla, finch la rondella non sar pi in tensione contro la barra di appoggio (Figure 18).
-
Su ciascun lato della macchina, allentate il dado di bloccaggio che fissa il bullone della barra di appoggio (Figure 19).

-
Togliete i bulloni della barra di appoggio perch quest'ultima possa essere tirata in gi e tolta dalla macchina (Figure 19).
Tenete in considerazione le 2 rondelle di nylon e le 2 rondelle in acciaio stampato su ciascun lato della barra di appoggio (Figure 20).

Montaggio della barra di appoggio
-
Montate la barra di appoggio, posizionando gli attacchi di montaggio tra la rondella e il regolatore della barra di appoggio.
-
Fissate la barra di appoggio su ciascuna piastra laterale mediante gli appositi bulloni (dadi sui bulloni) e 4 rondelle (8 in tutto).
-
Collocate una rondella di nylon su ciascun lato del risalto della piastra laterale. Posizionate una rondella di acciaio all’esterno di ciascuna rondella di nylon (Figure 20).
-
Serrate i bulloni della barra di appoggio a un valore compreso tra 27 e 36Nm. Serrate a mano i dadi di bloccaggio finch la rondella di acciaio esterna non cessa di ruotare e il gioco di estremit scompare. Le rondelle all’interno possono avere del gioco.
Important: Non serrate eccessivamente i dadi di bloccaggio, altrimenti devierete le piastre laterali.
-
Serrate il dado di tensionamento della molla finch questa non a riposo, quindi allentatelo di mezzo giro (Figure 21).

Lappatura del cilindro
Pericolo
Il contatto con il cilindro o altre parti in movimento pu causare infortuni.
Non avvicinate dita, mani o abiti ai cilindri o ad altre parti in movimento.
-
Non avvicinatevi al cilindro mentre in corso la lappatura.
-
Per la lappatura, non usate mai un pennello dal manico corto. Il manico n.cat. 29-9100 completo, o le singole parti, sono reperibili dal Distributore Toro autorizzato di zona.
Potete lappare i cilindri sia lasciando l'apparato di taglio montato sul trattorino, sia rimuovendo completamente l'apparato di taglio dal trattorino. Se l'apparato di taglio rimane montato sul trattorino, l'accoppiamento esagonale tra la trasmissione principale e la trasmissione dell'apparato di taglio deve essere disaccoppiato per evitare l'usura eccessiva del freno del cilindro. La procedura qui di seguito descrive la lappatura:
-
Parcheggiate la macchina su una superficie piana e pulita.
-
Spegnete la macchina come indicato di seguito:
-
Macchine a benzina: spegnete il motore e staccate il cappellotto dalla candela.
-
Macchine elettriche: spegnete la macchina e staccate il connettore della batteria (impugnatura a T).
-
-
Inserite il freno di stazionamento.
-
Collegate il dispositivo di lappatura all'apparato di taglio montando una bussola esagonale da 1/2 pollice sull'albero di uscita della puleggia del cilindro, sul lato sinistro dell'apparato di taglio.
Note: Ulteriori istruzioni e procedure di lappatura sono disponibili nel manuale Toro relativo all'affilatura cilindri e tosaerba rotativi, Modulo n° 80-300PT.
Note: Al termine della lappatura passate una lima sulla superficie anteriore della controlama, e otterrete un tagliente migliore. La limatura consentir di rimuovere difetti o margini irregolari eventualmente presenti sul tagliente. Potrebbe essere necessaria una limatura molto leggera del bordo superiore per eliminare del tutto eventuali difetti del tagliente.
Note: Se durante la lappatura avete lasciato l'apparato di taglio montato sulla macchina, ricordate di collegare di nuovo l'albero ad accoppiamento esagonale della macchina all'apparato di taglio.





















