Kunnossapito
Note: Koneen vasen ja oikea puoli mritelln normaalista kyttasennosta ksin.
Runkopalkin huolto
Runkopalkin irrotus
-
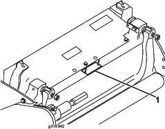
Knn runkopalkin struuvia vastapivn, jotta kiinte ter siirtyy etmmlle kelasta (Figure 18).

-
Lys jousen kiristysmutteria, kunnes aluslaatta ei ole en painunut runkopalkkia vasten (Figure 18).
-
Lys runkopalkin pultin lukkomutteria koneen molemmilta puolilta (Figure 19).

-
Irrota kaikki runkopalkin pultit, jotta runkopalkki voidaan vet alaspin ja irrottaa konepultista (Figure 19).
Ota talteen kaksi nailonista ja kaksi stanssattua tersaluslaattaa runkopalkin kummastakin pst (Figure 20).

Runkopalkin kokoaminen
-
Asenna runkopalkki asettamalla asennuskorvakkeet aluslaatan ja runkopalkin stimen vliin.
-
Kiinnit runkopalkki molempiin sivulevyihin runkopalkin pulteilla (pulteissa mutterit) ja neljll aluslaatalla (kahdeksan yhteens).
-
Aseta nailoninen aluslaatta sivulevyn keskin kummallekin puolelle. Aseta terksinen aluslaatta jokaisen nailonisen aluslaatan ulkopuolelle (Figure 20).
-
Kirist runkopalkin pultit momenttiin 27–36Nm. Kirist lukkomuttereita ksin, kunnes ulkopuolen terksinen aluslaatta lakkaa pyrimst ja pittisvlys on saatu pois. Sispuolella olevissa aluslaatoissa saa olla rako.
Important: l kirist lukkomuttereita liikaa, sill muuten sivulevyt voivat taipua.
-
Kirist jousen kiristysmutteria, kunnes jousi on painunut kokoon, ja lys sitten mutteria puoli kierrosta (Figure 21).

Kelan lppys
Hengenvaara
Kelan tai muiden liikkuvien osien koskettaminen saattaa johtaa loukkaantumiseen.
Pid sormet, kdet ja vaatteet etll keloista ja muista liikkuvista osista.
-
Pysy etll kelasta, kun lppt.
-
l koskaan kyt lppykseen lyhytvartista pensseli. Osanro 29-9100 kahvakokoonpano kokonaisuudessaan tai sen yksittisi osia on saatavana valtuutetuilta Toro-jlleenmyyjilt.
Keloja voidaan lpt joko jttmll leikkuuyksikk ajoyksikkn tai irrottamalla se ajoyksikst. Jos leikkuuyksikk jtetn kiinni ajoyksikkn, pkytn ja leikkuuyksikn kyttlaitteen vlinen kuusioliitin on siirrettv irtikytkettyyn asentoon, jotta kelan jarru ei kuluisi liikaa. Lppyksen toimenpiteet:
-
Sijoita kone puhtaalle, tasaiselle alustalle.
-
Sammuta kone seuraavasti:
-
Bensiiniyksikt: sammuta moottori ja irrota sytytystulpan johto.
-
Shkyksikt: katkaise koneesta virta ja irrota akun kytkent (T-liitin).
-
-
Kytke seisontajarru.
-
Kytke lppyskone leikkuuyksikkn liittmll 1/2 tuuman kuusiokolo kelan hihnapyrn ulostuloakseliin leikkuuyksikn vasemmalla puolella.
Note: Lisohjeita lppyksest ja siihen liittyvist menettelyist lytyy Toro Sharpening Reel & Rotary Mowers -oppaasta, lomakenro 80-300PT.
Note: Saat paremman leikkuusrmn, jos pyyhkiset kiinten tern etusivua viilalla lppyksen jlkeen. Tm poistaa mahdolliset jysteet ja srmt, joita on saattanut muodostua leikkuusrmn. Erittin kevyt viilakosketus voi olla tarpeen ylreunassa, jotta jyste saadaan kokonaan pois leikkuusrmst.
Note: Jos leikkuuyksikk jtettiin kiinni koneeseen lppyksen ajaksi, muista kytke koneen akseli takaisin leikkuuyksikkn.





















