Vedligeholdelse
Note: Maskinens venstre og hjre side er som set fra den normale betjeningsposition.
Serviceeftersyn af bundtvrstangen
Afmontering af bundtvrstangen
-
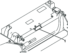
Drej bundtvrstangens justeringsskrue mod uret for at fre bundkniven vk fra knivcylinderen (Figure 18).

-
Fr fjederspndingsmtrikken bagud, indtil skiven ikke lngere sidder stramt mod bundtvrstangen (Figure 18).
-
Lsn den lsemtrik, som fastgr bundtvrstangens bolt, p hver side af maskinen (Figure 19).

-
Afmonter bundtvrstangens bolte, s bundtvrstangen kan trkkes nedad og fjernes fra maskinen (Figure 19).
Der skal vre 2 nylonskiver og 2 prgede stlskiver p hver ende af bundtvrstangen (Figure 20).

Montering af bundtvrstangen
-
Monter bundtvrstangen, idet monteringsrerne placeres mellem spndeskiven og bundtvrstangens justeringsanordning.
-
Fastgr bundtvrstangen p hver sideplade med bundtvrstangens bolte (mtrikker p bolte) og 4 spndeskiver (8 i alt).
-
Placer en nylonskive p hver side af sidepladens nav. Anbring en stlskive p ydersiden af hver nylonskive (Figure 20).
-
Tilspnd bundtvrstangens bolte med et moment p 27 til 36Nm. Tilspnd lsemtrikkerne manuelt, indtil den udvendige stlskive holder op med at dreje, og endeslr er fjernet. Indvendige skiver har muligvis et mellemrum.
Important: Overspnd ikke lsemtrikkerne, da du risikerer, at de bjer sidepladerne.
-
Stram fjederspndingsmtrikken, indtil fjederen er trykket sammen, og derefter ud igen med en halv omgang (Figure 21).

Baglapning af knivcylinderen
Fare
Berring af knivcylinderen eller andre bevgelige dele kan medfre personskader.
Hold fingre, hnder og bekldningsgenstande vk fra knivcylindrene eller andre bevgelige dele.
-
Hold afstand til knivcylinderen under baglapningen.
-
Der m under ingen omstndigheder bruges en kortskaftet brste til baglapning. Delnr.29-9100, komplette eller individuelle hndtagsdele, kan fs hos din lokale, autoriserede Toro-forhandler.
Du kan baglappe knivcylinderne enten ved at efterlade klippeenheden p traktionsenheden eller fjerne klippeenheden helt fra traktionsenheden. Hvis klippeenheden efterlades p traktionsenheden, skal sekskantskoblingsenheden mellem hoveddrevet og klippeenhedsdrevet flyttes til den afkoblede stilling for at forhindre overdreven slitage af knivcylinderbremsen. Sdan udfres baglapning:
-
Parker maskinen p en ren, plan flade.
-
Sluk maskinen p flgende mde:
-
Benzindrevne enheder: Stop motoren, og frakobl tndrrskablet.
-
Elektriske enheder: sluk for maskinen, og afbryd batteristikket (T-hndtag).
-
-
Aktiver parkeringsbremsen.
-
Tilslut baglapningsmaskinen til klippeenheden ved at tilslutte en indvendig sekskant p " til udgangsakslen p knivcylinderens remskive p venstre side af klippeenheden.
Note: Der findes yderligere instruktioner om og fremgangsmder for baglapning i Toro-manualen om slibning af knivcylindere og rotorplneklippere, Form No. 80-300PT.
Note: For at f et bedre skr skal der fres en fil hen over forsiden af bundkniven, nr baglapningen er afsluttet. Derved fjernes eventuel grat eller ru kanter, som kan vre blevet dannet p skret. Det kan vre ndvendigt at file meget let p den verste kant for at fjerne graten helt fra skret.
Note: Hvis klippeenheden var monteret p maskinen under baglapning, skal du huske at koble den sekskantede aksel p maskinen p klippeenheden igen.





















