Údržba
Note: Levou apravou stranu sekaky urete vzhledem kbn provozn poloze.
drba drku plochho noe
Demont drku plochho noe
-
Otoenm seizovacho roubu drku plochho noe proti smru hodinovch ruiek posute ploch n dle od vetena (Figure 19).

-
Vyroubujte matici pro napnut pruiny, aby pruina netlaila podloku kdrku plochho noe (Figure 19).
-
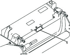
Na obou stranch stroje povolte pojistnou matici zajiujc roub drku plochho noe (Figure 20).

-
Demontujte jednotliv rouby drku plochho noe, aby bylo mon sthnout drk plochho noe dol asejmout jej ze roubu stroje (Figure 20).
Dvejte pozor na dv nylonov adv raen ocelov podloky na obou koncch drku plochho noe (Figure 21).

Mont drku plochho noe
-
Namontujte drk plochho noe; montn vstupky pitom umstte mezi podloku aseizovac prvek drku plochho noe.
-
Upevnte drk plochho noe kobma bonm deskm pomoc roub drku plochho noe (matice na roubech) a4podloek (celkem8).
-
Umstte nylonovou podloku na ob strany vnlku bon desky. Na vnj stranu nylonovch podloek umstte ocelovou podloku (Figure 21).
-
rouby drku plochho noe uthnte na utahovac moment 27 a 36Nm. Pojistn matice utahujte rukou, a se vnj ocelov podloka pestane otet avle je odstranna. Upodloek uvnit me vzniknout mezera.
Important: Pojistn matice nadmrn neutahujte, jinak vychl bon desky.
-
Uthnte matici pro napnut pruiny, dokud nedojde ke stlaen pruiny, apot ji povolte o1/2otky (Figure 22).

Pelapovn vetena
Nebezpečí
Pi styku svetenem nebo jinmi pohyblivmi dly me dojt ke zrann osob.
Nepibliujte prsty, ruce ani odv kvetenm ani jinm pohyblivm dlm.
-
Bhem pelapovn se nepibliujte kvetenu.
-
Kpelapovn nepouvejte kart skrtkou rukojet. Montn dly rukojeti jsou kdispozici uautorizovanho distributora Toro.
Vetena mete pelapovat bu tak, e ac jednotku ponechte na hnac jednotce, nebo ji pln demontujte zhnac jednotky. Jestlie ac jednotka zstane na hnac jednotce, pemstte estihrannou spojku mezi hlavnm pohonem aac jednotkou do odpojen polohy, aby nedolo knadmrnmu opoteben brzdy vetena.
-
Zaparkujte stroj na istm arovnm povrchu.
-
Vypnte stroj nsledovn:
-
Benzinov jednotky: Vypnte motor aodpojte kabel zapalovac svky.
-
Elektrick jednotky: zastavte stroj aodpojte konektor baterie (rukoje tvaruT).
-
-
Zathnte parkovac brzdu.
-
Pipojte pelapovac stroj kac jednotce nasunutm nstrn hlavice svnitnm estihranem 12,7mm (1/2palce) na vstupn hdel emenice vetena na lev stran ac jednotky.
Note: Dal pokyny apostupy pro pelapovn jsou popsny vnvodu na brouen veten arotanch sekaek Toro( formul .80-300PT).
Note: Chcete-li doshnout lepho ost, po pelapovn pejete brouskem pes pedn stranu plochho noe. Odstrante tak otepy anerovnosti, kter mohly na ost vzniknout. Horn hranu velmi lehce pejete brouskem, m zbavte ost vech otep.
Note: Pokud ac jednotka zstala bhem pelapovn pipojen ke stroji, pipojte estihrannou hdel stroje zpt kac jednotce.





















