Underhåll
Note: Vnster och hger sida p maskinen r lika med frarens vnstra respektive hgra sida vid normal krning.
Serva underknivsstngen
Ta bort underknivsstngen
-
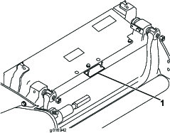
Vrid underknivsstngens justerskruv motsols, s att underkniven frs bort frn cylindern (Figure 19).

-
Fr fjderspnningsmuttern bakt, tills brickan inte lngre r spnd mot underknivsstngen (Figure 19).
-
Lossa kontramuttern som hller fast lsmuttern till underknivsstngen p vardera sidan av maskinen (Figure 20).

-
Ta bort alla skruvar frn underknivsstngen s att denna kan dras nedt och avlgsnas frn maskinen (Figure 20).
Berkna 2 nylonbrickor och 2stansade brickor av stl p vardera nden av underknivsstngen (Figure 21).

Montera underknivsstngen
-
Montera underknivsstngen och placera fsthandtagen mellan brickan och underknivsstngens justerare.
-
Fst underknivsstngen p vardera sidoplt med tillhrande skruvar (muttrar p skruvar) och fyra brickor (tta stycken totalt).
-
Stt en nylonbricka p var sida om sidopltens nav. Placera en stlbricka utanfr varje nylonbricka (Figure 21).
-
Dra t underknivsstngens skruvar till 27–36Nm. Dra t lsmuttrarna fr hand tills den yttre stlbrickan slutar rotera och spelet frsvinner. Det kan finnas ett mellanrum vid brickorna p insidan.
Important: Dra inte t lsmuttrarna fr hrt, eftersom det fr sidopltarna att bjas.
-
Dra t fjderspnningsmuttern tills fjdern pressas ihop, och vrid sedan ut den ett halvt varv (Figure 22).

Slipa cylindern
Fara
Att vidrra cylindrarna eller andra rrliga delar kan orsaka personskador.
Hll fingrar, hnder och klder p avstnd frn cylindrarna och andra rrliga delar.
-
Kom inte nra cylindern nr du slipar.
-
En borste med kort skaft fr aldrig anvndas vid slipning. Handtagsdelar r tillgngliga hos din lokala auktoriserade Toro-terfrsljare.
Vid slipning av cylindrarna kan klippenheten antingen lmnas kvar p traktorenheten eller tas bort helt frn den. Om klippenheten lmnas kvar p traktorenheten flyttar du sexkantskopplingen mellan huvuddrivningen och klippenhetsdrivningen till det urkopplade lget fr att frhindra verdrivet slitage p cylinderbromsen.
-
Stll maskinen p en ren och plan yta.
-
Stng av maskinen p fljande stt:
-
Bensindrivna enheter: Stng av motorn och koppla bort tndkabeln.
-
Elektriska enheter: stng av maskinen och koppla bort batterikontakten (T-formad).
-
-
Dra t parkeringsbromsen.
-
Anslut slipmaskinen till klippenheten genom att fsta en halvtums insexskruv p cylinderremskivans utgngsaxel p klippenhetens vnstra sida.
Note: Ytterligare anvisningar och procedurer fr slipning finns i Toros bruksanvisning fr slipning av cylinder- och rotorklippare (formulrnr 80-300PT).
Note: Dra en fil ver underknivens framsida nr slipningen avslutats s blir skreggen bttre. Detta avlgsnar eventuella grader (skgg) eller ojmna kanter som kan uppst p skreggen. Du kan behva fila mycket ltt p den vre kanten fr att helt f bort skgget frn skreggen.
Note: Om klippenheten lmnades kvar p maskinen under slipningen ska du ansluta maskinens sexkantsaxel till klippenheten igen.





















