Onderhoud
Note: Bepaal vanuit de normale bestuurderspositie de linker- en rechterzijde van de machine.
Onderhoud van de snijbalk
De snijbalk verwijderen
-
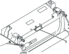
Draai de stelschroef van de snijbalk linksom om de snijbalk weg te trekken van de messenkooi (Figure 19).

-
Draai de veerspanningsmoer uit totdat de drukring niet meer tegen de snijbalk is geklemd (Figure 19).
-
Draai de borgmoer van de snijbalkbout op beide zijden van de machine los (Figure 20).

-
Verwijder beide snijbalkbouten zodat de snijbalk omlaag kan worden getrokken en uit de machine worden verwijderd (Figure 20).
Bewaar de 2 nylon ringen en 2 stalen ringen op beide uiteinden van de snijbalk (Figure 21).

De snijbalk monteren
-
Plaats de snijbalk en zorg ervoor dat de montagelippen zich tussen de ring en de stelschroef van de snijbalk bevinden.
-
Zet de snijbalk vast aan beide zijplaten met de snijbalkbouten (moeren op de bouten) en 4 ringen (8 in totaal).
-
Plaats een nylon ring op beide zijden van de verdikking op de zijplaat. Plaats een stalen ring op de buitenkant van beide nylon ringen (Figure 21).
-
Draai de bouten van de snijbalk vast met een torsie van 27 tot 36Nm. Draai de borgmoeren met de hand vast tot de buitenste stalen onderlegring niet meer draait en er geen eindspeling meer is. De ringen aan de binnenkant mogen speelruimte hebben.
Important: Draai de borgmoeren niet te vast of de zijplaten worden vervormd.
-
Draai de veerspanningsmoer vast totdat de veer is ingedrukt; draai deze vervolgens een 1/2 slag terug (Figure 22).

De messenkooi wetten
Gevaar
Contact met de messenkooi of andere bewegende onderdelen kan lichamelijk letsel veroorzaken.
Houd uw vingers, handen en kleding uit de buurt van de messenkooien of andere bewegende onderdelen.
-
Blijf op een afstand van de messenkooi tijdens het wetten.
-
U wordt geadviseerd bij het wetten geen borstel met een korte steel te gebruiken. De betreffende stelen zijn verkrijgbaar bij een erkende Toro-dealer.
U kunt de messen wetten zowel door het maaidek op de tractie-eenheid te laten of het maaidek volledig van de tractie-eenheid te halen. Als u het maaidek op de tractie-eenheid laat, moet de zeskantige koppeling tussen de hoofdaandrijving en de maaidekaandrijving ontkoppeld worden om overmatige slijtage van de messenkooirem te voorkomen.
-
Plaats de machine op een schoon, horizontaal oppervlak.
-
Schakel de machine als volgt uit:
-
Benzine modellen: schakel de motor uit en maak de bougiekabel los:
-
Elektrische modellen: schakel de machine uit en koppel de accu af (T-handgreep).
-
-
Stel de parkeerrem in werking.
-
Verbind de wetmachine op het maaidek door een " zeskant aan te brengen op de uitgangas van de messenkooipoelie aan de linkerkant van het maaidek.
Note: Aanvullende instructies en procedures met betrekking tot het wetten kunt u vinden in de handleiding Slijpen van Toro-maaimachines met messenkooien en roterende messen, documentnr. 80-300PT.
Note: Voor een betere snijrand moet u de voorkant van het ondermes bijvijlen als u klaar bent met wetten. Hiermee verwijdert u bramen of ruwe randen die kunnen zijn ontstaan op de snijrand. Mogelijk moet u de bovenrand zeer licht vijlen om bramen volledig van de snijrand te breken.
Note: Als het maaidek tijdens het wetten op de machine is gebleven moet u niet vergeten om de zeskantige as van de machine weer te koppelen aan het maaidek.





















