Wartung
Note: Bestimmen Sie die linke und rechte Seite der Maschine anhand der blichen Einsatzposition.
Warten des Untermessertrgers
Entfernen des Untermessertrgers
-
Drehen Sie die Einstellschraube des Untermessertrgers nach links, um den Abstand zwischen Untermesser und Spindel zu vergrern (Figure 19).

-
Drehen Sie die Federspannungsmutter so weit hinaus, bis die Scheibe nicht mehr gegen den Untermessertrger angespannt ist (Figure 19).
-
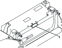
Lsen Sie an jeder Seite der Maschine die Klemmmutter, mit der die Schraube des Untermessertrgers befestigt ist (Figure 20).

-
Nehmen Sie jede Schraube des Untermessertrgers ab, damit der Untermessertrger nach unten gezogen und von der Maschine entfernt werden kann (Figure 20).
Bewahren Sie die zwei Nylon- und die zwei Scheiben aus gestanzten Stahl an jedem Ende des Untermessers auf (Figure 21).

Montieren des Untermessertrgers
-
Montieren Sie den Untermessertrger. Positionieren Sie die Befestigungsohren zwischen der Druckscheibe und dem Einsteller fr den Untermessertrger.
-
Befestigen Sie den Untermessertrger mit den Untermessertrgerschrauben (Muttern an den Schrauben) und den vier Scheiben (8 insgesamt) an jeder Seitenplatte.
-
Legen Sie eine Nylonscheibe an jede Seite des Seitenplattenansatzes. Legen Sie eine Stahlscheibe auen auf jede Nylonscheibe (Figure 21).
-
Ziehen Sie die Schrauben des Untermessertrgers mit 27-36Nm an. Ziehen Sie die Sicherungsmuttern mit der Hand an, bis sich die uere Stahlscheibe nicht mehr dreht und kein Spiel hat. Die Scheiben innen knnen einen Abstand aufweisen.
Important: Ziehen Sie die Sicherungsmuttern nicht zu fest an, da sich sonst die Seitenplatten verformen knnen.
-
Ziehen Sie die Federspannungsmutter an, bis die Feder zusammengedrckt ist, drehen Sie sie dann eine 1/2 Umdrehung heraus (Figure 22).

Lppen der Spindel
Gefahr
Kontakt mit den Spindeln oder anderen beweglichen Teilen kann zu Verletzungen fhren.
Halten Sie Ihre Finger, Hnde und Bekleidung fern von den Spindeln und anderen beweglichen Teilen.
-
Halten Sie beim Lppen der Spindel einen Abstand.
-
Lppen Sie nie mit einer Brste mit einem kurzen Handgriff. Holmteile erhalten Sie vom rtlichen offiziellen Toro Vertragshndler.
Sie knnen die Spindel lppen, wenn das Mhwerk an der Zugmaschine montiert ist, oder Sie knnen das Mhwerk von der Zugmaschine entfernen. Wenn das Mhwerk an der Zugmaschine montiert ist, stellen Sie die Sechskantkupplung zwischen dem Hauptantrieb und dem Mhwerkantrieb in die ausgekuppelte Stellung, um eine zu starke Abnutzung der Spindelbremse zu verhindern.
-
Stellen Sie die Maschine auf eine saubere, ebene Flche.
-
Stellen Sie die Maschine wie folgt ab:
-
Maschinen mit Benzinmotor: Stellen Sie den Motor ab und ziehen den Zndkerzenstecker ab.
-
Elektromaschinen: Schalten Sie die Maschine aus und schlieen Sie die Batterie ab.
-
-
Aktivieren Sie die Feststellbremse.
-
Schlieen Sie die Lppenmaschine am Mhwerk an; stecken Sie hierfr einen Sechskantschlssel (0,5") auf die Spindelscheibenausgabewelle an der linken Seite des Mhwerks.
Note: Weitere Anleitungen und Schritte zum Lppen finden Sie in der Toro Anleitung zum Schrfen von Spindeln und Sichelmhern (Formularnummer 80-300PT).
Note: Um eine noch bessere Schnittkante zu erzielen, feilen Sie nach dem Lppen die Vorderseite des Untermessers. Auf diese Weise werden Grate oder raue Kanten beseitigt, die sich mglicherweise an der Schnittkante gebildet haben. Die obere Kante muss ggf. leicht gefeilt werden, um den Grat vollstndig von der Schnittkante zu entfernen.
Note: Wenn das Mhwerk beim Lppen an der Maschine angeschlossen blieb, kuppeln Sie die Sechskantwelle der Maschine wieder an das Mhwerk an.





















