Konserwacja
Note: Okrel lew i praw stron maszyny ze standardowego stanowiska operatora.
Serwisowanie noa dolnego
Demonta noa dolnego
-
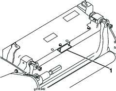
Obr rub regulacyjn w kierunku przeciwnym do kierunku ruchu wskazwek zegara w celu odwrcenia noa dolnego od wirnika (Figure 22).

-
Odkrcaj nakrtk nacigu spryny do momentu, gdy podkadka nie bdzie ju docinita do noa dolnego (Figure 22).
-
Po kadej stronie maszyny poluzuj nakrtk zabezpieczajc mocujc rub listwy noa dolnego (Figure 23).

-
Zdemontuj kad rub noa dolnego, umoliwiajc tym samym cignicie i demonta noa dolnego z trzpienia maszyny (Figure 23).
Pozostaw 2 nylonowe i 2 toczone stalowe podkadki na kadym kocu noa dolnego (Figure 24).

Monta listwy noa dolnego
-
Zamontuj n dolny, ustawiajc ucha mocujce midzy podkadk a regulatorem noa dolnego.
-
Zamocuj listw noa dolnego do kadej pyty bocznej za pomoc rub noa dolnego (nakrtki na rubach) i 4 podkadek (cznie 8).
-
Za podkadk nylonow na kadej stronie wypukoci pyty bocznej. Za podkadk stalow na zewntrz kadej z podkadek nylonowych (Figure 24).
-
Dokr ruby listwy noa dolnego momentem o wartoci od 27 do 36 Nm. Dokrcaj nakrtki zabezpieczajce rkoma, a zewntrzna podkadka stalowa przestanie si obraca i zostanie wyeliminowany luz osiowy. Przy podkadkach po wewntrznej stronie moe by niewielki odstp.
Important: Nie dokrcaj nakrtek zbyt mocno, gdy moe doj do wygicia pyt bocznych.
-
Dokr nakrtk regulacyjn naprenia spryny do momentu opadnicia spryny, a nastpnie cofnij j o 1/2 obrotu (Figure 25).

Ostrzenie wsteczne wirnika
Niebezpieczeństwo
Kontakt z gowicami tncymi oraz innymi czciami tncymi moe spowodowa obraenia ciaa.
Trzymaj palce, rce i odzie z dala od wirnikw oraz innych czci ruchomych.
-
Podczas ostrzenia wstecznego trzymaj si z dala od wirnika.
-
Nigdy nie uywaj do ostrzenia wstecznego pdzla malarskiego na krtkim uchwycie. Elementy zespou uchwytu s dostpne u Twojego autoryzowanego dystrybutora Toro.
Moesz wykona ostrzenie wsteczne wirnikw, pozostawiajc jednostk tnc na zespole jezdnym lub zdejmujc j zupenie z zespou jezdnego. Jeeli jednostka tnca bdzie pozostawiona na zespole jezdnym, naley przemieci szecioktn zczk znajdujc si pomidzy napdem gwnym a napdem jednostki tncej w pooenie rozczenia, aby zapobiec nadmiernemu zuyciu si hamulca wirnika.
-
Umie maszyn na czystej, paskiej powierzchni.
-
Wycz maszyn w nastpujcy sposb:
-
Jednostki z napdem benzynowym: wycz silnik i odcz przewd wiecy zaponowej.
-
Jednostki z napdem elektrycznym: wycz maszyn i odcz cznik akumulatora (uchwyt typu T).
-
-
Zacignij hamulec postojowy.
-
Podcz maszyn do ostrzenia wstecznego do jednostki tncej poprzez podczenie ruby imbusowej wielkoci 12,7 mm (1/2 cala) do wau wyjciowego koa pasowego wirnika po lewej stronie jednostki tncej.
Note: Dodatkowe instrukcje i procedury dotyczce ostrzenia wstecznego dostpne s w Instrukcji ostrzenia kosiarek wirnikowych i rotacyjnych Toro (numer formularza 80-300PT).
Note: Aby uzyska lepsz jako krawdzi tncej, przejed pilnikiem w poprzek przedniej powierzchni noa dolnego, gdy czynno ostrzenia zostanie zakoczona. Pozwoli to usun wszelkie zadziory lub chropowatoci krawdzi, ktre mogy powsta na krawdzi tncej. By moe trzeba bdzie przejecha delikatnie pilnikiem na grnej krawdzi, aby w peni usun zadziory z krawdzi tncej.
Note: Jeeli jednostk tnc pozostawiono na maszynie podczas ostrzenia wstecznego, naley podczy wa szecioktny maszyny do jednostki tncej.






















