维护
Note: 请根据正常操作位置来判定机器的左侧和右侧。
维护底刀架
拆除底刀架
组装底刀架
-
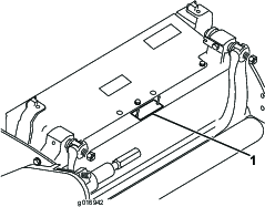
安装底刀架,将安装吊耳固定在垫圈与底刀架调节器之间。
-
使用底刀架螺栓(螺栓上带螺母)和 4 个垫圈(共 8 个)将底刀架固定在两个侧板上。
-
将尼龙垫圈放在侧板凸起的两侧。在两个尼龙垫圈的外侧各放一个钢垫圈(Figure 24)。
-
上紧底刀架螺栓扭矩至 27~36Nm。用手旋紧锁紧螺母,直到外侧钢垫圈不再旋转,且底刀架不再轴向串动。内侧的垫圈可能有空隙。
Important: 切勿过度旋紧锁紧螺母,否则会导致侧板变形。
-
旋紧弹簧加压螺母,直到弹簧完全压紧,然后往回松开 1/2 圈 (Figure 25)。

倒磨滚刀
危险
接触滚刀或其他活动件可能造成人身伤害。
确保手指、双手和衣服远离滚刀或其他活动件。
-
倒磨时远离滚刀。
-
倒磨时切勿使用短柄油漆刷。您可从当地的 Toro 授权经销商处购买手柄组件零件。
您在倒磨滚刀时,可以将滚刀组留在主机上,或完全将滚刀组从主机上拆下。如果滚刀组留在主机上,请将主传动与滚刀组传动装置之间的六角联轴器移动到解除联轴的位置,防止滚刀制动器受到过度磨损。
-
将机器停在干净的水平地面上。
-
按以下方式关闭机器:
-
汽油机型: 关闭发动机并断开火花塞电线的连接。
-
电动机型: 关闭机器并断开电池接头的连接(T 型手柄)。
-
-
设定驻车刹车。
-
将 1/2 英寸内六角套筒连接到滚刀组左侧的滚刀皮带轮输出轴上,借此将倒磨机连接至滚刀组。
Note: 有关倒磨的其他说明和程序,请参阅 Toro 滚刀和旋刀剪草机磨刀手册(手册号为 80-300PT)。
Note: 为了获得状态更好的刀刃,可以在完成倒磨操作时用锉刀打磨底刀的前面。这将去除刀刃上可能累积的任何毛刺或粗糙边缘。在完全清除刀刃上的毛刺时,可能必须用非常轻的力度用锉刀打磨上边缘。
Note: 如果在倒磨时滚刀组留在主机上,请将机器的六角轴重新耦合到滚刀组上。

























