Manutenção
Note: Determine os lados direito e esquerdo da mquina a partir da posio normal de utilizao.
Manuteno da barra de apoio
Remoo da barra de apoio
-
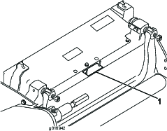
Rode o parafuso de ajuste da barra de apoio no sentido contrrio ao dos ponteiros do relgio, para afastar lmina de corte do cilindro (Figure 22).

-
Faa recuar a porca da mola tensora at que a anilha deixe de estar sob tenso contra a barra de apoio (Figure 22).
-
Desaperte a porca de bloqueio que segura a cavilha da barra de apoio, em cada um dos lados da mquina (Figure 23).

-
Remova cada uma das cavilhas da barra de apoio, de modo permitir pux-la e retir-la da mquina (Figure 23).
Guarde as duas anilhas de nylon e as duas anilha de ao prensado de cada uma das extremidades da barra de apoio (Figure 24).

Montagem da barra de apoio
-
Instale a barra de apoio, posicionando as aletas de montagem entre a anilha e o ajustador da barra de apoio.
-
Fixe a barra de apoio a cada um dos lados da placa lateral com as cavilhas (porcas flangeadas nas cavilhas) e com as 4arruelas (8 no total).
-
Coloque uma arruela de nylon de cada lado da placa lateral. Coloque uma arruela de ao no exterior de cada uma das arruelas de nylon (Figure 24).
-
Aperte os parafusos da barra de apoio com uma fora de 27 a 36N m. Aperte as porcas de bloqueio mo at que a arruela de ao exterior pare de rodar e a folga seja eliminada. As arruelas podem ter uma folga interna.
Important: No aperte demasiado as porcas de bloqueio ou causaro flexo das placas laterais.
-
Aperte a porca da mola tensora at que a mola fique recolhida; em seguida, desaperte meia volta (Figure 25).

Manuteno do cilindro
Perigo
Tocar no cilindro ou noutras peas em movimento pode provocar leses graves.
Mantenha os dedos, mos e roupa afastados dos cilindros e de todas as outras peas em movimento.
-
Afaste-se do cilindro durante a manuteno.
-
Nunca utilize um pincel de cabo curto para executar a manuteno. As peas de montagem do manpulo esto disponveis no distribuidor local autorizado Toro.
Pode retificar os cilindros deixando a unidade de corte na unidade de trao ou removendo a unidade de corte completamente da unidade de trao. Se deixar a unidade de corte na unidade de trao, o acoplador hexagonal entre a transmisso principal e a transmisso da unidade de corte deve ser movido para a posio de sem acoplador para evitar o desgaste excessivo do travo do cilindro.
-
Coloque a mquina numa superfcie limpa e plana.
-
Desligue a mquina da seguinte forma:
-
Unidades a gasolina: pare o motor e desligue o fio da vela de ignio.
-
Unidades eltricas: desligue a mquina e desligue o conector da bateria (pega em T).
-
-
Engate o travo de estacionamento.
-
Ligue a mquina a retificar unidade de corte ligando a fecha hexagonal ao veio da sada da polia do cilindro do lado esquerdo da unidade de corte.
Note: Instrues e procedimentos adicionais sobre retificao esto disponveis no Manual de afinao de cilindros e cortadores rotativos Toro, formulrio n. 80-300PT.
Note: Para um melhor fio de corte, passe uma lima na frente da lmina de corte depois de concluda a operao de retificao. Assim, reduz imperfeies ou arestas que se possam ter formado no fio de corte. Pode ser necessrio um toque muito ligeiro de lima na extremidade superior do travo para remover completamente as rebarbas da extremidade de corte.
Note: Se a unidade de corte tiver sido deixada ligada mquina durante a retificao, lembre-se de ligar o veio hexagonal da mquina novamente na unidade de corte.






















