Entretien
Note: Les cts gauche et droit de la machine sont dtermins d'aprs la position d'utilisation normale.
Entretien de la barre d'appui
Dpose de la barre d'appui
-
Tournez la vis de rglage de la barre d'appui dans le sens antihoraire pour loigner la contre-lame du cylindre (Figure 22).

-
Faites sortir l'crou de tension du ressort jusqu' ce que la rondelle ne soit plus tendue contre la barre d'appui (Figure 22).
-
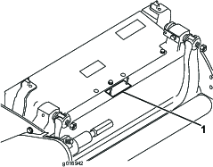
De chaque ct de la machine, desserrez le contre-crou de fixation du boulon de la barre d'appui (Figure 23).

-
Retirez les boulons de la barre d'appui afin de pouvoir abaisser la barre et la dposer du boulon de la machine (Figure 23).
Mettez de ct les 2rondelles en nylon et les 2rondelles en acier estamp situes de chaque ct de la barre d'appui (Figure 24).

Assemblage de la barre d'appui
-
Montez la barre d'appui en positionnant les languettes de montage entre la rondelle et la vis de rglage de la barre d'appui.
-
Fixez la barre d'appui sur chaque plaque latrale avec les boulons (munis d'crous) et 4 rondelles (8 en tout).
-
Placez une rondelle en nylon de chaque ct du bossage de la plaque latrale. Placez une rondelle en acier l'extrieur de chaque rondelle en nylon (Figure 24).
-
Serrez les boulons de la barre d'appui un couple de 27 36Nm. Serrez les contre-crous la main jusqu' ce que les rondelles en acier extrieures cessent de tourner et que le jeu axial soit supprim. Les rondelles peuvent prsenter un espace l'intrieur.
Important: Ne serrez pas excessivement les contre-crous pour ne pas faire flchir les plaques latrales.
-
Serrez l'crou de tension du ressort jusqu' ce que les spires soient jointives, puis desserrez-le de 1/2 tour (Figure 25).

Rodage du cylindre
Danger
Le cylindre et autres pices mobiles peuvent causer des blessures.
N'approchez pas les mains, les doigts et les vtements des cylindres et autres pices mobiles.
-
Ne vous approchez pas du cylindre pendant le rodage.
-
N'utilisez jamais de pinceau manche court pour effectuer le rodage. Vous pouvez vous procurer un ensemble manche chez le concessionnaire Toro agr le plus proche.
Vous pouvez roder les cylindres sans dposer le plateau de coupe du groupe de dplacement ou en le dposant compltement. Si vous laissez le plateau de coupe sur le groupe de dplacement, dplacez l'accouplement hexagonal entre l'entranement principal et l'entranement du plateau de coupe en position dsaccouple pour prvenir une usure excessive du frein de cylindre.
-
Placez la machine sur une surface propre, plane et horizontale.
-
Arrtez la machine comme suit:
-
Machines essence: coupez le moteur et dbranchez le fil de la bougie.
-
Machines lectriques: coupez le moteur et dbranchez le connecteur de la batterie (poigne en T).
-
-
Serrez le frein de stationnement.
-
Reliez la machine de rodage au plateau de coupe en accouplant la douille hexagonale de 1/2pouce l'arbre de sortie de la poulie de cylindre, sur le ct gauche du plateau de coupe.
Note: Vous trouverez des instructions et des procdures de rodage complmentaires dans le Manuel d'afftage des tondeuses rotatives et cylindres Toro (Form n80-300PT).
Note: Pour amliorer encore la qualit du tranchant, passez une lime sur la face avant de la contre-lame aprs le rodage. Cela permet d'liminer les bavures ou les asprits qui ont pu se former le long du tranchant. Un limage trs lger du bord suprieur peut tre ncessaire pour bavurer parfaitement le tranchant.
Note: Si le plateau de coupe est rest sur la machine pendant le rodage, raccouplez l'arbre hexagonal de la machine au plateau de coupe.






















