| Maintenance Service Interval | Maintenance Procedure |
|---|---|
| Before each use or daily |
|
This machine is a ride-on, reel-blade lawn mower intended to be used by professional, hired operators in commercial applications. It is primarily designed for cutting grass on well-maintained lawns in golf courses, parks, sports fields, and on commercial grounds. It is not designed for cutting brush, mowing grass and other growth alongside highways, or for agricultural uses.
Read this information carefully to learn how to operate and maintain your product properly and to avoid injury and product damage. You are responsible for operating the product properly and safely.
You may contact Toro directly at www.Toro.com for product and accessory information, help finding a dealer, or to register your product.
Whenever you need service, genuine Toro parts, or additional information, contact an Authorized Service Dealer or Toro Customer Service and have the model and serial numbers of your product ready. The model and serial numbers are on a plate mounted on the left side of the frame under the foot rest. Write the numbers in the space provided.
This manual identifies potential hazards and has safety messages identified by the safety alert symbol (Figure 1), which signals a hazard that may cause serious injury or death if you do not follow the recommended precautions.

This manual uses 2 other words to highlight information. Important calls attention to special mechanical information and Note emphasizes general information worthy of special attention.
CALIFORNIA
Proposition 65 Warning
Diesel engine exhaust and some of its constituents are known to the State of California to cause cancer, birth defects, and other reproductive harm.
Because in some areas there are local, state, or federal regulations requiring that a spark arrester be used on the engine of this machine, a spark arrester is incorporated with the muffler assembly.
Genuine Toro spark arresters are approved by the USDA Forestry Service.
Important: This engine is equipped with a spark arrester muffler. It is a violation of California Public Resource Code Section 4442 to use or operate the engine on any forest-covered, brush-covered, or grass-covered land without a spark arrester muffler maintained in working order, or the engine constricted, equipped, and maintained for the prevention of fire. Other states or federal areas may have similar laws.
Improper use or maintenance by the operator or owner can result in injury. To reduce the potential for injury, comply with these safety instructions and always pay attention to the safety alert symbol, which means Caution, Warning, or Danger—personal safety instruction. Failure to comply with the instruction may result in personal injury or death.
The following instructions are from the CEN standard EN 836:1997, ISO standard 5395:1990, and ANSI B71.4-2012.
Read the operator's manual and other training material carefully. Be familiar with the controls, safety signs, and the proper use of the equipment.
Never allow children or people unfamiliar with these instructions to use or service the mower. Local regulations may restrict the age of the operator.
Never mow while people, especially children, or pets are nearby.
Keep in mind that the operator or user is responsible for accidents or hazards occurring to other people or their property.
Do not carry passengers.
All drivers and mechanics should seek and obtain professional and practical instruction. The owner is responsible for training the users. Such instruction should emphasize:
the need for care and concentration when working with ride-on machines;
control of a ride-on machine sliding on a slope will not be regained by the application of the brake. The main reasons for loss of control are:
insufficient wheel grip;
being driven too fast;
inadequate braking;
the type of machine is unsuitable for its task;
lack of awareness of the effect of ground conditions, especially slopes;
incorrect hitching and load distribution.
The owner/user can prevent and is responsible for accidents or injuries occurring to himself or herself, other people, or property.
While mowing, always wear substantial footwear, long trousers, hard hat, safety glasses, and ear protection. Long hair, loose clothing, or jewelry may get tangled in moving parts. Do not operate the equipment when barefoot or wearing open sandals.
Thoroughly inspect the area where the equipment is to be used and remove all objects which may be thrown by the machine.
Replace faulty silencers/mufflers.
Evaluate the terrain to determine what accessories and attachments are needed to properly and safely perform the job. Only use accessories and attachments approved by the manufacturer.
Check that the operator's presence controls, safety switches and shields are attached and functioning properly. Do not operate unless they are functioning properly.
To avoid personal injury or property damage, use extreme care in handling gasoline. Gasoline is extremely flammable and the vapors are explosive.
Extinguish all cigarettes, cigars, pipes, and other sources of ignition.
Use only an approved fuel container.
Never remove fuel cap or add fuel with the engine running.
Allow engine to cool before refueling.
Never refuel the machine indoors.
Never store the machine or fuel container where there is an open flame, spark, or pilot light such as on a water heater or on other appliances.
Never fill containers inside a vehicle or on a truck or trailer bed with a plastic liner. Always place containers on the ground away from your vehicle before filling.
Remove equipment from the truck or trailer and refuel it on the ground. If this is not possible, then refuel such equipment with a portable container, rather than from a fuel dispenser nozzle.
Keep the nozzle in contact with the rim of the fuel tank or container opening at all times until fueling is complete. Do not use a nozzle lock open device.
If fuel is spilled on clothing, change clothing immediately.
Never overfill fuel tank. Replace fuel cap and tighten securely.
Do not operate the engine in a confined space where dangerous carbon monoxide fumes can collect.
Mow only in daylight or in good artificial light.
Before attempting to start the engine, disengage all blade attachment clutches, shift into neutral, and engage the parking brake.
Remember there is no such thing as a safe slope. Travel on grass slopes requires particular care. To guard against overturning:
do not stop or start suddenly when going up or downhill;
machine speeds should be kept low on slopes and during tight turns;
stay alert for humps and hollows and other hidden hazards;
Do not turn sharply. Use care when reversing.
Use counterweight(s) or wheel weights when suggested in the operator's manual.
Stay alert for holes in the terrain and other hidden hazards.
Watch out for traffic when crossing or near roadways.
Stop the blades rotating before crossing surfaces other than grass.
When using any attachments, never direct discharge of material toward bystanders nor allow anyone near the machine while in operation.
Never operate the machine with damaged guards, shields, or without safety protective devices in place. Be sure all interlocks are attached, adjusted properly, and functioning properly.
Do not change the engine governor settings or over-speed the engine. Operating the engine at excessive speed may increase the hazard of personal injury.
Before leaving the operator's position:
stop on level ground;
disengage the power take-off and lower the attachments;
change into neutral and set the parking brake;
stop the engine and remove the key.
Disengage drive to attachments when transporting or not in use.
Stop the engine and disengage drive to attachment:
before refuelling;
before removing the grass catcher/catchers;
before making height adjustment unless adjustment can be made from the operator's position.
before clearing blockages;
before checking, cleaning or working on the mower;
after striking a foreign object or if an abnormal vibration occurs. Inspect the mower for damage and make repairs before restarting and operating the equipment.
Reduce the engine speed setting during engine run-out and, if the engine is provided with a shut-off valve, turn the fuel off at the conclusion of mowing.
Keep hands and feet away from the cutting units.
Look behind and down before backing up to be sure of a clear path.
Slow down and use caution when making turns and crossing roads and sidewalks. Stop cylinders/reels if not mowing.
Do not operate the mower under the influence of alcohol or drugs.
Lightning can cause severe injury or death. If lightning is seen or thunder is heard in the area, do not operate the machine; seek shelter.
Use care when loading or unloading the machine into a trailer or truck.
Use care when approaching blind corners, shrubs, trees, or other objects that may obscure vision.
Keep all nuts, bolts and screws tight to be sure the equipment is in safe working condition.
Never store the equipment with fuel in the tank inside a building where fumes may reach an open flame or spark.
Allow the engine to cool before storing in any enclosure.
To reduce the fire hazard, keep the engine, silencer/muffler, battery compartment and fuel storage area free of grass, leaves, or excessive grease.
Check the grass catcher frequently for wear or deterioration.
Keep all parts in good working condition and all hardware and hydraulic fittings tightened. Replace all worn or damaged parts and decals.
If the fuel tank has to be drained, do this outdoors.
Be careful during adjustment of the machine to prevent entrapment of the fingers between moving blades and fixed parts of the machine.
On multi-cylinder/multi-reel machines, take care as rotating one cylinder/reel can cause other cylinders/reels to rotate.
Disengage drives, lower the cutting units, set parking brake, stop engine and remove key from ignition. Wait for all movement to stop before adjusting, cleaning or repairing.
Clean grass and debris from cutting units, drives, silencers/mufflers, and engine to help prevent fires. Clean up oil or fuel spillage.
Use jack stands to support components when required.
Carefully release pressure from components with stored energy.
Disconnect battery before making any repairs. Disconnect the negative terminal first and the positive last. Reconnect positive first and negative last.
Use care when checking the cylinders/reels. Wear gloves and use caution when servicing them.
Keep hands and feet away from moving parts. If possible, do not make adjustments with the engine running.
Charge batteries in an open well ventilated area, away from spark and flames. Unplug charger before connecting or disconnecting from battery. Wear protective clothing and use insulated tools.
Use care when loading or unloading the machine into a trailer or truck.
Use full width ramps for loading machine into trailer or truck.
Tie the machine down securely using straps, chains, cable, or ropes. Both front and rear straps should be directed down and outward from the machine
The following list contains safety information specific to Toro products or other safety information that you must know that is not included in the CEN, ISO, or ANSI standard.
This product is capable of amputating hands and feet and throwing objects. Always follow all safety instructions to avoid serious injury or death.
Use of this product for purposes other than its intended use could prove dangerous to user and bystanders.
Engine exhaust contains carbon monoxide, which is an odorless, deadly poison that can kill you.
Do not run engine indoors or in an enclosed area.
Know how to stop the engine quickly.
Do not operate the machine while wearing tennis shoes or sneakers.
Wearing safety shoes and long pants is advisable and required by some local ordinances and insurance regulations.
Handle fuel carefully. Wipe up any spills.
Check the safety interlock switches daily for proper operation. If a switch should fail, replace the switch before operating the machine.
Before starting the engine, sit on the seat.
Using the machine demands attention. To prevent loss of control:
Do not drive close to sand traps, ditches, creeks, or other hazards.
Reduce speed when making sharp turns. Avoid sudden stops and starts.
When near or crossing roads, always yield the right-of-way.
Apply the service brakes when going downhill to keep forward speed slow and to maintain control of the machine.
Raise the cutting units when driving from one work area to another.
Do not touch the engine, silencer/muffler, or exhaust pipe while the engine is running or soon after it has stopped because these areas could be hot enough to cause burns.
If the engine stalls or loses headway and cannot make it to the top of a slope, do not turn the machine around. Always back slowly, straight down the slope.
When a person or pet appears unexpectedly in or near the mowing area, stop mowing. Careless operation, combined with terrain angles, ricochets, or improperly positioned guards can lead to thrown object injuries. Do not resume mowing until the area is cleared.
Make sure all hydraulic line connectors are tight and all hydraulic hoses and lines are in good condition before applying pressure to the system.
Keep your body and hands away from pin hole leaks or nozzles that eject hydraulic fluid under high pressure. Use paper or cardboard, not your hands, to search for leaks. Hydraulic fluid escaping under pressure can have sufficient force to penetrate the skin and cause serious injury. Seek immediate medical attention if fluid is injected into skin.
Before disconnecting or performing any work on the hydraulic system, all pressure in the system must be relieved by stopping the engine and lowering the cutting units and attachments to the ground.
Check all fuel lines for tightness and wear on a regular basis. Tighten or repair them as needed.
If the engine must be running to perform a maintenance adjustment, keep hands, feet, clothing, and any parts of the body away from the cutting units, attachments, and any moving parts. Keep everyone away.
To ensure safety and accuracy, have an Authorized Toro Distributor check the maximum engine speed with a tachometer.
If major repairs are ever needed or if assistance is desired, contact an Authorized Toro Distributor.
Use only Toro-approved attachments and replacement parts. The warranty may be voided if used with unapproved attachments.
The engine in this machine is EPA Tier 4 Final and stage 3b compliant.
![]() |
Safety decals and instructions are easily visible to the operator and are located near any area of potential danger. Replace any decal that is damaged or lost. |


















Note: Determine the left and right sides of the machine from the normal operating position.
The tires are over-inflated for shipping. Therefore, release some of the air to reduce the pressure. Correct air pressure in the front and rear tires is 83 to 103 kPa (12 to 15 psi).
Important: Maintain even pressure in all tires to ensure uniform contact with the turf.
The height of the steps can be adjusted for the operators comfort.
Remove the 2 bolts and nuts securing the step brackets to the traction unit frame (Figure 2)

Raise or lower the step to the desired height and re-secure the brackets to the frame with the 2 bolts and nuts.
Repeat the procedure on the other step.
The control arm position can be adjusted for the operators comfort.
Loosen the 2 bolts securing the control arm to the retaining bracket (Figure 3).

Rotate the control arm to the desired position and tighten the 2 bolts.
Parts needed for this procedure:
| Front hose guide-R.H. | 1 |
| Front hose guide-L.H. | 1 |
Remove the reel motors from the shipping brackets.
Remove the shipping brackets and discard.
Remove the cutting units from the cartons. Assemble and adjust as described in the cutting unit Operator's Manual.
Make sure the counter weight (Figure 4) is installed to the proper end of the cutting unit as described in the cutting unit Operator's Manual.

All the cutting units are shipped with the turf compensation spring mounted to the right side of the cutting unit. The turf compensation spring must be mounted to the same side of the cutting unit as the reel drive motor. Reposition the turf compensation as follows:
Remove the 2 carriage bolts and nuts securing the rod bracket to the cutting unit tabs (Figure 5).

Remove the flange nut securing the spring tube bolt to the carrier frame tab (Figure 5) Remove the assembly.
Mount the spring tube bolt to the opposite tab on the carrier frame and secure with the flange nut. The bolt head is to be positioned to the outer side of the tab as shown in Figure 6.

Mount the rod bracket to the cutting unit tabs with the carriage bolts and nuts (Figure 6).
Important: On the #4 (left front) and #5 (right front) cutting units (Figure 7), use the rod bracket mounting nuts to install the hose guides to the front of the cutting unit tabs (Figure 8). The hose guides should lean toward the center cutting unit (Figure 8 and Figure 9).



Note: When installing or removing the cutting units, make sure the hairpin cotter is installed in the spring rod hole next to the rod bracket. When not installing or removing the cutting units, the hairpin cotter must be installed in the hole in the end of the rod.
Lower all the lift arms completely.
Remove the snapper pin and the cap from the lift arm pivot yoke (Figure 10).

For the front cutting units, slide a cutting unit under the lift arm while inserting the carrier frame shaft up into the lift arm pivot yoke (Figure 11).

Use the following procedure on the rear cutting units when the height of cut is above 3/4 inch.
Remove the lynch pin and washer securing the lift arm pivot shaft to the lift arm and slide the lift arm pivot shaft out of the lift arm (Figure 12).

Insert the lift arm yoke onto the carrier frame shaft (Figure 11).
Insert the lift arm shaft into the lift arm and secure it with the washer and lynch pin (Figure 12).
Insert the cap over the carrier frame shaft and lift arm yoke.
Secure the cap and the carrier frame shaft to the lift arm yoke with the snapper pin. Use the slot if a steering cutting unit is desired or use the hole if the cutting unit is to be locked in position (Figure 10).
Secure the lift arm chain to the chain bracket with the snapper pin (Figure 13). Use the number of chain links described in the cutting unit Operator's Manual.

On the #4 (left front) and #5 (right front) cutting units, insert the reel motor hoses into the respective hose guide.
Coat the spline shaft of the reel motor with clean grease.
Oil the reel motor O-ring and install it onto the motor flange.
Install the motor by rotating it clockwise so that the motor flanges clear the bolts (Figure 14). Rotate the motor counterclockwise until the flanges encircle the bolts then tighten the bolts.
Important: Make sure the reel motor hoses are not twisted, kinked or in the risk of being pinched.

The turf compensation spring (Figure 15) transfers weight from the front to the rear roller. (This helps to reduce a wave pattern in the turf, also known as marcelling or bobbing.)
Important: Make spring adjustments with the cutting unit mounted to the traction unit, pointing straight ahead and lowered to the shop floor.
Make sure the hairpin cotter is installed in the rear hole in the spring rod (Figure 15).

Tighten the hex nuts on the front end of the spring rod until the compressed length of the spring is 12.7 cm (5 inches) on Reelmaster 5410, 5 inch cutting units or 15.9 cm (6.25 inches) on Reelmaster 5510, 7 inch cutting units (Figure 15).
Note: When operating on rough terrain decrease the spring length by 12.7 mm (1/2 inch). Ground following will be slightly decreased.
Parts needed for this procedure:
| Cutting unit kickstand | 1 |
Whenever the cutting unit has to be tipped to expose the bedknife/reel, prop up the rear of the cutting unit with the kickstand to make sure the nuts on the back end of the bedbar adjusting screws are not resting on the work surface (Figure 16).

Secure the kickstand to the chain bracket with the snapper pin (Figure 17).


The seat adjusting lever (Figure 19) allows you to adjust the seat fore and aft. The weight adjusting knob adjusts the seat for the operator's weight. The weight gauge indicates when the seat is adjusted to the weight of the operator. The height adjusting knob adjusts the seat for the operator's height.

The traction pedal (Figure 20) controls the forward and reverse operation. Press the top of the pedal to move forward and the bottom to move rearward. Ground speed depends on how far you press the pedal. For no load, maximum ground speed, fully press the pedal while the engine speed setting is in the Fast position.
To stop, reduce foot pressure on the traction pedal and allow it to return to the center position.

When the mow speed limiter (Figure 20) is flipped up it will control the mow speed and allow the cutting units to be engaged. Each spacer adjusts the mowing speed by .8 kph (½ mile per hour). The more spacers you have on the top of the bolt, the slower you will go. For transport, flip back the mow speed limiter and you will have maximum transport speed.
Press the brake pedal (Figure 20) to stop the machine.
To engage the parking brake, (Figure 20) push down on the brake pedal and press the top forward to latch. To release the parking brake, press the brake pedal until the parking brake latch retracts.
To tilt the steering wheel towards you, press the foot pedal (Figure 20) down, and pull the steering tower toward you to the most comfortable position and then release the pedal.
The engine speed switch (Figure 21) has two modes to change the engine speed. By momentarily tapping the switch, the engine speed can be increased or decreased in 100 rpm increments. By holding the switch down the engine will automatically move to High or Low idle, depending on which end of the switch is depressed.

Use the enable/disable switch (Figure 21) in conjunction with the lower mow/raise control lever to operate the cutter heads.
The InfoCenter LCD display shows information about your machine such as the operating status, various diagnostics and other information about the machine (Figure 21).
The key switch (Figure 21) has three positions: Off, On/Run, and Start.
This lever (Figure 21) raises and lowers the cutting units and also starts and stops the cutterheads when the cutterheads are enabled in the mow mode. The cutter heads cannot be lowered when the mow/transport lever is in the transport position.
Pivot the switch downward to turn on the headlights (Figure 21).
Use the backlap levers in conjunction with the lower mow/raise control lever for backlapping the reels (Figure 22).

With the engine running at normal operating temperature, view the indicator (Figure 23), it should be in the Green zone. When the indicator is in the Red zone, change the hydraulic filters.

The power point is a 12 volt power supply for electronic devices (Figure 24).

The InfoCenter LCD display shows information about your machine, such as the operating status, various diagnostics, and other information about the machine (Figure 25). There is a splash screen and main information screen of the InfoCenter. You can switch between the splash screen and main information screen, at any time, by pressing any of the InfoCenter buttons and then selecting the appropriate directional arrow.

Left Button, Menu Access/Back Button—Press this button to access the InfoCenter menus. You can use it to back out of any menu you are currently using.
Middle Button—Use this button to scroll down menus.
Right Button—Use this button to open a menu where a right arrow indicates additional content.
Note: The purpose of each button may change depending on what is required at the time. Each button will be labeled with an icon displaying its current function.
| SERVICE DUE | Indicates when scheduled service should be performed |
![]() | Engine rpm/status—indicates the engine speed (rpm) |
![]() | Hour meter |
![]() | Info icon |
![]() | Fast |
![]() | Slow |
![]() | Fuel level |
![]() | Stationary regeneration required |
![]() | Glow plugs are active |
![]() | Raise cutting units |
![]() | Lower cutting units |
![]() | Operator must sit in seat |
![]() | Parking-Brake Indicator—indicates when the parking brake is On |
![]() | Identifies the range as High (Transport) |
![]() | Neutral |
![]() | Identifies the range as Low (Mow) |
![]() | Coolant Temperature—indicates the engine-coolant temperature in either °C or °F |
![]() | Temperature (hot) |
![]() | PTO is engaged |
![]() | Denied or not allowed |
![]() | Engine start |
![]() | Stop or shutdown |
![]() | Engine |
![]() | Key switch |
![]() | Indicates when the cutting units are being lowered |
![]() | Indicates when the cutting units are being raised |
![]() | PIN code |
![]() | CAN bus |
![]() | InfoCenter |
![]() | Bad or failed |
![]() | Bulb |
![]() | Output of TEC controller or control wire in harness |
![]() | Switch |
![]() | Operator must release switch |
![]() | Operator should change to indicated state |
| Symbols are often combined to form sentences. Some examples are shown below | |
![]() | Operator should put machine in neutral |
![]() | Engine start denied |
![]() | Engine shutdown |
![]() | Engine coolant too hot |
![]() | DPF ash-accumulation notification—Refer to Servicing the Diesel-Oxidation Catalyst (DOC) and the Soot Filter for details. |
![]() | Sit down or set parking brake |
To access the InfoCenter menu system, press the menu access button while at the main screen. This will bring you to the main menu. Refer to the following tables for a synopsis of the options available from the menus:
| Main Menu | |
| Menu Item | Description |
| Faults | Contains a list of the recent machine faults. Refer to the Service Manual or your Authorized Toro Distributor for more information on the Faults menu and the information contained there. |
| Service | Contains information on the machine such as hours of use counters and other similar numbers. |
| Diagnostics | Displays the state of each machine switch, sensor and control output. You can use this to troubleshoot certain issues as it will quickly tell you which machine controls are on and which are off. |
| Settings | Allows you to customize and modify configuration variables on the InfoCenter display. |
| About | Lists the model number, serial number, and software version of your machine. |
| Service | |
| Menu Item | Description |
| Hours | Lists the total number of hours that the machine, engine and PTO have been on, as well as the number of hours the machine has been transported and service due. |
| Counts | Lists numerous counts the machine has experienced. |
| Diagnostics | |
| Menu Item | Description |
| Cutting Units | Indicates the inputs, qualifiers and outputs for raising and lowering the cutting units. |
| Hi/Low Range | Indicates the inputs, qualifiers and outputs for driving in transport mode. |
| PTO | Indicates the inputs, qualifiers and outputs for enabling the PTO circuit. |
| Engine Run | Indicates the inputs, qualifiers and outputs for starting the engine. |
| Backlap | Indicates the inputs, qualifiers and outputs for operating the backlap function. |
| Settings | |
| Menu Item | Description |
| Units | Controls the units used on the InfoCenter. The menu choices are English or Metric |
| Language | Controls the language used on the InfoCenter*. |
| LCD Backlight | Controls the brightness of the LCD display. |
| LCD Contrast | Controls the contrast of the LCD display. |
| Front Backlap Reel Speed | Controls the speed of the front reels in backlap mode. |
| Rear Backlap Reel Speed | Controls the speed of the rear reels in backlap mode. |
| Protected Menus | Allows a person authorized by your company with the PIN code to access protected menus. |
| Auto Idle | Controls the amount of time allowed before returning the engine to low idle when the machine is stationary. |
| Blade Count | Controls the number of blades on the reel for reel speed. |
| Mow Speed | Controls the ground speed for determining the reel speed. |
| Height of cut (HOC) | Controls the height of cut (HOC) for determining the reel speed. |
| F Reel RPM | Displays the calculated reel speed position for the front reels. The reels can also be manually adjusted. |
| R Reel RPM | Displays the calculated reel speed position for the rear reels. The reels can also be manually adjusted. |
* Only "operator-faced" text is translated. Faults, Service, and Diagnostics screens are "service-faced." Titles appear in the selected language, but menu items are in English.
| About | |
| Menu Item | Description |
| Model | Lists the model number of the machine. |
| SN | Lists the serial number of the machine. |
| Machine-Controller Revision | Lists the software revision of the master controller. |
| InfoCenter Revision | Lists the software revision of the InfoCenter. |
| CAN Bus | Lists the machine communication bus status. |
There are 8 operating configuration settings that are adjustable within the Settings Menu of the InfoCenter: auto idle time delay, Blade Count, Mow Speed, Height of Cut (HOC), F Reel RPM and R Reel RPM. These settings can be locked by using the Protected Menu.
Note: At the time of delivery, the initial password code is programmed by your distributor.
Note: The factory default PIN code for you machine is either 0000 or 1234.If you changed the PIN code and forgot the code, contact your Authorized Toro Distributor for assistance.
From the MAIN MENU, use the center button to scroll down to the SETTINGS MENU and press the right button (Figure 26).

In the SETTINGS MENU, use the center button to scroll down to the PROTECTED MENU and press the right button (Figure 27A).

To enter the PIN code, press the center button until the correct first digit appears, then press the right button to move on to the next digit (Figure 27B and Figure 27C). Repeat this step until the last digit is entered and press the right button once more.
Press the middle button to enter the PIN code (Figure 27D).
Wait until the red indicator light of the InfoCenter illuminates.
Note: If the InfoCenter accepts the PIN code and the protected menu is unlocked, the word “PIN” displays in the upper right corner of the screen.
Note: Rotate the key switch to the OFF position and then to the ON position locks the protected menu.
You have the ability to view and change the settings in the Protected Menu. Once you access the Protected Menu, scroll down to Protect Settings option. Use the right button to change the setting. Setting the Protect Settings to OFF allows you to view and change the settings in the Protected Menu without entering the PIN code. Setting the Protect Settings to ON hides the protected options and requires you to enter the PIN code to change the setting in the Protected Menu. After you set the PIN code, rotate the key switch OFF and back to the ON position to enable and save this feature.
In the Settings Menu, scroll down to Auto Idle.
Press the right button to change the auto idle time between OFF, 8S, 10S, 15S, 20S, & 30S.
In the Settings Menu, scroll down to Blade Count
Press the right button to change the blade count between 5, 8 or 11 blade reels.
In the Settings Menu, scroll down to Mow Speed.
Press the right button to select mow speed.
Use the center and right button to select the appropriate mow speed set on the mechanical mow speed limiter on the traction pedal.
Press the left button to exit mow speed and save the setting.
In the Settings Menu, scroll down to HOC.
Press the right button to select HOC.
Use the center and right button to select the appropriate HOC setting. (If the exact setting is not displayed, select the nearest HOC setting from the list displayed).
Press the left button to exit HOC and save the setting.
Although the front and rear reel speeds are calculated by inputting the number of blades, mow speed and HOC into the InfoCenter, the setting can be manually changed to accommodate for different mowing conditions.
To change the Reel Speed Settings, scroll down to the F Reel RPM, R Reel RPM or both.
Press the right button to change the reel speed value. As the speed setting is changed, the display will continue to show the calculated reel speed based on blade count, mow speed and HOC which was previously entered, but the new value will also be displayed.
In the settings menu, scroll down to Smart Power.
Press the right button to switch between ON and OFF.
Press the left button to exit.
Note: Specifications and design are subject to change without notice.
| Specification | ReelMaster® 5410-D | ReelMaster® 5510-D |
| Transport Width | 228 cm (90 inches) | 233 cm (92 inches) |
| Width of cut | 254 cm (100 inches) | 254 cm (100 inches) |
| Length | 282 cm (111 inches) | 282 cm (111 inches) |
| Height | 160 cm (63 inches) | 160 cm (63 inches) |
| Weight(with fluids and 8 blade cutting units installed) | 1,335 kg (2,943 lb) | 1,420 kg (3,131 lb) |
| Engine | Yanmar 36 hp | Yanmar 36 hp |
| Fuel tank capacity | 53 liters (14 US gallons) | 53 liters (14 US gallons) |
| Transport speed | 0–16 kph (0–10 mph) | 0–16 kph (0–10 mph) |
| Mowing speed | 0–13 kph (0–8 mph) | 0–13 kph (0–8 mph) |
A selection of Toro approved attachments and accessories is available for use with the machine to enhance and expand its capabilities. Contact your Authorized Service Dealer or Distributor or go to www.Toro.com for a list of all approved attachments and accessories.
Note: Determine the left and right sides of the machine from the normal operating position.
If you leave the key in the ignition switch, someone could accidently start the engine and seriously injure you or other bystanders.
Lower the cutting units to the ground, set the parking brake and remove the key from the ignition switch before servicing or making adjustments to the machine.
Before you start the engine and use the machine, check the oil level in the engine crankcase; refer to Checking the Engine-Oil Level.
In certain conditions, fuel is extremely flammable and highly explosive. A fire or explosion from fuel can burn you and others and can damage property.
Fill the fuel tanks outdoors, in an open area, when the engine is cold. Wipe up any fuel that spills.
Never fill the fuel tanks inside an enclosed trailer.
Never smoke when handling fuel and stay away from an open flame or where fuel fumes may be ignited by a spark.
Store fuel in an approved container and keep it out of the reach of children. Never buy more than a 30-day supply of fuel.
Do not operate without entire exhaust system in place and in proper working condition.
In certain conditions during fueling, static electricity can be released, causing a spark that can ignite the fuel vapors. A fire or explosion from fuel can burn you and others and can damage property.
Always place fuel containers on the ground away from your vehicle before filling.
Do not fill fuel containers inside a vehicle or on a truck or trailer bed, because interior carpets or plastic truck bed liners may insulate the container and slow the loss of any static charge.
When practical, remove equipment from the truck or trailer and refuel the equipment with its wheels on the ground.
If this is not possible, then refuel such equipment on a truck or trailer from a portable container rather than from a fuel-dispenser nozzle.
If you must use a fuel-dispenser nozzle, keep the nozzle in contact with the rim of the fuel tank or container opening at all times until fueling is complete.
Fuel is harmful or fatal if swallowed. Long-term exposure to vapors can cause serious injury and illness.
Avoid prolonged breathing of vapors.
Keep your face away from the nozzle and fuel tank opening.
Keep fuel away from your eyes and skin.
Important: Use only ultra-low sulphur diesel fuel. Fuel with higher rates of sulfur degrades the diesel oxidation catalyst (DOC), which causes operational problems and shortens the service life of engine components.Failure to observe the following cautions may damage the engine.
Never use kerosene or gasoline instead of diesel fuel.
Never mix kerosene or used engine oil with the diesel fuel.
Never keep fuel in containers with zinc plating on the inside.
Do not use fuel additives.
Cetane rating: 45 or higher
Sulfur content: Ultra-low sulfur (<15 ppm)
| Diesel fuel specification | Location |
| ASTM D975 | USA |
| No. 1-D S15 | |
| No. 2-D S15 | |
| EN 590 | European Union |
| ISO 8217 DMX | International |
| JIS K2204 Grade No. 2 | Japan |
| KSM-2610 | Korea |
Use only clean, fresh diesel fuel or biodiesel fuels.
Purchase fuel in quantities that can be used within 180 days to ensure fuel freshness.
Use summer-grade diesel fuel (No. 2-D) at temperatures above -7°C (20°F) and winter-grade fuel (No. 1-D or No. 1-D/2-D blend) below that temperature.
Note: Use of winter-grade fuel at lower temperatures provides lower flash point and cold flow characteristics which eases starting and reduces fuel filter plugging.Using summer-grade fuel above -7°C (20°F) contributes toward longer fuel pump life and increased power compared to winter-grade fuel.
This machine can also use a biodiesel blended fuel of up to B20 (20% biodiesel, 80% petroleum diesel).
Sulfur content: Ultra-low sulfur (<15 ppm)
Biodiesel fuel specification: ASTM D6751 or EN14214
Blended fuel specification: ASTM D975, EN590, or JIS K2204
Important: The petroleum diesel portion must be ultra-low sulfur.
Observe the following precautions:
Biodiesel blends may damage painted surfaces.
Use B5 (biodiesel content of 5%) or lesser blends in cold weather.
Monitor seals, hoses, gaskets in contact with fuel as they may be degraded over time.
Fuel filter plugging may be expected for a time after converting to biodiesel blends.
Contact your Authorized Toro Distributor if you wish for more information on biodiesel.
53 L (14 US gallons)
Park the machine on a level surface.
Using a clean rag, clean area around fuel-tank cap.
Remove the cap from the fuel tank (Figure 28).

Fill the tank until the level is 6 to 13 mm (1/4 to 1/2 inch) below the bottom of the filler neck.
Install the fuel-tank cap tightly after filling the tank.
Note: If possible, fill the fuel tank after each use. This minimizes possible buildup of condensation inside the fuel tank.
| Maintenance Service Interval | Maintenance Procedure |
|---|---|
| Before each use or daily |
|
Clean debris off of the screen, oil cooler, and front of the radiator daily and more often if conditions are extremely dusty and dirty. Refer to the section on Removing Debris from the Cooling System.
The cooling system is filled with a 50/50 solution of water and permanent ethylene glycol antifreeze. Check the level of coolant in the expansion tank at the beginning of each day before starting the engine. The capacity of the cooling system is 6.6 liters (7.0 quarts).
If the engine has been running, the pressurized, hot coolant can escape and cause burns.
Do not open the radiator cap when the engine is running.
Use a rag when opening the radiator cap, and open the cap slowly to allow steam to escape.
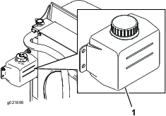
Check the level of coolant in the expansion tank (Figure 29).
The coolant level should be between the marks on the side of the tank.

If the coolant level is low, remove the expansion tank cap and replenish the system. Do not overfill.
Install the expansion tank cap.
| Maintenance Service Interval | Maintenance Procedure |
|---|---|
| Before each use or daily |
|
The machines reservoir is filled at the factory with approximately 30 L (8 US gallons) of high-quality hydraulic fluid. Check the level of the hydraulic fluid before the engine is first started and daily thereafter. The recommended replacement fluid is as follows:
| Toro Premium All Season Hydraulic Fluid (Available in 19 L (5 US gallon) pails or 208 L (55 US gallon) drums. See the Parts Catalog or your Toro Distributor for part numbers.) |
Alternate fluids: If the Toro fluid is not available, other fluids may be used provided they meet all the following material properties and industry specifications. We do not recommend the use of synthetic fluid. Consult with your lubricant distributor to identify a satisfactory product.
Note: Toro does not assume responsibility for damage caused by improper substitutions, so use only products from reputable manufacturers who stand behind their recommendation.
| High Viscosity Index/Low Pour Point Anti-wear Hydraulic Fluid, ISO VG 46 | |||
| Material Properties: | |||
| Viscosity, ASTM D445 | cSt @ 40°C 44 to 50cSt @ 100°C 7.9 to 8.5 | ||
| Viscosity Index ASTM D2270 | 140 to 160 | ||
| Pour Point, ASTM D97 | -36.6°C (-34°F) to 9.4°C (-49°F) | ||
| Industry Specifications: | |||
| Vickers I-286-S (Quality Level), Vickers M-2950-S (Quality Level), Denison HF-0 | |||
Important: The ISO VG 46 Multigrade fluid has been found to offer optimal performance in a wide-range of temperature conditions. For operation in consistently high ambient temperatures, 18°C (65°F) to 49°C (120°F), ISO VG 68 hydraulic fluid may offer improved performance.
Premium Biodegradable Hydraulic Fluid-Mobil EAL EnviroSyn 46H
Important: Mobil EAL EnviroSyn 46H is the only synthetic biodegradable fluid approved by Toro. This fluid is compatible with the elastomers used in Toro hydraulic systems and is suitable for a wide-range of temperature conditions. This fluid is compatible with conventional mineral oils, but for maximum biodegradability and performance the hydraulic system should be thoroughly flushed of conventional fluid. The oil is available in 19 L (5 US gallon) containers or 208 L (55 US gallon) drums from your Mobil Distributor.
Important: Many hydraulic fluids are almost colorless, making it difficult to spot leaks. A red dye additive for the hydraulic system oil is available in 20 ml (2/3 oz) bottles. 1 bottle is sufficient for 15 to 22 L (4 to 6 gallons) of hydraulic oil. Order Part Number 44-2500 from your Toro Distributor. This red dye is not recommended for use with biodegradable fluids. Use food coloring.
Position the machine on a level surface, lower the cutting units, and stop the engine.
Clean the area around filler neck and cap of the hydraulic tank (Figure 30). Remove the cap from the filler neck.

Remove the dipstick from the filler neck and wipe it with a clean rag.
Insert the dipstick into the filler neck; then remove it and check the level of the fluid.
Note: The fluid level should be within 6.3 mm (1/4 inch) of the mark on the dipstick.
Important: Do not overfill.
If the level is low, add appropriate fluid to raise the level to the FULL mark.
Install the dipstick and cap onto the filler neck.
| Maintenance Service Interval | Maintenance Procedure |
|---|---|
| Before each use or daily |
|
Each day before operating, check reel to bedknife contact, regardless if the quality of cut had previously been acceptable. There must be light contact across the full length of the reel and the bedknife (refer to Adjusting the Reel to Bedknife in the cutting unit Operator's Manual).
| Maintenance Service Interval | Maintenance Procedure |
|---|---|
| After the first hour |
|
| After the first 10 hours |
|
| Every 250 hours |
|
Torque the wheel nuts to 94 to 122 N-m (70 to 90 ft-lb). after 1-4 hours of operation and again after 10 hours of operation. Torque every 250 hours thereafter.
Failure to maintain proper torque of the wheel nuts could result in personal injury.
Important: The fuel system will automatically bleed itself when any of the following situations occur:
Initial start up of a new machine.
The engine has ceased running due to lack of fuel.
Maintenance has been performed upon the fuel system components.
Sit on the seat, keep your foot off of the traction pedal so that it is in Neutral, engage the parking brake, set the engine speed switch to the Mid position and ensure that the Enable/Disable switch is in the Disable position.
Remove your foot from the traction pedal and make sure the pedal is in the Neutral position.
Turn the ignition key to the Run position.
When the glow indicator dims, turn the ignition key to the Start position. Release the key immediately when the engine starts and allow it to return to the Run position. Allow engine to warm up (without load), then move the throttle control to the desired position.
Move all controls to Neutral, set the parking brake, move the engine speed switch to the low idle position and allow the engine to reach low idle speed.
Turn the key to the Off position and remove it from the switch.
To achieve a consistent, high quality-of-cut and a uniform after cut appearance, it is important that you set the reel speed to the proper setting. Adjust the reel speed as follows:
In the InfoCenter, under the settings menu, enter the blade count, mow speed and HOC to calculate the proper reel speed.
If further adjustments are required, in the settings menu, scroll down to the F Reel RPM, R Reel RPM or both.
Press the right button to change the reel speed value. As the speed setting is changed, the display will continue to show the calculated reel speed based on blade count, mow speed and HOC, but the new value will also be displayed.
Note: The reel speed may need to be increased or decreased to compensate for varying turf conditions.
Note: Cutting grass at a rate that loads the engine promotes DPF regeneration.
Move the machine to the job site and align the machine outside the cutting area for the first cutting pass.
Ensure that the PTO switch is set to the DISABLE position.
Move the lever for the mow-speed limiter forward.
Press the throttle-speed switch to set the engine speed to HIGH IDLE.
Use the joystick to lower the cutting units to the ground.
Press the PTO switch to prepare cutting units for operation.
Use the joystick to raise the cutting units off the ground.
Begin moving the machine toward the cutting area and lower the cutting units.
Note: Cutting grass at a rate that loads the engine promotes DPF regeneration.
When you complete the mowing pass, use the joystick to lift the cutting units.
Perform a tear-shaped turn to quickly line up for your next pass.
The diesel particulate filter (DPF) is part of the exhaust system. The diesel-oxidation catalyst of the DPF reduces harmful gasses and the soot filter removes soot from the engine exhaust.
The DPF regeneration process uses heat from the engine exhaust to incinerate the soot accumulated on the soot filter, converting the soot to ash, and clears the channels of the soot filter so that filtered engine exhaust flows out the DPF.
The engine computer monitors the accumulation of soot by measuring the back pressure in the DPF. If the back pressure is too high, soot is not incinerating in the soot filter through normal engine operation. To keep the DPF clear of soot, remember the following:
Passive regeneration occurs continuously while the engine is running—run the engine at full engine speed when possible to promote DPF regeneration.
If the back pressure is too high, the engine computer signals you through the InfoCenter when additional processes (assist and reset regeneration) are running.
Allow the assist and reset regeneration process to complete before shutting off the engine.
Operate and maintain your machine with the function of the DPF in mind. Engine load at high idle engine speed generally produce adequate exhaust temperature for DPF regeneration.
Important: Minimize the amount of time that you idle the engine or operate the engine at low-engine speed to help reduce the accumulation of soot in the soot filter.
The exhaust temperature is hot (approximately 600°C (1112°F) during DPF parked regeneration or recovery regeneration. Hot exhaust gas can harm you or other people.
Never operate the engine in an enclosed area.
Make sure that there are no flammable materials around the exhaust system.
Never touch a hot exhaust system component.
Never stand near or around the exhaust pipe of the machine.
Over time, the DPF accumulates soot in the soot filter. The computer for the engine monitors the soot level in the DPF.
When enough soot accumulates, the computer informs you that it is time to regenerate the diesel particulate filter.
DPF regeneration is a process that heats the DPF to convert the soot to ash.
In addition to the warning messages, the computer reduces the power produced by the engine at different soot-accumulation levels.
| Indication Level | Fault Code | Engine Power Rating | Recommended Action |
| Level 1: Engine Warning |
![]() | The computer de-rates the engine power to 85% | Perform a parked regeneration as soon as possible; refer to Parked Regeneration. |
| Level 2: Engine Warning |
![]() | The computer de-rates the engine power to 50% | Perform a recovery regeneration as soon as possible; refer to Recovery Regeneration. |
The lighter ash is discharged through the exhaust system; the heavier ash collects in the soot filter.
Ash is a residue of the regeneration process. Over time, the diesel particulate filter accumulates ash that does not discharge with the engine exhaust.
The computer for the engine calculates the amount of ash accumulated in the DPF.
When enough ash accumulates, the engine computer sends information to the InfoCenter in the form of a system advisory or an engine fault to indicate the accumulation of ash in the DPF.
The advisory and faults are indications that it is time to service the DPF.
In addition to the warnings, the computer reduces the power produced by the engine at different ash-accumulation levels.
| Indication Level | Advisory or Fault Code | Engine Speed Reduction | Engine Power Rating | Recommended Action |
|---|---|---|---|---|
| Level 1: System Advisory |
![]() | None | 100% | Notify your service department that advisory #179 displays in the InfoCenter. |
| Level 2: Engine Warning |
![]() | None | The computer de-rates the engine power to 85% | Service the DPF; refer to Servicing the Diesel-Oxidation Catalyst (DOC) and the Soot Filter |
| Level 3: Engine Warning |
![]() | None | The computer de-rates the engine power to 50% | Service the DPF; refer to Servicing the Diesel-Oxidation Catalyst (DOC) and the Soot Filter |
| Level 4: Engine Warning |
![]() | Engine speed at max torque + 200 rpm | The computer de-rates the engine power to 50% | Service the DPF; refer to Servicing the Diesel-Oxidation Catalyst (DOC) and the Soot Filter |
| Type of Regeneration | Conditions for DPF regeneration | DPF description of operation |
|---|---|---|
| Passive | Occurs during normal operation of the machine at high-engine speed or high-engine load | The InfoCenter does not display an icon indicating passive regeneration. |
| During passive regeneration, the DPF processes high-heat exhaust gasses; oxidizing harmful emissions and burning soot to ash. | ||
| Refer to Passive DPF Regeneration. | ||
| Assist | Occurs as a result of low-engine speed, low-engine load, or after the computer detects back pressure in the DPF | When the assist/reset-regeneration icon is displayed in the InfoCenter,
an assist regeneration is in progress. |
| During assist regeneration, the computer controls the intake throttle to increase the exhaust temperature, enabling assist regeneration to occur. | ||
| Refer to Assist DPF Regeneration. | ||
| Reset | Occurs after assist regeneration only if the computer detects that assist regeneration did not sufficiently reduce the soot level | When the assist/reset-regeneration icon is displayed in the InfoCenter,
a regeneration is in progress. |
| Also occurs every 100 hours to reset baseline sensor readings | ||
| During reset regeneration, the computer controls the intake throttle and fuel injectors to increase the exhaust temperature during regeneration. | ||
| Refer to Reset Regeneration. |
| Type of Regeneration | Conditions for DPF regeneration | DPF description of operation |
|---|---|---|
| Parked | Soot buildup occurs as a result of prolonged operation at low-engine speed or low-engine load. May also occur as a result of using incorrect fuel or oil | When the parked-regeneration icon is displayed in the InfoCenter,
a regeneration is requested. |
| The computer detects back pressure due to soot buildup and requests a parked regeneration | ||
| • Perform the parked regeneration as soon as possible to avoid needing a recovery regeneration. | ||
| • A parked regeneration requires 30 to 60 minutes to complete. | ||
| • You must have at least a 1/4 tank of fuel in the tank. | ||
| • You must park the machine to perform a recovery regeneration. | ||
| Refer to Parked Regeneration. | ||
| Recovery | Occurs as a result of ignoring parked regeneration requests and continuing operation, adding more soot when the DPF is already in need of a parked regeneration | When the recovery-regeneration icon is displayed in the InfoCenter,
a recovery regeneration is requested. |
| Contact your Authorized Toro Distributor to have a service technician perform the recovery regeneration. | ||
| • A recovery regeneration requires up to 4 hours to complete. | ||
| • You must have at least a 1/2 tank of fuel in the machine. | ||
| • You must park the machine to perform a recovery regeneration. | ||
| Refer to Recovery Regeneration. |
Passive regeneration occurs as part of normal engine operation.
While operating the machine, run the engine at full-engine speed when possible to promote DPF regeneration.

The assist/reset-regeneration icon displays in the InfoCenter (Figure 37).
The computer takes control of the intake throttle to increase the temperature of the engine exhaust.
While operating the machine, run the engine at full engine speed when possible to promote DPF regeneration.
The
icon displays in the InfoCenter while the assist
regeneration is processing.
Whenever possible, do not shut off the engine or reduce engine speed while the assist regeneration is processing.
Important: Allow the machine to complete the assist regeneration process before shutting off the engine.
Note: The assist regeneration is finished processing when the
icon disappears from the
InfoCenter.

The assist/reset-regeneration icon displays in the InfoCenter (Figure 38).
The computer takes control of the intake throttle and changes the fuel injection operation to increase the temperature of the engine exhaust.
Important: The assist/reset-regeneration icon indicates that the exhaust temperature discharged from of your machine may be hotter than during regular operation.
While operating the machine, run the engine at full engine speed when possible to promote DPF regeneration.
The
icon displays in the InfoCenter while the reset
regeneration is processing.
Whenever possible, do not shut off the engine or reduce engine speed while the reset regeneration is processing.
Important: Allow the machine to complete the reset regeneration process before shutting off the engine.
Note: The reset regeneration is finished processing when the
icon disappears from the
InfoCenter.

The parked-regeneration requested icon displays in the InfoCenter (Figure 39).
If a parked regeneration is needed, the InfoCenter displays engine warning SPN 3719, FMI 16 (Figure 40) and the engine computer derates engine power to 85%.

Important: If you do not complete a parked regeneration within 2 hours, the engine computer derates engine power to 50%.
A parked regeneration requires 30 to 60 minutes to complete.
If you are authorized by your company, you need the PIN code to perform the parked-regeneration process.
Ensure that the machine has at least 1/4 tank of fuel.
Move the machine outside to an area away from combustible materials.
Park the machine on a level surface.
Ensure that the traction control or motion-control levers are in the NEUTRAL position.
If applicable, lower the cutting units and shut them off.
Engage the parking brake.
Set the throttle to the low IDLE position.
Note: For instructions on unlocking protected menus, refer to Accessing Protected Menus.
Access the protected menu and unlock the protected settings submenu (Figure 41); refer to Accessing Protected Menus.

Navigate to the MAIN MENU, press the center button to scroll down to the SERVICE MENU, and press the right button to select the SERVICE option (Figure 42).
Note: The InfoCenter should display the PIN indicator in the upper right corner of the display.

In the SERVICE MENU, press the middle button until the DPF REGENERATION options displays, and press the right button to select the DPF REGENERATION option (Figure 43).

When the “Initiate DPF Regen. Are you sure?” message displays, press the center button (Figure 44).

If the coolant temperature is below 60°C (140°F) the
“Insure
is running and above 60C/140F” message displays. (Figure 45).
Observe the temperature in the display, and run the machine at full throttle until the temperature reaches 60°C (140°F), then press the center button.
Note: If the coolant temperature is above 60°C (140°F) this screen is skipped.

Move the throttle control to LOW IDLE and press the center button (Figure 46).

The following messages display as the parked regeneration process begins:
The “Initiating DPF Regen.” message displays (Figure 47).

The “Waiting on
” message displays
(Figure 48).

The computer determines whether the regeneration runs. One of the following messages displays in the InfoCenter:
If the regeneration is allowed, the “Regen Initiated. Allow up to 30 minutes for completion” message displays in the InfoCenter, wait for the machine to complete the parked regeneration process (Figure 49).

If the regeneration process is not allowed by the engine computer, the “DPF Regen Not Allowed” message displays in the InfoCenter (Figure 50). Press the left button to exit to the home screen
Important: If you did not meet all the requirements for regeneration or if less than 50 hours have passed since the last regeneration, the “DPF Regen Not Allowed” message appears.

While the regeneration is running, the InfoCenter returns to the home screen and shows the following icons:
![]() | The engine is cold—wait. | |
![]() | The engine is warm—wait. | |
![]() | The engine hot—regeneration in progress (percent complete). |
The parked regeneration is complete when the “Regen Complete” message displays in the InfoCenter. Press the left button to exit to the home screen (Figure 51).

If you ignore the request for a parked regeneration (displayed in the InfoCenter) and continue to operate the machine, a critical amount of soot builds up in the DPF.
If a recovery regeneration is needed, the InfoCenter displays engine warning SPN 3719, FMI 16 (Figure 52) and the engine computer derates engine power to 85%.

Important: If you do not complete a recovery regeneration within 15 minutes, the engine computer derates engine power to 50%.
Perform a recovery-regeneration whenever there is a loss of engine power and a parked regeneration cannot effectively clean the DPF of soot.
A recovery regeneration requires up to 4 hours to complete.
You need a distributor technician to perform the recovery regeneration process; contact your Authorized Toro Distributor.
You can adjust the counterbalance on the rear cutting unit lift arms to compensate for different turf conditions and to maintain a uniform height-of-cut in the rough conditions or in areas of thatch build up.
You can adjust each counterbalance spring to one of four settings. Each increment increases or decreases counterbalance on the cutting unit by 2.3 kg (5 lb). The springs can be positioned on the back side of the first spring actuator to remove all counter balance (forth position).
Position the machine on a level surface, lower the cutting units, stop the engine, engage the parking brakes, and remove the key from ignition switch.
Insert a tube or similar object onto the long spring end and pivot it around the spring actuator to the desired position (Figure 53).
The springs are under tension.
Use caution when adjusting them.

Repeat the procedure on the other spring.
Position the machine on a level surface, lower the cutting units, stop the engine, engage the parking brakes, and remove the key from ignition switch.
The lift arm switch is located underneath the hydraulic tank behind the front right lift arm (Figure 54).
Loosen the switch mounting screws (Figure 54) and move the switch down to increase the lift arm turn around height or move the switch up to decrease the lift arm turn around height. Tighten the mounting screws.

In an emergency, the machine can be moved by actuating the bypass valve in the variable displacement hydraulic pump and pushing or towing the machine.
Important: Do not push or tow the machine faster than 3-4.8 km/h (2-3 mph) because internal transmission damage may occur. The bypass valve must be open whenever the machine is pushed or towed.
The bypass valve is located on the left side of the hydrostat (Figure 55). Rotate the bolt 1–1/2 turns to open and allow oil to bypass internally. Because fluid is bypassed, the machine can be moved slowly without damaging the transmission.

Close the bypass valve before starting the engine. However, do not exceed 7-11 N-m. (5-8 ft.-lb) torque to close the valve.
Important: Running the engine with the bypass valve open will cause the transmission to overheat.
Note: Use jack stands to support the machine when required.
Front—rectangular pad, under the axle tube, inside each front tire (Figure 56).

Rear—rectangular axle tube on the rear axle.
The machine is equipped with a diagnostic light which indicates if the machine detects a malfunction. The diagnostic light is located on the InfoCenter, above the display screen (Figure 59). When the machine is functioning properly and the key switch is moved to the On/Run position, the diagnostic light will turn on briefly to indicate the light is working properly. When a machine advisory message is displayed, the light will illuminate when the message is present. When a fault message is displayed, the light will blink until the fault is resolved

The purpose of the interlock switches is to prevent the engine from cranking or starting unless the traction pedal is in the Neutral position, the Enable/Disable switch is in the Disable position, and the Lower Mow/Raise control is in the Neutral position. In addition, the engine should stop when the traction pedal is pressed with operator off of the seat or if the parking brake is left engaged.
If safety interlock switches are disconnected or damaged the machine could operate unexpectedly causing personal injury.
Do not tamper with the interlock switches.
Check the operation of the interlock switches daily and replace any damaged switches before operating the machine.
| Maintenance Service Interval | Maintenance Procedure |
|---|---|
| Before each use or daily |
|
Park the machine on a level surface, lower the cutting units, stop the engine, and engage the parking brake.
Turn the key switch to the On position, but do not start the machine.
Locate the appropriate switch function in the diagnostics menu on the InfoCenter.
Individually, change each of the switches from open to closed (i.e., sit on seat, engage traction pedal, etc.), and note that the appropriate state of the switch changes. Repeat this for all switches that you can change by hand.
If a switch is closed and the appropriate indicator does not change, check all wiring and connections to the switch and/or check the switches with an ohm meter. Replace any defective switches and repair any defective wiring.
Note: The InfoCenter display also has the ability to detect which output solenoids or relays are turned on. This is a quick way to determine if a machine malfunction is electrical or hydraulic.
Park the machine on a level surface, lower the cutting units, stop the engine, and engage the parking brake.
Turn the key switch to the On position and start the machine.
Locate the appropriate output function in the diagnostics menu on the InfoCenter.
Sit on the seat and attempt to operate the desired function of the machine. The appropriate outputs should change state to indicate that the ECM is turning on that function.
Note: If the correct outputs do not illuminate, verify that the required input switches are in the necessary positions to allow that function to occur. Verify correct switch function.If the output displays are on as specified, but the machine does not function properly, this indicates a non-electrical problem. Repair as necessary.
Use the list below to identify and describe the different functions of the solenoids in the hydraulic manifold. Each solenoid must be energized to allow function to occur.
| Solenoid | Function |
| SP2 | Front reel circuit |
| SP1 | Rear reel circuit |
| SVRV | Lift/lower cutting units |
| SV1 | Lift/lower front cutting units |
| SV3 | Lift/lower rear cutting units |
| SV2 | Raise any cutting units |
Before mowing grass, practice operating the machine in an open area. Start and stop the engine. Operate in forward and reverse. Lower and raise the cutting units and engage and disengage the reels. When you feel familiar with the machine, practice operating up and down slopes at different speeds.
If a warning light comes on during operation, stop the machine immediately and correct the problem before continuing operation. Serious damage could occur if you operate the machine with a malfunction.
Start the engine and move the engine speed switch to the Fast position. Move the Enable/Disable switch to the Enable position and use the Lower Mow/Raise lever to control the cutting units (the front cutting units are timed to lower before the rear cutting units). To move forward and cut grass, press the traction pedal forward.
Move the Enable/Disable switch to the Disable position and raise the cutting units to the transport position. Move the Mow/Transport lever to the transport position. Be careful when driving between objects so you do not accidentally damage the machine or cutting units. Use extra care when operating the machine on slopes. Drive slowly and avoid sharp turns on slopes to prevent roll overs. Lower the cutting units when going downhill for steering control.
Note: Determine the left and right sides of the machine from the normal operating position.
| Maintenance Service Interval | Maintenance Procedure |
|---|---|
| After the first hour |
|
| After the first 10 hours |
|
| Before each use or daily |
|
| Every 50 hours |
|
| Every 100 hours |
|
| Every 200 hours |
|
| Every 250 hours |
|
| Every 400 hours |
|
| Every 800 hours |
|
| Every 6,000 hours |
|
| Every 2 years |
|

If you leave the key in the ignition switch, someone could accidently start the engine and seriously injure you or other bystanders.
Remove the key from the ignition before you do any maintenance.
| Maintenance Service Interval | Maintenance Procedure |
|---|---|
| Every 50 hours |
|
If you operate the machine under normal conditions, lubricate all grease fittings for the bearings and bushings after every 50 hours of operation with No. 2 General Purpose Lithium Base Grease. Lubricate bearings and bushings immediately after every washing, regardless of the interval listed.
The grease fitting locations and quantities are as follows:
Pump drive shaft (3) (Figure 61)

Cutting unit lift arm cylinders (2 each) (Figure 62)

Lift arm pivots (1 each) (Figure 62)
Cutting unit carrier frame and pivot (2 each) (Figure 63)

Lift arm pivot shaft (1 each) (Figure 64)

Rear axle tie rod (2) (Figure 65)

Axle steering pivot (1) (Figure 66)

Steering cylinder ball joints (2) (Figure 67)

Brake pedal (1) (Figure 68)

| Maintenance Service Interval | Maintenance Procedure |
|---|---|
| Every 400 hours |
|
Check the air cleaner body for damage which could cause an air leak. Replace if damaged. Check the whole intake system for leaks, damage or loose hose clamps.
Service the air cleaner filter only when the service indicator (Figure 69) requires it. Changing the air filter before it is necessary only increases the chance of dirt entering the engine when the filter is removed.
Important: Be sure the cover is seated correctly and seals with the air cleaner body.
Release the latches securing the air cleaner cover to the air cleaner body (Figure 69).

Remove the cover from the air cleaner body. Before removing the filter, use low pressure air (40 psi, clean and dry) to help remove large accumulations of debris packed between outside of the filter and the canister. Avoid using high pressure air which could force dirt through the filter into the intake tract.
This cleaning process prevents debris from migrating into the intake when the filter is removed.
Remove and replace the filter (Figure 70).
Cleaning of the used element is not recommended due to the possibility of damage to the filter media. Inspect the new filter for shipping damage, checking the sealing end of the filter and the body. Do not use a damaged element. Insert the new filter by applying pressure to the outer rim of the element to seat it in the canister. Do not apply pressure to the flexible center of the filter.

Clean the dirt ejection port located in the removable cover. Remove the rubber outlet valve from the cover, clean the cavity and replace the outlet valve.
Install the cover orienting the rubber outlet valve in a downward position—between approximately 5:00 to 7:00 when viewed from the end.
Secure the latches.
Use high-quality, low-ash engine oil that meets or exceeds the following specifications:
API service category CJ-4 or higher
ACEA service category E6
JASO service category DH-2
Important: Using engine oil other than API CJ-4 or higher, ACEA E6, or JASO DH-2 may cause the diesel particulate filter to plug or cause engine damage.
Use the following engine oil viscosity grade:
Preferred oil: SAE 15W-40 (above 0°F)
Alternate oil: SAE 10W-30 or 5W-30 (all temperatures)
Toro Premium Engine Oil is available from your Authorized Toro Distributor in either 15W-40 or 10W-30 viscosity grades. See the parts catalog for part numbers.
| Maintenance Service Interval | Maintenance Procedure |
|---|---|
| Before each use or daily |
|
Important: Check the engine oil daily. If the engine-oil level is above the Full mark on the dipstick, the engine oil may be diluted with fuel;If the engine oil level is above the Full mark, change the engine oil.
The best time to check the engine oil is when the engine is cool before it has been started for the day. If it has already been run, allow the oil to drain back down to the sump for at least 10 minutes before checking. If the oil level is at or below the Add mark on the dipstick, add oil to bring the oil level to the Full mark. Do not overfill the engine with oil.
Important: Keep the engine oil level between the upper and lower limits on the oil gauge; the engine may fail if you run it with too much or too little oil.
Park the machine on a level surface. Unlock the engine-cover latches.
Open the engine cover.
Remove the dipstick, wipe it clean, install the dipstick into the tube, and pull it out again. The oil level should be between the FULL and ADD marks (Figure 71).

If the oil level is low, remove the fill cap and add oil until it is between the FULL and ADD marks (Figure 71).
Note: Do not overfill.
Install the oil-fill cap and dipstick.
Close the engine cover and secure it with the latches.
5.2 L (5.5 US qt) with the filter
| Maintenance Service Interval | Maintenance Procedure |
|---|---|
| Every 250 hours |
|
Remove the drain plug and let the oil flow into a drain pan (Figure 72).

When all the oil is drained, install the drain plug.
Remove the oil filter (Figure 72).
Apply a light coat of clean oil to the new filter seal before screwing it on.
Important: Do not overtighten.
Add oil to the crankcase; refer to Checking the Engine-Oil Level.
| Maintenance Service Interval | Maintenance Procedure |
|---|---|
| Every 6,000 hours |
|
If advisory message displays in the InfoCenter, the DPF is nearing the recommended point for servicing the diesel-oxidation catalyst and the soot filter.

If engine faults , , or in the InfoCenter (Figure 74) display in the InfoCenter, clean the soot filter using the steps that follow:



Refer to the Engine section in the Service Manual for information on disassembling and assembling the diesel-oxidation catalyst and the soot filter of the DPF.
Refer to your Authorized Toro Distributor for diesel-oxidation catalyst and the soot filter replacement parts or service.
Contact your Authorized Toro Distributor to have them reset the engine ECU after you install a clean DPF.
Under certain conditions, diesel fuel and fuel vapors are highly flammable and explosive. A fire or explosion from fuel can burn you and others and can cause property damage.
Use a funnel and fill the fuel tank outdoors, in an open area, when the engine is off and is cold. Wipe up any fuel that spills.
Do not fill the fuel tank completely full. Add fuel to the fuel tank until the level is 6 to 13 mm (1/4 to 1/2 inch) below the bottom of the filler neck. This empty space in the tank allows the fuel to expand.
Never smoke when handling fuel, and stay away from an open flame or where fuel fumes may be ignited by a spark.
Store fuel in a clean, safety-approved container and keep the cap in place.
| Maintenance Service Interval | Maintenance Procedure |
|---|---|
| Every 400 hours |
|
Drain water or other contaminants from water separator (Figure 75) daily. Replace filter canister after every 400 hours of operation.
Place a clean container under the fuel filter.
Loosen the drain plug on the bottom of the filter canister and open the vent on the top of the canister mount.

Clean the area where the filter canister mounts.
Remove the filter canister and clean the mounting surface.
Lubricate the gasket on the filter canister with clean oil.
Install the filter canister by hand until the gasket contacts mounting surface, then rotate it an additional 1/2 turn.
Tighten the drain plug on the bottom of the filter canister and close the vent on the top of the canister mount.
| Maintenance Service Interval | Maintenance Procedure |
|---|---|
| Every 400 hours |
|
The engine fuel filter should be replaced after every 400 hours of operation.
Clean the area around the fuel filter head (Figure 76).

Remove the filter and clean the filter head mounting surface (Figure 76).
Lubricate the filter gasket with clean lubricating engine oil. Refer to the Engine Operator's Manual, included with the machine, for additional information.
Install the dry filter canister, by hand, until the gasket contacts the filter head, then rotate it an additional 1/2 turn.
Start the engine and check for fuel leaks around the filter head.
| Maintenance Service Interval | Maintenance Procedure |
|---|---|
| Every 400 hours |
|
Check the fuel lines and connections every 400 hours or yearly, whichever comes first. Inspect them for deterioration, damage, or loose connections.
The fuel pick-up tube, located inside the fuel tank, is equipped with a screen to help prevent debris from entering the fuel system. Remove the fuel pick-up tube and clean screen as required.
Important: Before welding on the machine, disconnect both cables from the battery, both wire harness plugs from the electronic control module, and the terminal connector from the alternator to prevent damage to the electrical system.
| Maintenance Service Interval | Maintenance Procedure |
|---|---|
| Every 50 hours |
|
Battery posts, terminals, and related accessories contain lead and lead compounds, chemicals known to the State of California to cause cancer and reproductive harm. Wash hands after handling.
Battery electrolyte contains sulfuric acid which is a deadly poison and causes severe burns.
Do not drink electrolyte and avoid contact with skin, eyes, or clothing. Wear safety glasses to shield your eyes and rubber gloves to protect your hands.
Fill the battery where clean water is always available for flushing the skin.
Charging the battery produces gasses that can explode.
Never smoke near the battery and keep sparks and flames away from it.
Check the battery condition weekly or after every 50 hours of operation. Keep the terminals and the entire battery case clean because a dirty battery will discharge slowly. To clean the battery, wash the entire case with a solution of baking soda and water. Rinse it with clear water.
There are 8 fuses in the electrical system. The fuse block (Figure 77) is located behind the control arm access panel.


The machine must not creep when the traction pedal is released. If it does creep, adjust as follows:
Park the machine on a level surface, stop the engine, and lower the cutting units to the floor.
Jack up the front of the machine until the front tires are off the shop floor. Support the machine with jack stands to prevent it from falling accidentally.
Note: On 4 wheel drive models, the rear tires must also be off the shop floor
On the right side of the hydrostat, loosen the locknut on the traction adjustment cam (Figure 79).

The engine must be running so the final adjustment of the traction adjustment cam can be performed. This could cause personal injury.
Keep hands, feet, face, and other body parts away from the muffler, other hot parts of the engine, and any rotating parts.
Start the engine and rotate the cam hex in either direction until the wheels cease rotation.
Tighten the locknut to secure the adjustment.
Stop the engine. Remove the jack stands and lower the machine to the shop floor.
Test drive the machine to make sure it does not creep.
| Maintenance Service Interval | Maintenance Procedure |
|---|---|
| Every 800 hours |
|
Rotate the steering wheel so that the rear wheels are straight ahead.
Loosen the jam nut on each end of the tie rod (Figure 80).
Note: The end of the tie rod with the external groove is a left hand thread.

Using the wrench slot, rotate the tie rod
Measure the distance at the front and rear of the rear wheels at axle height. The distance at the front of the rear wheels should be less than 6 mm (1/4 inch) of the distance measured at the rear of the wheels.
Repeat procedure as required.
| Maintenance Service Interval | Maintenance Procedure |
|---|---|
| Before each use or daily |
|
| Every 100 hours |
|
| Every 2 years |
|
Remove debris from the screen and radiator/oil cooler daily (clean more frequently in dirty conditions).
Turn the engine off and remove the key from the ignition switch.
Thoroughly clean all debris out of the engine area.
Unlatch the clamp and pivot open the rear screen (Figure 81).

Thoroughly clean both sides of the and the radiator/oil cooler (Figure 82) with compressed air.

Close the screen and secure the latch.
Adjust the service brakes when there is more than 1 inch of free travel of the brake pedal, or when the brakes do not work effectively. Free travel is the distance the brake pedal moves before you feel braking resistance.
Note: Use the wheel motor backlash to rock the drums back and forth to ensure that the drums are free prior to and after adjustment.
To reduce free travel of the brake pedals, tighten the brakes by loosening the front nut on the threaded end of the brake cable (Figure 83).

Tighten the rear nut to move the cable backward until brake pedals have 1.27 to 1.9 cm (1/2 to 3/4 inch) of free travel, before wheel lock up is achieved.
Tighten the front nuts, ensuring that both cables actuate the brakes simultaneously.
If the parking brake fails to engage, an adjustment to the brake pawl is required.
Loosen the 2 screws securing the parking brake pawl to the frame (Figure 84).

Press the parking brake pedal forward until the brake detent completely engages on the brake pawl (Figure 84).
Tighten the 2 screws locking the adjustment.
Press the brake pedal to release the parking brake.
Check the adjustment and readjust as required.
| Maintenance Service Interval | Maintenance Procedure |
|---|---|
| After the first 10 hours |
|
| Every 100 hours |
|
Check the condition and tension of the belt (Figure 85) after every 100 operating hours.
Proper tension will allow 10 mm (3/8 inch) deflection when a force of 44 N (10 lb) is applied on the belt midway between the pulleys.
If the deflection is not 10 mm (3/8 inch), loosen the alternator mounting bolts (Figure 85). Increase or decrease the alternator belt tension and tighten the bolts. Check the deflection of the belt again to ensure that the tension is correct.

| Maintenance Service Interval | Maintenance Procedure |
|---|---|
| Every 800 hours |
|
| Every 2 years |
|
Change hydraulic fluid after every 800 operating hours, in normal conditions. If fluid becomes contaminated, contact your local Toro distributor because the system must be flushed. Contaminated fluid looks milky or black when compared to clean oil.
Stop the engine and raise the hood.
Place a large drain pan under the fitting secured to the bottom of the hydraulic fluid reservoir (Figure 86).

Disconnect the hose from the bottom of the fitting and let the hydraulic fluid flow into the drain pan.
Install the hose when hydraulic fluid stops draining.
Fill the reservoir with approximately 30 liters (8 U.S. gallons) of hydraulic fluid; refer to Checking the Hydraulic Fluid.
Important: Use only hydraulic fluids specified. Other fluids could cause system damage.
Install the reservoir cap.
Start the engine and use all of the hydraulic controls to distribute hydraulic fluid throughout the system. Also check for leaks.
Stop the engine.
Check the level of the hydraulic fluid and add enough to raise level to the Full mark on the dipstick.
Important: Do not over-fill.
| Maintenance Service Interval | Maintenance Procedure |
|---|---|
| Every 800 hours |
|
The hydraulic system is equipped with a service interval indicator (Figure 87). With the engine running at operating temperature, view the indicator, it should be in the Green zone. When the indicator is in the Red zone, change the hydraulic filters.

Important: Use of any other filters may void the warranty on some components.
Position the machine on a level surface, lower the cutting units, stop the engine, engage the parking brake, and remove the key from the ignition switch.
Clean the area around the filter mounting area and place a drain pan under filter (Figure 88) and (Figure 89).


Remove the filter.
Lubricate the gasket on the new filter with hydraulic oil.
Ensure that the filter mounting area is clean.
Install the filter by hand until the gasket contacts the mounting surface, then rotate it an additional 1/2 turn.
Repeat the procedure on the other filter.
Start the engine and let it run for about two minutes to purge air from the system.
Stop the engine and check for leaks.
| Maintenance Service Interval | Maintenance Procedure |
|---|---|
| Before each use or daily |
|
Daily, check hydraulic lines and hoses for leaks, kinked lines, loose mounting supports, wear, loose fittings, weather deterioration, and chemical deterioration. Make all necessary repairs before operating.
Hydraulic fluid escaping under pressure can penetrate skin and cause injury.
Make sure all hydraulic fluid hoses and lines are in good condition and all hydraulic connections and fittings are tight before applying pressure to the hydraulic system.
Keep your body and hands away from pin hole leaks or nozzles that eject high pressure hydraulic fluid.
Use cardboard or paper to find hydraulic leaks.
Safely relieve all pressure in the hydraulic system before performing any work on the hydraulic system.
Get immediate medical help if fluid is injected into skin.
Use the hydraulic system test ports to test the pressure in the hydraulic circuits. Contact your local Toro distributor for assistance.
Use the test ports on the front hydraulic tubes (Figure 90) to assist in troubleshooting the traction circuit.

Use the test ports on the mow manifold block (Figure 91) to assist in troubleshooting the mow circuit.

Use the test port on the lift manifold block (Figure 92) to assist in troubleshooting the lift circuit.

Contact with the reels or other moving parts can result in personal injury.
Keep fingers, hands, and clothing away from the reels or other moving parts.
Never attempt to turn the reels by hand or foot while the engine is running.
Note: When backlapping, the front units all operate together, and the rear units operate together.
Position the machine on a level surface, lower the cutting units, stop the engine, engage the parking brake, and move the Enable/Disable switch to disable position.
Unlock and raise the seat to expose the backlap levers (Figure 93).
Make initial reel to bedknife adjustments appropriate for backlapping on all cutting units which are to be backlapped; refer to the cutting unit Operator's Manual.
Start the engine and run at low idle speed.
Changing the engine speed while backlapping may cause the reels to stall.
Never change the engine speed while backlapping.
Only backlap at idle engine speed.
Select either front, rear, or both backlap levers to determine which units to backlap (Figure 93).
To avoid personal injury, be certain that you are clear of the cutting units before proceeding.
With the Mow/Transport lever in the mow position, move the Enable/Disable switch to the Enable position. Move the Lower Mow/Lift control forward to start the backlapping operation on the designated reels.
Apply lapping compound with a long handle brush. Never use a short handled brush.
If the reels stall or become erratic while backlapping, select a higher reel speed setting until the speed stabilizes, then return the reel speed to your desired speed.
To make an adjustment to the cutting units while backlapping, turn the reels off by moving the Lower Mow/Raise lever rearward; the Enable/Disable switch to the Disable position, and stop the engine. After completing adjustments, repeat steps 4 through 8.

Repeat the procedure for all cutting units you want to backlap.
When finished, return the backlap levers to the Mow position, lower the seat, and wash all lapping compound off of the cutting units. Adjust cutting unit reel to bedknife as needed. Adjust the cutting unit reel speed to the desired mowing setting.
Important: If the backlap switch is not returned to the Off position after backlapping, the cutting units will not raise or function properly.
Note: For a better cutting edge, run a file across the front face of the bedknife after lapping. This will remove any burrs or rough edges that may have built up on the cutting edge.
Thoroughly clean the traction unit, cutting units, and engine.
Check the tire pressure. Inflate all traction unit tires to 83 to 103 kPa (12 to 15 psi).
Check all fasteners for looseness and tighten them as necessary.
Grease all grease fittings and pivot points. Wipe up any excess lubricant.
Lightly sand and use touch-up paint on painted areas that are scratched, chipped, or rusted. Repair any dents in the metal body.
Service the battery and cables as follows:
Remove the battery terminals from the battery posts.
Clean the battery, terminals, and posts with a wire brush and baking soda solution.
Coat the cable terminals and battery posts with Grafo 112X skin-over grease (Toro Part No. 505-47) or petroleum jelly to prevent corrosion.
Slowly recharge the battery every 60 days for 24 hours to prevent lead sulfation of the battery.
Drain the engine oil from the oil pan and replace the drain plug.
Remove and discard the oil filter. Install a new oil filter.
Refill the oil pan with designated quantity of motor oil.
Start the engine and run it at idle speed for approximately two minutes.
Stop the engine.
Flush the fuel tank with fresh, clean diesel fuel.
Check anti freeze protection and add a 50/50 solution of water and anti freeze as needed for expected minimum temperature in your area.
Secure all fuel system fittings.
Thoroughly clean and service the air cleaner assembly.
Seal the air cleaner inlet and the exhaust outlet with weatherproof tape.
Check the antifreeze protection and add as needed for expected minimum temperature in your area.