CALIFORNIEN
Advarsel i henhold til erklæring nr. 65
Brug af dette produkt kan medføre eksponering over for kemikalier, der ifølge staten Californien er kræftfremkaldende og giver medfødte defekter eller andre forplantningsskader.
Du må ikke fjerne styrtbøjlesystemet fra maskinen.
Sørg for, at sikkerhedsselen er spændt, og at du kan frigøre den hurtigt i nødstilfælde.
Kontroller omhyggeligt, om der er forhindringer oven over dig, og sørg for, at du i så fald ikke kommer i kontakt med dem.
Hold styrtbøjlesystemet i sikker driftsmæssig stand ved at udføre grundige periodiske skadeseftersyn og sørge for, at alle fastspændingsanordninger er forsvarligt tilspændt.
Udskift et beskadiget styrtbøjlesystem. Foretag ikke reparation eller modifikation på det.
Styrtbøjlesystemet er en integreret sikkerhedsanordning.
Brug altid sikkerhedssele.
![]() |
Sikkerheds- og instruktionsmærkaterne kan nemt ses af operatøren og er placeret tæt på potentielle risikoområder. Udskift eventuelle beskadigede eller manglende mærkater. |

Parker maskinen på en plan flade.
Aktiver parkeringsbremsen.
Sluk motoren, og tag nøglen ud.

Skub sædet fremad til den hævede position.
Skub sædet ud til siden af tapperne, og løft sædet opad (Figur 2).

Tag opladeren og opladerkablet ud af opladerens beslag (Figur 5).

Brug en T30-topnøgle til at fjerne de 4 torx-skruer (M6,0 x 22 mm), der fastgør opladerens beslag til venstre sidepanel (Figur 6).

Brug en T30-topnøgle til at fjerne de 4 torx-skruer (M6,0 x 22 mm) fra venstre sidepanel, og afmonter sidepanelet (Figur 7).

Gentag trin 3 på højre side.
Frakobl batterierne. Se maskinens betjeningsvejledning.
Note: Følg nøje proceduren til frakobling af batterierne. Frakobl minushovedbatterikablet (sort), og frakobl derefter plushovedbatterikablet (rødt).
Kobl udluftningsslangen og brændstofrøret fra brændstoftanken (Figur 8).
Under visse forhold er brændstof meget brandfarligt og yderst eksplosivt. En brand eller eksplosion forårsaget af brændstof kan give dig eller andre forbrændinger samt medføre tingsskade.
Tap brændstoffet af brændstoftanken, når motoren er kold. Dette skal gøres udendørs og i et åbent område. Tør spildt brændstof op.
Ryg aldrig under håndtering af brændstof, og hold afstand til åben ild eller steder, hvor brændstofdampe kan antændes af en gnist.
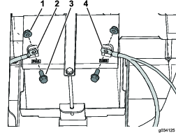
Fjern de 2 skruer, der fastgør tilholderen til venstre sidepanel, og fjern tilholderen (Figur 8).
Fjern flangebolten, der fastgør brændstoftanken til brændstoftankens bakke, og fjern brændstoftanken (Figur 8).

Brug en T30-topnøgle til at fjerne de 6 torx-skruer (M6,0 x 22 mm) fra venstre sidepanel, og afmonter sidepanelet (Figur 9).

Frakobl batteriets minuskabel (–) fra batteriet og derefter pluskablet (+), som vist i Figur 10.

Fjern de 2 flangehovedbolte (5/16" x ¾"), der fastgør batteribakken til stellet, og brug en T30-topnøgle til at fjerne de 4 torx-skruer (M6,0 x 22 mm), der fastgør højre sidepanel, og afmonter det højre sidepanel (Figur 11).
Note: Batteriet afmonteres med det højre sidepanel som vist i Figur 11.

Fjern de 10 plastnitter og kabelbåndet fra hvert gummidæksel, og afmonter gummidækslerne (Figur 12).

Ret et styrtbøjlebeslag ind efter de 2 huller bag sædesoklen og hullet mod fronten af stelvangen som vist i Figur 13.

Brug en klemme til at fastgøre styrtbøjlebeslaget.
Marker hulplaceringerne på styrtbøjlebeslaget (Figur 13).
Brug et styrtbøjlebeslag som guide til at bore 3 huller (13,5 mm) i rammen (Figur 14).
Vær forsigtig, når du borer hullerne i højre side af stellet på en elektrisk maskine.
Hvis du borer for langt, kan du beskadige batterierne eller andre komponenter.

Gentag proceduren på den anden side.
Tilskær gummidækslerne vha. målene, der er vist i Figur 15.
Note: Tilskæringerne i gummidækslet giver plads til at montere styrtbøjlens beslag.

Dele, der skal bruges til dette trin:
| Kabelbånd | 2 |
| Plastnitter | 4 |
Monter hvert gummidæksel med de 10 plastnitter, du fjernede tidligere, og et kabelbånd (Figur 16).
Hvis de nitter, du fjernede tidligere, er beskadigede eller mangler, skal de udskiftes med de nitter, der følger med dette sæt.

Tilskær sidepanelerne vha. målene, der er vist i Figur 17.

Dele, der skal bruges til dette trin:
| Venstre styrtbøjlebeslag | 1 |
| Højre styrtbøjlebeslag | 1 |
| Flangehovedbolt (½" x 3") | 6 |
| Flad spændeskive (½") | 10 |
| Låsemøtrik (½") | 6 |
Monter et styrtbøjlebeslag med 3 flangehovedbolte (½" x 3"), 5 flade spændeskiver (½") og 3 låsemøtrikker (½") som vist i Figur 18.
Note: Sørg for, at du monterer de 2 flade spændeskiver (½") på ydersiden som vist i Figur 18.

Spænd de 3 flangehovedbolte (½" x 3") til et moment på 94 til 108 N·m.
Gentag proceduren på den anden side.
Dele, der skal bruges til dette trin:
| Styrtbøjle | 1 |
| Flangehovedbolt (½" x 3½") | 4 |
| Låsemøtrik (½") | 4 |
Note: Få hjælp til at hæve styrtbøjlen på plads.
Fastgør den ene side af styrtbøjlen til et styrtbøjlebeslag med 2 flangehovedbolte (½" x 3½") og 2 låsemøtrikker (½") som vist i Figur 19.

Tilspænd de 2 flangehovedbolte (½" x 3½") til et moment på 94 til 108 N·m.
Gentag proceduren på den anden side.
Monter venstre sidepanel med de 4 torx-skruer (M6,0 x 22 mm), du fjernede tidligere, som vist i Figur 7.
Fastgør opladningsbeslaget til venstre sidepanel med de 4 torx-skruer (M6,0 x 22 mm), du fjernede tidligere, som vist i Figur 6.
Fastgør opladeren og opladerens kabel til opladerens beslag (Figur 5).
Gentag trin 1 på højre side.
Tilslut batteriet. Se betjeningsvejledningen til maskinen.
Note: Følg nøje proceduren til tilslutning af batterierne. Tilslut plushovedbatterikablet (rødt), og tilslut derefter minushovedbatterikablet (rødt).
Monter hvert sidepanel med de torx-skruer (M6,0 x 22 mm), du fjernede tidligere, som vist i Figur 9 og Figur 11.
Fastgør batteribundpladen på højre side med de 2 flangehovedbolte (5/16" x ¾"), du fjernede tidligere, som vist i Figur 11.
Tilslut batteriets pluskabel (+) til batteriet med bolten og møtrikken (Figur 10).
Tilslut batteriets minuskabel (–) til batteriet med bolten og møtrikken (Figur 10).
Fastgør brændstoftanken til brændstoftankens bakke med den tidligere afmonterede flangehovedbolt (Figur 8).
Fastgør tilholderen til venstre sidepanel med de 2 skruer, du fjernede tidligere (Figur 8).
Tilslut udluftningsslangen og brændstofrøret til brændstoftanken (Figur 8).
Dele, der skal bruges til dette trin:
| Sikkerhedssele | 2 |
| Sædelås | 2 |
| Sekskantbolt (7/16" x 1") | 4 |
| Flad spændeskive (7/16") | 8 |
| Låsemøtrik (7/16") | 4 |
Monter en sædelås med en sekskantbolt (7/16" x 1"), 2 flade spændeskiver (7/16") og en låsemøtrik (7/16") som vist i Figur 20.

Tilspænd sekskantbolten (7/16" x 1") til et moment på 68 til 81 N·m.
Gentag trin 1 og 2 for at montere den anden sædelås.
Monter sikkerhedsselen med en sekskantbolt (7/16" x 1"), 2 flade spændeskiver (7/16") og en låsemøtrik (7/16") som vist i Figur 21.

Tilspænd sekskantbolten (7/16" x 1") til et moment på 68 til 81 N·m.
Gentag trin 4 og 5 for at montere den anden sikkerhedssele.
Skub sædet på tapperne, og sænk sædet (Figur 22).

Dele, der skal bruges til dette trin:
| Venstre forrudestøtte | 1 |
| Højre forrudestøtte | 1 |
| Forreste støtte | 1 |
| Bageste kalechestøtte | 1 |
| Venstre forreste monteringsbeslag | 1 |
| Højre forreste monteringsbeslag | 1 |
| Venstre bageste monteringsbeslag | 1 |
| Højre bageste monteringsbeslag | 1 |
| Venstre bageste hjørnebeslag | 1 |
| Højre bageste hjørnebeslag | 1 |
| Venstre forreste hjørnebeslag | 1 |
| Højre forreste hjørnebeslag | 1 |
| Forreste krydsforbindelse | 1 |
| Krydsforbindelsesrør | 2 |
| Flangemøtrik (5/16") | 28 |
| Møtrik (¼") | 2 |
| Sekskantet flangehovedbolt (¼" x 1½") | 2 |
| Bræddebolt (5/16" x 1¾") | 16 |
| Sekskantet flangebolt (5/16" x 1") | 2 |
| Bræddebolt (5/16" x 2¾") | 6 |
| Bræddebolt (5/16" x 1") | 4 |
Note: Stram ikke nogen fastgørelsesanordninger, undtagen når du bliver bedt om det.
Brug målene vist i Figur 23, og bor to huller (5/16") i ydersiden af gulvpladen på venstre og højre side af maskinen.

Brug målene vist i Figur 24, og bor et hul (5/16") i ydersiden af trinbrættet på venstre og højre side af maskinen.

Fastgør det midterste beslag på venstre og højre forrudestøtte til maskinen med 2 sekskantede flangebolte (5/16" x 1") og 2 møtrikker (5/16") i de huller, du borede (Figur 25).

Fastgør det nederste beslag på venstre og højre forrudestøtte til maskinen med 4 bræddebolte (5/16" x 1") og 4 flangemøtrikker (5/16") i de huller, du borede i trin 1 (Figur 26).

Brug 2 bræddebolte (5/16" x 2¾") og 2 flangemøtrikker (5/16") til at fastgøre bageste kalechestøtte og baggitteret til styrtbøjlen (Figur 27).

Brug 4 bræddebolte (5/16" x 2¾") og 4 flangemøtrikker (5/16") til at fastgøre de bageste monteringsbeslag og de bageste hjørnebeslag til styrtbøjlen (Figur 28).

Sæt krydsforbindelsesrørene løst på de bageste monteringsbeslag og de bageste hjørnebeslag med 4 bræddebolte (5/16" x 1¾") og 4 flangemøtrikker (5/16") som vist i Figur 29.

Sæt de forreste monteringsbeslag og de forreste hjørnebeslag løst på krydsforbindelsesrørene og forrudestøtterne med 8 bræddebolte (5/16" x 1¾") og 8 flangemøtrikker (5/16") som vist i Figur 29.
Sæt den forreste krydsforbindelse løst på de forreste monteringsbeslag og hjørnebeslag med 4 bræddebolte (5/16" x 1¾") og 4 flangemøtrikker (5/16") som vist i Figur 30.

Brug 2 sekskantede flangehovedbolte (¼" x 1½") og 2 møtrikker (¼") til at fastgøre den forreste støtte til den forreste krydsforbindelse (Figur 31).

Tilspænd alle løse fastgørelsesanordninger.
Dele, der skal bruges til dette trin:
| Solskærm | 1 |
| Klemme | 2 |
| Forseglingsskive | 4 |
| Sekskantet flangebolt (¼" x 1") | 4 |
| Friktionsskive | 2 |
| Plastikskive | 4 |
| Flangebøsning | 2 |
Fastgør solskærmen på frontpladerne med 2 klemmer, 2 forseglingsskiver og 2 sekskantede flangebolte (¼" x 1") som vist i Figur 32.
Important: Påfør gevindlåseklæbemiddel på de sekskantede flangebolte inden montering.

Fastgør solskærmen på den bageste krydsforbindelse med to sekskantede flangebolte (¼" x 1"), to forseglingsskiver, to friktionsskiver, fire plastikskiver og to flangebøsninger (Figur 33).
Important: Påfør gevindlåseklæbemiddel på de sekskantede flangebolte inden montering.
Important: Sørg for, at plastikskiverne er fastgjort på toppen og bunden af solskærmen, da dette forhindrer beskadigelse af solskærmen.
