KALIFORNIEN
Warnung zu Proposition 65
Bei Verwendung dieses Produkts sind Sie ggf. Chemikalien ausgesetzt, die laut den Behörden des Staates Kalifornien krebserregend wirken, Geburtsschäden oder andere Defekte des Reproduktionssystems verursachen.
Entfernen Sie den Überrollschutz nicht von der Maschine.
Stellen Sie sicher, dass Sie Ihren Sicherheitsgurt angelegt haben und ihn in einem Notfall schnell lösen können.
Achten Sie immer auf hängende Objekte und berühren Sie sie nicht.
Halten Sie den Überrollschutz in einem sicheren Betriebszustand, überprüfen Sie ihn regelmäßig auf Beschädigungen und halten Sie alle Befestigungen angezogen.
Ersetzen Sie den Überrollschutz durch einen neuen, wenn er beschädigt ist. Führen Sie keine Reparaturen oder Modifikationen daran aus.
Der Überrollschutz ist eine integrierte Sicherheitseinrichtung.
Legen Sie immer den Sicherheitsgurt an.
![]() |
Die Sicherheits- und Bedienungsaufkleber sind gut sichtbar; sie befinden sich in der Nähe der möglichen Gefahrenbereiche. Tauschen Sie beschädigte oder verloren gegangene Aufkleber aus. |

Stellen Sie die Maschine auf einer ebenen Fläche ab.
Aktivieren Sie die Feststellbremse.
Stellen Sie den Motor ab und ziehen Sie den Zündschlüssel ab.

Schieben Sie den Sitz vorwärts in die angehobene Stellung.
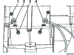
Schieben Sie den Sitz seitlich aus den Stiften heraus und heben Sie den Sitz hoch (Bild 2).

Nehmen Sie das Ladegerät und das Ladegerätkabel aus der Ladegeräthalterung (Bild 5).

Entfernen Sie die vier Torxschrauben (M6.0 x 22 mm), mit denen die Ladegeräthalterung an der linken Seitenplatte befestigt ist, mit einem T30-Sechskantschlüssel (Bild 6).

Entfernen Sie die vier Torxschrauben (M6.0 x 22 mm) mit einem T30-Sechskantschlüssel von der linken Seitenplatte und nehmen sie ab (Bild 7).

Wiederholen Sie Schritt 3 an der rechten Seite.
Schließen Sie die Batterien ab, siehe Bedienungsanleitung der Maschine.
Note: Schließen Sie die Batterien richtig ab. Schließen Sie das Hauptminuskabel der Batterie (Schwarz) und dann das Hauptpluskabel der Batterie (Rot) ab.
Schließen Sie den Entlüftungsschlauch und die Kraftstoffleitung vom Kraftstofftank ab (Bild 8).
Unter bestimmten Bedingungen ist Kraftstoff extrem leicht entflammbar und hochexplosiv. Feuer und Explosionen durch Kraftstoff können Verbrennungen und Sachschäden verursachen.
Lassen Sie den Kraftstoff aus dem Kraftstofftank ab, wenn der Motor kalt ist. Tun Sie das im Freien in einem offenen Bereich. Wischen Sie verschütteten Kraftstoff auf.
Rauchen Sie beim Umgang mit Kraftstoff unter keinen Umständen und halten Kraftstoff von offenem Licht und jeglichem Risiko von Funkenbildung fern.
Nehmen Sie die zwei Schrauben ab, mit denen die Befestigungsplatte an der linken Seitenplatte befestigt ist, und nehmen Sie die Befestigungsplatte ab (Bild 8).
Entfernen Sie den Bundbolzen, mit dem der Kraftstofftank am Kraftstofftankfach befestigt ist, und nehmen Sie den Kraftstofftank ab (Bild 8).

Entfernen Sie die sechs Torxschrauben (M6.0 x 22 mm) mit einem T30-Sechskantschlüssel von der linken Seitenplatte und nehmen sie ab (Bild 9).

Klemmen Sie das Minuskabel (-) und dann das Pluskabel (+) von der Batterie ab, wie in Bild 10 abgebildet.

Entfernen Sie die zwei Bundkopfschrauben (5/16" x ¾"), mit denen das Batteriefach am Rahmen befestigt ist; entfernen Sie die vier Torxschrauben (M6.0 x 22 mm), mit denen die rechte Seitenplatte befestigt ist, mit einem T30-Sechskantschlüssel, und nehmen Sie die rechte Seitenplatte ab (Bild 11).
Note: Die Batterie wird mit der rechten Seitenplatte abgenommen, wie in Bild 11 abgebildet.

Entfernen Sie die zehn Kunststoffnieten und den Kabelbinder von jeder Gummiabdeckung und nehmen Sie die Gummiabdeckungen ab (Bild 12).

Fluchten Sie eine Überrollschutzhalterung mit den zwei Löchern hinter dem Sitzunterteil und dem Loch vorne an der Rahmenschiene aus, wie in Bild 13 abgebildet.

Befestigen Sie die Überrollschutzhalterung mit einer Klemme.
Markieren Sie die Lochpositionen an der Überrollschutzhalterung (Bild 13).
Verwenden Sie die Überrollschutzhalterung als Schablone und bohren Sie drei Löcher (13,5 mm) den Rahmen (Bild 14).
Passen Sie bei einer elektrischen Maschine auf, wenn Sie die Löcher an der rechten Seite des Rahmens bohren.
Wenn Sie zu tief bohren, können Sie die Batterien oder andere Teile beschädigen.

Wiederholen Sie diesen Schritt an der anderen Seite.
Schneiden Sie die Gummiabdeckungen basierend auf den in Bild 15 abgebildeten Werten zu.
Note: Die Ausschnitte in der Gummiabdeckung ergeben Platz für das Befestigen der Überrollschutzhalterungen.

Für diesen Arbeitsschritt erforderliche Teile:
| Kabelbinder | 2 |
| Kunststoffnieten | 4 |
Befestigen Sie jede Gummiabdeckung mit den zehn vorher entfernten Kunststoffnieten und einem Kabelbinder (Bild 16).
Wenn die vorher entfernten Nieten beschädigt sind oder fehlen, verwenden Sie die Nieten aus dem Kit.

Schneiden Sie die Seitenplatten basierend auf den in Bild 17 abgebildeten Werten zu.

Für diesen Arbeitsschritt erforderliche Teile:
| Linke Überrollschutzhalterung | 1 |
| Rechte Überrollschutzhalterung | 1 |
| Bundkopfschraube (½" x 3") | 6 |
| Flachscheibe (½") | 10 |
| Sicherungsmutter (½") | 6 |
Befestigen Sie eine Überrollschutzhalterung mit drei Bundkopfschrauben (½" x 3"), fünf Flachscheiben (½") und drei Sicherungsmuttern (½"), wie in Bild 18 abgebildet.
Note: Stellen Sie sicher, dass Sie die zwei Flachscheiben (½") an der Außenseite befestigen, wie in Bild 18 abgebildet.

Ziehen Sie die drei Bundkopfschrauben (½" x 3") mit 94-108 N·m an.
Wiederholen Sie diesen Schritt an der anderen Seite.
Für diesen Arbeitsschritt erforderliche Teile:
| Überrollbügel | 1 |
| Bundkopfschraube (½" x 3½") | 4 |
| Sicherungsmutter (½") | 4 |
Note: Heben Sie den Überrollbügel mit einer anderen Person in die richtige Stellung an.
Befestigen Sie eine Seite des Überrollbügels mit zwei Bundkopfschrauben (½" x 3-½") und zwei Sicherungsmuttern (½") an einer Überrollschutzhalterung, wie in Bild 19 abgebildet.

Ziehen Sie die zwei Bundkopfschrauben (½" x 3½") mit 94-108 N·m an.
Wiederholen Sie diesen Schritt an der anderen Seite.
Befestigen Sie die linke Seitenplatte mit den vier vorher entfernten Torxschrauben (M6.0 x 22 mm), wie in Bild 7 abgebildet.
Befestigen Sie die Ladegeräthalterung mit den vier vorher entfernten Torxschrauben (M6,0 x 22 mm) an der linken Seitenplatte, wie in Bild 6 abgebildet.
Befestigen Sie das Ladegerät und das Ladegerätkabel an der Ladegeräthalterung (Bild 5).
Wiederholen Sie Schritt 1 an der rechten Seite.
Schließen Sie die Batterie an, siehe Bedienungsanleitung der Maschine.
Note: Schließen Sie die Batterien richtig an. Schließen Sie das Pluskabel der Batterie (Rot) und dann das Minuskabel der Batterie (Schwarz) an.
Befestigen Sie jede Seitenplatte mit den vorher entfernten Torxschrauben (M6.0 x 22 mm), wie in Bild 9 und Bild 11 abgebildet.
Befestigen Sie das Batterieunterteil mit den zwei vorher entfernten Bundkopfschrauben (5/16" x ¾") an der rechten Seite, wie in Bild 11 abgebildet.
Schließen Sie das Pluskabel (+) der Batterie mit der Schraube und Mutter an der Batterie an (Bild 10).
Schließen Sie das Minuskabel (–) der Batterie mit der Schraube und Mutter an der Batterie an (Bild 10).
Befestigen Sie den Kraftstofftank mit dem vorher entfernten Bundbolzen am Kraftstofftankfach (Bild 8).
Befestigen Sie die Befestigungsplatte mit den zwei vorher entfernten Schrauben an der linken Seitenplatte (Bild 8).
Schließen Sie den Entlüftungsschlauch und die Kraftstoffleitung am Kraftstofftank an (Bild 8).
Für diesen Arbeitsschritt erforderliche Teile:
| Sicherheitsgurt | 2 |
| Sitzriegel | 2 |
| Sechskantschraube (7/16" x 1") | 4 |
| Flachscheibe (7/16") | 8 |
| Sicherungsmutter (7/16") | 4 |
Befestigen Sie einen Sitzriegel mit einer Sechskantschraube (7/16" x 1"), zwei Flachscheiben (7/16") und einer Sicherungsmutter (7/16"), wie in Bild 20 abgebildet.

Ziehen Sie die Sechskantschraube (7/16" x 1") mit 68-81 N·m an.
Wiederholen Sie die Schritte 1 und 2 für das Befestigen des anderen Sitzriegels.
Befestigen Sie einen Sicherheitsgurt mit einer Sechskantschraube (7/16" x 1"), zwei Flachscheiben (7/16") und einer Sicherungsmutter (7/16"), wie in Bild 21 abgebildet.

Ziehen Sie die Sechskantschraube (7/16" x 1") mit 68-81 N·m an.
Wiederholen Sie die Schritte 4 und 5 für das Befestigen des anderen Sicherheitsgurts.
Schieben Sie den Sitz auf die Stifte und senken Sie den Stift ab (Bild 22).

Für diesen Arbeitsschritt erforderliche Teile:
| Linke Windschutzscheibenstütze | 1 |
| Rechte Windschutzscheibenstütze | 1 |
| Vordere Stütze | 1 |
| Hintere Sonnendachstütze | 1 |
| Befestigungshalterung vorne links | 1 |
| Befestigungshalterung vorne rechts | 1 |
| Befestigungshalterung hinten links | 1 |
| Befestigungshalterung hinten rechts | 1 |
| Eckenverstärkung hinten links | 1 |
| Eckenverstärkung hinten rechts | 1 |
| Eckenverstärkung vorne links | 1 |
| Eckenverstärkung vorne rechts | 1 |
| Vordere Querverbindung | 1 |
| Querverbindungsrohr | 2 |
| Bundmutter (5/16") | 28 |
| Mutter (¼") | 2 |
| Sechskantbundkopfschraube (¼" x -1½") | 2 |
| Schlossschraube (5/16" x 1¾") | 16 |
| Sechskantbundbolzen (5/16" x 1") | 2 |
| Schlossschraube (5/16" x 2¾") | 6 |
| Schlossschraube (5/16" x 1") | 4 |
Note: Ziehen Sie die Befestigungen erst fest, wenn Sie dazu aufgefordert werden.
Verwenden Sie die in Bild 23 abgebildeten Abmessungen und bohren Sie zwei 5/16" große Löcher in die Außenseite der Bodenplatte an der linken und rechten Seite der Maschine.

Verwenden Sie die in Bild 24 abgebildeten Abmessungen und bohren Sie ein 5/16" großes Loch in die Außenseite der Fußplatte an der linken und rechten Seite der Maschine.

Befestigen Sie die mittlere Halterung der linken und rechten Windschutzscheibenstützen mit zwei Sechkantbundbolzen (5/16" x 1") und zwei Muttern (5/16") in den Bohrlöchern, die Sie in (Bild 25) gebohrt haben.

Befestigen Sie die untere Halterung der linken und rechten Windschutzscheibenstützen mit vier Schlossschrauben (5/16" x 1") und vier Bundmuttern (5/16") in den in Schritt 1 gebohrten Löchern (Bild 26).

Befestigen Sie die hintere Sonnendachstütze und das hintere Gitter mit zwei Schlossschrauben (5/16" x 2¾") und zwei Bundmuttern (5/16") am Überrollbügel (Bild 27).

Befestigen Sie die hinteren Befestigungshalterungen und die hinteren Eckenverstärkungen mit vier Schlossschrauben (5/16" x 2¾") und vier Muttern (5/16") am Überrollbügel (Bild 28).

Befestigen Sie die Querverbindungsrohre lose mit vier Schlossschrauben (5/16" x 1¾") und vier Bundmuttern (5/16") an den hinteren Befestigungshalterungen, wie in Bild 29 abgebildet.

Befestigen Sie die vorderen Befestigungshalterungen und die vorderen Eckenverstärkungen lose mit acht Schlossschrauben (5/16" x 1¾") und acht Bundmuttern (5/16") an den vorderen Querverbindungsrohren und den Windschutzscheibenstützen, wie in Bild 29 abgebildet.
Befestigen Sie die vordere Querverbindung lose mit vier Schlossschrauben (5/16" x 1¾") und vier Bundmuttern (5/16") an den vorderen Befestigungshalterungen und den Eckenverstärkungen, wie in Bild 30 abgebildet.

Befestigen Sie die vordere Stütze mit zwei Bundkopfschrauben (¼" x 1½") und zwei Muttern (¼") an der vorderen Querverbindung (Bild 31).

Ziehen Sie alle losen Befestigungen an.
Für diesen Arbeitsschritt erforderliche Teile:
| Sonnendach | 1 |
| Clip | 2 |
| Dichtungsscheibe | 4 |
| Sechskantbundbolzen (¼" x 1") | 4 |
| Reibscheibe | 2 |
| Kunststoffscheibe | 4 |
| Bundbüchse | 2 |
Befestigen Sie das Sonnendach mit zwei Clips, zwei Dichtungsscheiben und zwei Bundbolzen (¼" x 1") an den vorderen Platten, wie in Bild 32 abgebildet.
Important: Tragen Sie vor dem Einsetzen Gewindesperrmittel auf die Sechskantbundbolzen auf.

Befestigen Sie das Sonnendach mit zwei Sechskantbundkopfschrauben (¼" x 1"), zwei Dichtungsscheiben, zwei Reibscheiben, vier Kunststoffscheiben und zwei Bundbüchsen an der hinteren Querverbindung (Bild 33).
Important: Tragen Sie vor dem Einsetzen Gewindesperrmittel auf die Sechskantbundbolzen auf.
Important: Stellen Sie sicher dass die Kunststoffscheiben unten und oben auf dem Sonnendach aufgelegt sind, um eine Beschädigung des Sonnendaches zu verhindern.
