CALIFORNIA
Advertencia de la Propuesta 65
El uso de este producto puede provocar la exposición a sustancias químicas que el Estado de California considera causantes de cáncer, defectos congénitos u otros trastornos del sistema reproductor.
No retire el ROPS de la máquina.
Asegúrese de abrocharse el cinturón de seguridad y de que puede desabrocharlo rápidamente en una emergencia.
Compruebe cuidadosamente que no haya obstrucciones en altura, y si las hay, no entre en contacto con ellos.
Mantenga el ROPS en condiciones seguras de funcionamiento, inspeccionándolo periódicamente en busca de daños y manteniendo bien apretados todas las fijaciones de montaje.
Si el ROPS está dañado, cámbielo. No lo repare ni lo modifique.
El ROPS es un dispositivo de seguridad integrado.
Lleve siempre el cinturón de seguridad.
![]() |
Las pegatinas de seguridad e instrucciones están a la vista del operador y están ubicadas cerca de cualquier zona de peligro potencial. Sustituya cualquier pegatina que esté dañada o que falte. |

Aparque la máquina en una superficie nivelada.
Accione el freno de estacionamiento.
Apague el motor y retire la llave.

Empuje el conjunto de asientos hacia adelante a la posición elevada.
Deslice el conjunto de asientos hacia un lado hasta que se desenganchen los pasadores, y levante el conjunto de asientos hacia arriba (Figura 2).

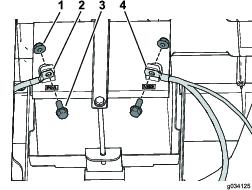
Retire el cargador y el cable del cargador del soporte del cargador (Figura 5).

Utilice una llave dinamométrica T30 para retirar los 4 tornilos torx (M6,0 x 22 mm) que fijan el soporte del cargador al panel izquierdo (Figura 6).

Utilice una llave dinamométrica T30 para retirar los 4 tornillos torx (M6,0 x 22 mm) del panel izquierdo y extraerlo (Figura 7).

Repita el paso 3 en el lado derecho.
Desconecte las baterías; consulte el Manual del operador de la máquina.
Note: Siga correctamente el procedimiento de desconexión de las baterías. Desconecte el cable negativo principal de las baterías (negro) y, a continuación, desconecte el cable positivo principal de las baterías (rojo).
Desconecte la manguera de ventilación y el tubo de combustible del depósito (Figura 8).
En ciertas condiciones, el combustible es extremadamente inflamable y altamente explosivo. Un incendio o una explosión provocados por el combustible puede causarle quemaduras a usted y a otras personas así como daños materiales.
Drene el combustible del depósito cuando el motor esté frío. Realice esta operación en el exterior en una zona abierta. Limpie cualquier combustible derramado.
No fume nunca mientras maneja el combustible, y aléjese de llamas desnudas o lugares donde los vapores del combustible pueden incendiarse con una chispa.
Retire los 2 tornillos que sujetan la pletina de sujeción al panel lateral izquierdo, y retire la pletina de sujeción (Figura 8).
Retire el perno con arandela prensada que sujeta el depósito de combustible a la bandeja del depósito de combustible, y retire el depósito de combustible (Figura 8).

Utilice una llave dinamométrica T30 para retirar los 6 tornillos torx (M6,0 x 22 mm) del panel izquierdo y extra dicho panel (Figura 9).

Desconecte el cable negativo (–) de la batería, y luego el cable positivo (+) de la batería, según se muestra en Figura 10.

Retire los 2 pernos con arandela prensada (5/16" x ¾") que sujetan la bandeja de la batería al bastidor y utilice una llave dinamométrica T30 para retirar los 4 tornillos torx (M6,0 x 22 mm) que sujetan el panel lateral derecho, y retire dicho panel (Figura 11).
Note: La batería sale junto al panel lateral derecho, según se muestra en Figura 11.

Retire los 10 remaches de plástico y la brida para cables de cada cubierta de goma y retire las cubiertas de goma (Figura 12).

Alinee un soporte del ROPS con los 2 taladros situados detrás de la base del asiento y con el taladro situado hacia la parte delantera del perfil del bastidor, según se muestra en Figura 13.

Sujete el soporte del ROPS con una mordaza.
Marque la posición de los taladros del soporte del ROPS (Figura 13).
Usando un soporte del ROPS como guía, perfore tres taladros (13,5 mm) en el bastidor (Figura 14).
Tenga cuidado al perforar los taladros en el lado derecho del bastidor en una máquina eléctrica.
Si perfora demasiado, podría dañar las baterías u otros componentes.

Repita este procedimiento en el otro lado.
Corte las cubiertas de goma usando las dimensiones indicadas en la Figura 15.
Note: Los cortes de la cubierta de goma dejan espacio suficiente para instalar los soportes del ROPS.

Piezas necesarias en este paso:
| Brida | 2 |
| Remaches de plástico | 4 |
Instale cada cubierta de goma usando los 10 remaches de plástico que retiró anteriormente y una brida para cables (Figura 16).
Si los remaches retirados anteriormente están dañados o falta alguno, sustitúyalos por los remaches suministrados en este kit.

Recorte los paneles laterales usando las dimensiones indicadas en la Figura 17.

Piezas necesarias en este paso:
| Soporte izquierdo del ROPS | 1 |
| Soporte derecho del ROPS | 1 |
| Perno con arandela prensada (½" x 3") | 6 |
| Arandela plana (½") | 10 |
| Contratuerca (½") | 6 |
Instale un soporte del ROPS usando 3 pernos con arandela prensada (½" x 3"), 5 arandelas planas (½"), y 3 contratuercas (½"), según se muestra en Figura 18.
Note: Asegúrese de instalar las 2 arandelas planas (½") en el exterior, según se muestra en Figura 18.

Apriete los 3 pernos con arandela prensada (½" x 3") a 94–108 N∙m.
Repita este procedimiento en el otro lado.
Piezas necesarias en este paso:
| Barra antivuelco | 1 |
| Perno con arandela prensada (½" x 3½") | 4 |
| Contratuerca (½") | 4 |
Note: Pida a otra persona que le ayude a elevar la barra antivuelco en su posición.
Sujete un lado de la barra antivuelco a un soporte del ROPS usando 2 pernos con arandela prensada (½" x 3½") y 2 contratuercas (½"), según se muestra en Figura 19.

Apriete los 2 pernos con arandela prensada (½" x 3½") a 94–108 N∙m.
Repita este procedimiento en el otro lado.
Instale el panel lateral izquierdo usando los 4 tornillos torx (M6,0 x 22 mm) que retiró anteriormente, según se muestra en Figura 7.
Sujete el soporte del cargador al panel lateral izquierdo usando los 4 tornillos torx (M6,0 x 22 mm) que retiró anteriormente, según se muestra en Figura 6.
Sujete el cargador y el cable del cargador al soporte del cargador (Figura 5).
Repita el paso 1 en el lado derecho.
Conecte la batería; consulte el Manual del operador de su máquina.
Note: Siga correctamente el procedimiento de conexión de las baterías. Conecte el cable positivo principal de las baterías (rojo), y luego conecte el cable negativo principal de las baterías (negro).
Instale cada panel lateral con los tornillos torx que retiró anteriormente (M6,0 x 22 mm), según se muestra en Figura 9 y Figura 11.
Sujete la base de la batería en el lado derecho usando los 2 pernos con arandela prensada (5/16" x ¾") que retiró anteriormente, según se muestra en Figura 11.
Conecte el cable positivo (+) a la batería usando el perno y la tuerca (Figura 10).
Conecte el cable negativo (–) a la batería usando el perno y la tuerca (Figura 10).
Sujete el depósito de combustible a la bandeja del depósito de combustible usando el perno con arandela prensada que retiró anteriormente (Figura 8).
Sujete la pletina de sujeción al panel lateral izquierdo usando los 2 tornillos que retiró anteriormente (Figura 8).
Conecte la manguera de ventilación y el tubo de combustible al depósito de combustible (Figura 8).
Piezas necesarias en este paso:
| Cinturón de seguridad | 2 |
| Enganche del asiento | 2 |
| Perno de cabeza hexagonal (7/16" x 1") | 4 |
| Arandela plana (7/16") | 8 |
| Contratuerca (7/16") | 4 |
Instale un enganche de asiento con un perno de cabeza hexagonal (7/16" x 1"), 2 arandelas planas (7/16"), y una contratuerca (7/16"), según se muestra en Figura 20.

Apriete el perno de cabeza hexagonal (7/16" x 1") a 68–81 N·m.
Repita los pasos 1 y 2 para instalar el otro enganche del asiento.
Instale un cinturón de seguridad con un perno de cabeza hexagonal (7/16" x 1"), 2 arandelas planas (7/16"), y una contratuerca (7/16"), según se muestra en Figura 21.

Apriete el perno de cabeza hexagonal (7/16" x 1") a 68–81 N·m.
Repita los pasos 4 y 5 para instalar el otro cinturón de seguridad.
Deslice el conjunto de asientos sobre los pasadores y baje el conjunto de asientos (Figura 22).

Piezas necesarias en este paso:
| Montante izquierdo del parabrisas | 1 |
| Montante derecho del parabrisas | 1 |
| Soporte delantero | 1 |
| Soporte trasero de la capota | 1 |
| Soporte delantero izquierdo | 1 |
| Soporte delantero derecho | 1 |
| Soporte trasero izquierdo | 1 |
| Soporte trasero derecho | 1 |
| Chapa de unión trasera izquierda | 1 |
| Chapa de unión trasera derecha | 1 |
| Chapa de unión delantera izquierda | 1 |
| Chapa de unión delantera derecha | 1 |
| Enlace transversal delantero | 1 |
| Tubo de enlace transversal | 2 |
| Tuerca con arandela prensada (5/16") | 28 |
| Tuerca (¼") | 2 |
| Perno de cabeza hexagonal con arandela prensada (¼" x 1½") | 2 |
| Perno de cuello cuadrado (5/16" x 1¾") | 16 |
| Perno hexagonal con arandela prensada (5/16" x 1") | 2 |
| Perno de cuello cuadrado (5/16"x 2¾") | 6 |
| Perno de cuello cuadrado (5/16" x 1") | 4 |
Note: No apriete las fijaciones excepto cuando se le indique.
Con las dimensiones mostradas en Figura 23, realice 2 taladros (5/16") en la parte exterior de la chapa del suelo en los laterales derecho e izquierdo de la máquina.

Con las dimensiones mostradas en Figura 24, realice 1 taladro (5/16") en la parte exterior de la placa del suelo en los laterales derecho e izquierdo de la máquina.

Fije la pestaña central de los montantes izquierdo y derecho del parabrisas a la máquina con 2 pernos hexagonales con arandela prensada (5/16" x 1") y 2 tuercas (5/16") en los taladros que perforó (Figura 25).

Sujete la pestaña inferior de los montantes izquierdo y derecho del parabrisas a la máquina con 4 pernos de cuello cuadrado (5/16" x 1") y 4 tuercas con arandela prensada (5/16") en los taladros que perforó en el paso 1 (Figura 26).

Utilice 2 pernos de cuello cuadrado (5/16" x 2¾") y 2 tuercas con arandela prensada (5/16") para sujetar el soporte trasero de la capota y la rejilla trasera a la barra antivuelco (Figura 27).

Utilice 4 pernos de cuello cuadrado (5/16" x 2¾") y 4 tuercas (5/16") para sujetar los soportes traseros y las chapas de unión traseras a la barra antivuelco (Figura 28).

Sujete provisionalmente los tubos de enlace transversal a los soportes traseros y a las chapas de unión traseras con 4 pernos de cuello cuadrado (5/16" x 1¾") y 4 tuercas con arandela prensada (5/16"), como se muestra en Figura 29.

Instale provisionalmente los soportes delanteros y las chapas de unión delanteras a los tubos de enlace transversal y a los montantes del parabrisas con 8 pernos de cuello cuadrado (5/16" x 1¾") y 8 tuercas con arandela prensada (5/16"), como se muestra en Figura 29.
Sujete provisionalmente el enlace transversal delantero a los soportes y a las chapas de unión delanteras con 4 pernos de cuello cuadrado (5/16" x 1¾") y 4 tuercas con arandela prensada (5/16"), como se muestra en la Figura 30.

Utilice 2 pernos de cabeza hexagonal con arandela prensada (¼" x 1½") y 2 tuercas (¼") para sujetar el soporte delantero al enlace transversal delantero (Figura 31).

Apriete todas las fijaciones sueltas.
Piezas necesarias en este paso:
| Toldo | 1 |
| Clip | 2 |
| Arandela sellante | 4 |
| Perno hexagonal con arandela prensada (¼" x 1") | 4 |
| Arandela de fricción | 2 |
| Arandela de plástico | 4 |
| Casquillo con brida | 2 |
Instale el toldo a las placas delanteras con 2 clips, 2 arandelas sellantes y 2 pernos hexagonales con arandela prensada (¼" x 1"), tal y como se muestra en Figura 32.
Important: Aplique sellador de roscas a los pernos hexagonales con arandela prensada antes de instalarlos.

Instale el toldo en el enlace transversal trasero con 2 pernos hexagonales con arandela prensada (¼" x 1"), 2 arandelas sellantes, 2 arandelas de fricción, 4 arandelas de plástico y 2 casquillos con brida (Figura 33).
Important: Aplique sellador de roscas a los pernos hexagonales con arandela prensada antes de instalarlos.
Important: Asegúrese de que las arandelas de plástico están instaladas en la parte superior e inferior del toldo, ya que esto evita daños en el toldo.
