CALIFORNIA
Avvertenza norma "Proposition 65"
L'utilizzo del presente prodotto potrebbe esporre a sostanze chimiche che nello Stato della California sono considerate cancerogene e causa di anomalie congenite o di altre problematiche della riproduzione.
Non rimuovete il ROPS dalla macchina.
Assicuratevi che la cintura di sicurezza sia fissata e di poterla rilasciare rapidamente in caso di emergenza.
Controllate attentamente che non vi siano ostruzioni in alto e non venitevi a contatto.
Mantenete il ROPS in condizioni operative sicure ispezionandolo periodicamente in modo completo per escludere danni e mantenendo serrati tutti i dispositivi di fissaggio.
Sostituite un ROPS danneggiato. Non effettuate riparazioni o modifiche.
Il ROPS è un dispositivo di sicurezza fondamentale.
Indossate sempre la cintura di sicurezza.
![]() |
Gli adesivi di sicurezza e di istruzione sono chiaramente visibili e sono affissi accanto a zone particolarmente pericolose. Sostituite eventuali adesivi se danneggiati o mancanti. |

Parcheggiate la macchina su terreno pianeggiante.
Inserite il freno di stazionamento.
Spegnete il motore e togliete la chiave.

Spingete il gruppo sedile in avanti in posizione di sollevamento.
Fate scorrere il gruppo sedile sul lato estraendolo dai perni e sollevatelo (Figura 2).

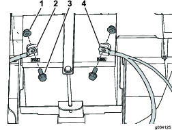
Rimuovete il caricatore e il cavo del caricatore dalla relativa staffa (Figura 5).

Utilizzate una chiave a bussola T30 per rimuovere le 4 viti a testa Torx (M6,0 x 22 mm) che fissano la staffa del caricatore al pannello sinistro (Figura 6).

Utilizzate una chiave a bussola T30 per rimuovere le 4 viti a testa Torx (M6,0 x 22 mm) dal pannello sinistro e rimuovetela (Figura 7).

Ripetete l'operazione 3 sul lato destro.
Scollegate le batterie; consultate il Manuale dell'operatore della macchina.
Note: Seguite correttamente la procedura per scollegare le batterie. Scollegate il cavo negativo principale (nero) della batteria, poi scollegate quello positivo (rosso).
Scollegate il tubo di sfiato e il tubo di alimentazione dal serbatoio del carburante (Figura 8).
In talune condizioni il carburante è estremamente infiammabile ed altamente esplosivo. Un incendio o un'esplosione possono ustionare voi ed altre persone e causare danni.
Spurgate il carburante dal relativo serbatoio quando il motore è freddo. Eseguite questa operazione all'aperto e in un’area ampia e tergete il carburante versato.
Quando maneggiate carburante non fumate e state lontani da fiamme libere e da dove i fumi di carburante possano essere accesi da una scintilla.
Rimuovete le 2 viti che fissano il dispositivo di tenuta al pannello sinistro e rimuovete il dispositivo di tenuta (Figura 8).
Rimuovete il bullone flangiato che fissa il serbatoio del carburante al relativo vassoio e rimuovete il serbatoio del carburante (Figura 8).

Utilizzate una chiave a bussola T30 per rimuovere le 6 viti a testa Torx (M6,0 x 22 mm) dal pannello sinistro e rimuovete il pannello (Figura 9).

Scollegate il cavo negativo (-) dalla batteria, poi scollegate quello positivo (+) come illustrato nella Figura 10.

Rimuovete i 2 bulloni a testa flangiata (5/16" x ¾") che fissano il vassoio della batteria al telaio e utilizzate una chiave a bussola T30 per rimuovere le 4 viti a testa Torx (M6,0 x 22 mm) che fissano il pannello destro e rimuovete il pannello (Figura 11).
Note: La batteria viene rimossa insieme al pannello destro, come illustrato nella Figura 11.

Rimuovete i 10 rivetti di plastica e la fascetta per cavi da ciascun cappuccio di gomma e rimuovete i cappucci di gomma (Figura 12).

Allineate una staffa del ROPS con i 2 fori dietro la base del sedile e il foro verso la parte anteriore della guida del telaio, come illustrato nella Figura 13.

Utilizzando un morsetto, fissate in posizione la staffa del ROPS.
Segnate le posizioni dei fori sulla staffa del ROPS (Figura 13).
Utilizzando una staffa del ROPS come guida, praticate 3 fori di 13,5 mm nel telaio (Figura 14).
Prestate cautela quando praticate i fori sul lato destro del telaio su una macchina elettrica.
Se praticate un foro troppo profondo, potreste danneggiare le batterie o altri componenti.

Ripetete questa procedura sull'altro lato.
Tagliate i cappucci di gomma utilizzando le misure illustrate nella Figura 15.
Note: I tagli praticati nelle protezioni di gomma consentono di avere spazio per montare le staffe del ROPS.

Parti necessarie per questa operazione:
| Fascetta per cavi | 2 |
| Rivetti di plastica | 4 |
Montate ciascun cappuccio di gomma utilizzando i 10 rivetti di plastica e una fascetta per cavi che avete rimosso in precedenza (Figura 16).
Se i rivetti rimossi in precedenza sono danneggiati o mancanti, sostituiteli con i rivetti forniti in questo kit.

Rifinite i pannelli laterali utilizzando le misure illustrate nella Figura 17.

Parti necessarie per questa operazione:
| Staffa sinistra del ROPS | 1 |
| Staffa destra del ROPS | 1 |
| Bullone a testa flangiata (½ x 3") | 6 |
| Rondella piana (½") | 10 |
| Dado di bloccaggio (½") | 6 |
Montate una staffa del ROPS utilizzando 3 bulloni a testa flangiata (½" x 3"), 5 rondelle piane (½") e 3 dadi di bloccaggio (½") come illustrato nella Figura 18.
Note: Assicuratevi di installare le 2 rondelle piane (½") sul lato esterno, come illustrato nella Figura 18.

Serrate i 3 bulloni a testa flangiata (½ x 3") a 94–108 N∙m.
Ripetete questa procedura sull'altro lato.
Parti necessarie per questa operazione:
| Roll bar | 1 |
| Bullone a testa flangiata (½ x 3½") | 4 |
| Dado di bloccaggio (½") | 4 |
Note: Fatevi aiutare da un assistente a sollevare il roll bar in posizione.
Fissate un lato del roll bar a una staffa del ROPS utilizzando 2 bulloni a testa flangiata (½" x 3½") e 2 dadi di bloccaggio (½") come illustrato nella Figura 19.

Serrate i 2 bulloni a testa flangiata (½ x 3½") a 94–108 N∙m.
Ripetete questa procedura sull'altro lato.
Montate il pannello sinistro utilizzando le 4 viti a testa Torx (M6,0 x 22 mm), rimosse in precedenza, come illustrato nella Figura 7.
Fissate la staffa del caricatore sul pannello sinistro utilizzando le 4 viti a testa Torx (M6,0 x 22 mm) rimosse in precedenza, come illustrato nella Figura 6.
Fissate il caricatore e il cavo del caricatore sulla relativa staffa (Figura 5).
Ripetete l'operazione 1 sul lato destro.
Collegate la batteria; consultate il Manuale dell'operatore della macchina.
Note: Seguite correttamente la procedura per collegare le batterie. Collegate il cavo positivo (rosso) della batteria principale, quindi collegate il cavo negativo (nero) della batteria principale.
Montate ciascun pannello laterale utilizzando le viti a testa Torx (M6,0 x 22 mm) rimosse in precedenza, come illustrato nella Figura 9 e Figura 11.
Fissate la base della batteria sul lato destro utilizzando i 2 bulloni a testa flangiata (5/16 x ¾") rimossi in precedenza, come illustrato nella Figura 11.
Collegate il cavo positivo (+) alla batteria utilizzando il bullone e il dado (Figura 10).
Collegate il cavo negativo (-) alla batteria utilizzando il bullone e il dado (Figura 10).
Fissate il serbatoio del carburante al relativo vassoio utilizzando il bullone flangiato rimosso in precedenza (Figura 8).
Fissate il dispositivo di tenuta al pannello sinistro utilizzando le 2 viti rimosse in precedenza (Figura 8).
Collegate il tubo di sfiato e il tubo di alimentazione al serbatoio del carburante (Figura 8).
Parti necessarie per questa operazione:
| Cintura di sicurezza | 2 |
| Fermo del sedile | 2 |
| Bullone a testa esagonale (7/16 x 1") | 4 |
| Rondella piana (7/16") | 8 |
| Dado di bloccaggio (7/16") | 4 |
Montate un fermo del sedile utilizzando un bullone a testa esagonale (7/16" x 1"), 2 rondelle piane (7/16") e un dado di bloccaggio (7/16") come illustrato nella Figura 20.

Serrate il bullone a testa esagonale (7/16 x 1") a 68–81 N∙m.
Ripetete i passaggi 1 e 2 per montare l'altro fermo del sedile.
Montate una cintura di sicurezza utilizzando un bullone a testa esagonale (7/16 x 1"), 2 rondelle piane (7/16") e un dado di bloccaggio (7/16") come illustrato nella Figura 21.

Serrate il bullone a testa esagonale (7/16 x 1") a 68–81 N∙m.
Ripetete i passaggi 4 e 5 per montare l'altra cintura di sicurezza.
Fate scorrere il gruppo sedile sui perni e abbassatelo (Figura 22).

Parti necessarie per questa operazione:
| Supporto del parabrezza di sinistra | 1 |
| Supporto del parabrezza di destra | 1 |
| Supporto anteriore | 1 |
| Supporto posteriore del tettuccio | 1 |
| Staffa di montaggio anteriore sinistra | 1 |
| Staffa di montaggio anteriore destra | 1 |
| Staffa di montaggio posteriore sinistra | 1 |
| Staffa di montaggio posteriore destra | 1 |
| Rinforzo angolo posteriore sinistro | 1 |
| Rinforzo angolo posteriore destro | 1 |
| Rinforzo angolo anteriore sinistro | 1 |
| Rinforzo angolo anteriore destro | 1 |
| Collegamento trasversale anteriore | 1 |
| Tubo di collegamento trasversale | 2 |
| Dado flangiato (5/16") | 28 |
| Dado (¼") | 2 |
| Bullone flangiato a testa esagonale (¼ x 1½") | 2 |
| Bullone a testa tonda (5/16 x 1¾") | 16 |
| Bullone esagonale flangiato (5/16" x 1") | 2 |
| Bullone a testa tonda (5/16 x 2¾") | 6 |
| Bullone a testa tonda (5/16" x 1") | 4 |
Note: Non serrate alcun dispositivo di fissaggio tranne quando indicato.
Utilizzando le dimensioni nella Figura 23, praticate 2 fori (5/16") all'esterno del pianale, sui lati sinistro e destro della macchina.

Utilizzando le dimensioni nella Figura 24, praticate 1 foro (5/16") all'esterno della pedana, sui lati sinistro e destro della macchina.

Fissate la staffa centrale dei supporti destro e sinistro del parabrezza alla macchina utilizzando 2 bulloni esagonali flangiati (5/16 x 1") e 2 dadi (5/16"), nei fori praticati in precedenza (Figura 25).

Fissate la staffa inferiore dei supporti destro e sinistro del parabrezza alla macchina utilizzando 4 bulloni a testa tonda (5/16 x 1") e 4 dadi flangiati (5/16"), nei fori praticati nel passaggio 1 (Figura 26).

Utilizzate 2 bulloni a testa tonda (5/16 x 2¾") e 2 dadi flangiati (5/16") per fissare il supporto posteriore del tettuccio e la griglia posteriore sul roll bar (Figura 27).

Utilizzate 4 bulloni a testa tonda (5/16 x 2¾") e 4 dadi (5/16") per fissare le staffe di montaggio posteriori e i rinforzi degli angoli posteriori sul roll bar (Figura 28).

Montate, senza serrarli, i tubi di collegamento trasversali sulle staffe di montaggio posteriori e sui rinforzi degli angoli posteriori con 4 bulloni a testa tonda (5/16 x 1¾") e 4 dadi flangiati (5/16") come illustrato nella Figura 29.

Montate, senza serrarle, le staffe di montaggio anteriori e i rinforzi degli angoli anteriori sui tubi di collegamento trasversali e sui supporti del parabrezza utilizzando 8 bulloni a testa tonda (5/16 x 1¾") e 8 dadi flangiati (5/16") come illustrato nella Figura 29.
Montate, senza serrarlo, il collegamento trasversale anteriore sulle staffe di montaggio e sui rinforzi degli angoli anteriori utilizzando 4 bulloni a testa tonda (5/16 x 1¾") e 4 dadi flangiati (5/16") come illustrato nella Figura 30.

Utilizzate 2 bulloni flangiati a testa esagonale (¼ x 1½") e 2 dadi (¼") per fissare il supporto anteriore sul collegamento trasversale anteriore (Figura 31).

Serrate tutti i dispositivi di fissaggio lenti.
Parti necessarie per questa operazione:
| Parasole | 1 |
| Graffetta | 2 |
| Rondella di tenuta | 4 |
| Bullone esagonale flangiato (¼ x 1") | 4 |
| Rondella di frizione | 2 |
| Rondella di plastica | 4 |
| Boccola flangiata | 2 |
Installate il parasole sulle piastre anteriori utilizzando 2 graffette, 2 rondelle di tenuta e 2 dadi esagonali flangiati (¼ x 1"), come mostrato nella Figura 32.
Important: Applicate un composto frenafiletti sui bulloni esagonali flangiati prima del loro montaggio.

Montate il parasole sul collegamento trasversale posteriore utilizzando 2 bulloni esagonali flangiati (¼ x 1"), 2 rondelle di tenuta, 2 rondelle di frizione, 4 rondelle di plastica e 2 boccole flangiate (Figura 33).
Important: Applicate un composto frenafiletti sui bulloni esagonali flangiati prima del loro montaggio.
Important: Assicuratevi che le rondelle di plastica siano montate sulla parte superiore e inferiore del parasole, dal momento che ciò evita di danneggiare il parasole.
