CALIFÓRNIA
Proposição 65 Aviso
É do conhecimento do Estado da Califórnia que a utilização deste produto pode causar exposição a químicos que podem provocar cancro, defeitos congénitos ou outros problemas reprodutivos.
Não retire o ROPS da máquina.
Certifique-se de que o cinto de segurança está preso e que o consegue soltar rapidamente em caso de emergência.
Verifique atentamente se existem obstruções superiores e não entre em contacto com elas.
Mantenha o ROPS em boas condições de funcionamento inspecionando-o regularmente para verificar se há danos e mantenha apertadas todas as fixações.
Substitua um ROPS danificado. Não o repare nem altere.
O ROPS é um dispositivo integral de segurança.
Utilize sempre o cinto de segurança.
![]() |
Os autocolantes de segurança e de instruções são facilmente visíveis e situam-se próximo das zonas de potencial perigo. Substitua todos os autocolantes danificados ou em falta. |

Estacione a máquina numa superfície nivelada.
Engate o travão de estacionamento.
Desligue o motor do e retire a chave da ignição.

Empurre o conjunto do banco para a frente para aceder à posição levantada.
Deslize o conjunto do banco para o lado, afastando dos pinos, e levante o conjunto do banco para cima (Figura 2).

Retire o carregador e o cabo do carregador do suporte do carregador (Figura 5).

Utilize uma chave T30 para remover os quatro parafusos de cabeça torx (M6.0 x 22 mm) que prendem o suporte do carregador ao painel lateral esquerdo (Figura 6).

Utilize uma chave T30 para remover os quatro parafusos de cabeça torx (M6.0 x 22 mm) do painel lateral esquerdo e retire-o (Figura 7).

Repita o passo 3 no lado direito.
Desligue as baterias; consulte o Manual do utilizador da máquina.
Note: Siga corretamente o procedimento de desligamento das baterias. Desligue o cabo negativo principal (preto) da bateria e, em seguida, o cabo positivo principal (vermelho) da bateria.
Desligue a tubagem de ventilação e a linha de combustível do depósito de combustível (Figura 8).
Em determinadas circunstâncias, o combustível é extremamente inflamável e explosivo. Um incêndio ou explosão provocado(a) por combustível pode resultar em queimaduras e danos materiais.
Retire o combustível do depósito de combustível quando o motor estiver frio. Faça-o ao ar livre e num espaço aberto. Limpe todo o combustível derramado.
Não fume quando se encontrar próximo de combustível e mantenha-se afastado de todas as fontes de chama ou faíscas que possam inflamar os vapores existentes nesse meio.
Retire os 2 parafusos que prendem a fixação ao painel do lado esquerdo e retire a fixação (Figura 8).
Remova o parafuso flangeado que fixa o depósito de combustível ao tabuleiro do depósito e retire o depósito de combustível (Figura 8).

Utilize uma chave T30 para remover os quatro parafusos de cabeça torx (M6.0 x 22 mm) do painel lateral esquerdo e retire-o (Figura 9).

Desligue o cabo negativo (-) da bateria e depois o cabo positivo (+) como se mostra na Figura 10.

Retire os dois parafusos de cabeça flangeada (5/16 x ¾ pol.) que prendem o tabuleiro da bateria à estrutura e utilize uma chave T30 para remover os quatro parafusos de cabeça torx (M6.0 x 22 mm) que prendem o painel lateral direito e retire o painel (Figura 11).
Note: A bateria sai com o painel lateral direito como se mostra na Figura 11.

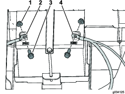
Retire os 10 rebites de plástico e a braçadeira de plástico de cada cobertura de borracha e retire as coberturas de borracha (Figura 12).

Alinhe um suporte do ROPS com os dois furos por trás da base do banco e o furo para a frente da calha da estrutura como se mostra na Figura 13.

Utilizando um grampo, prenda o suporte do ROPS no sítio.
Marque os locais dos furos para o suporte do ROPS (Figura 13).
Utilizando um suporte do ROPS como guia, faça três furos de 13,5 mm de diâmetro na estrutura (Figura 14).
Tenha cuidado ao fazer os furos no lado direito da estrutura numa máquina elétrica.
Se perfurar demasiado, pode danificar as baterias ou outros componentes.

Repita este procedimento para o outro lado.
Corte as coberturas de borracha utilizando as medidas mostradas na Figura 15.
Note: Os cortes na cobertura de borracha criam espaço para instalar os suportes do ROPS.

Peças necessárias para este passo:
| Braçadeira de cabos | 2 |
| Rebites de plástico | 4 |
Instale cada cobertura de borracha utilizando os 10 rebites de plástico previamente removidos e uma braçadeira de cabos (Figura 16).
Se os rebites previamente removidos estiverem danificados ou em falta, substitua-os pelos rebites fornecidos com este kit.

Apare os painéis laterais utilizando as medidas mostradas na Figura 17.

Peças necessárias para este passo:
| Suporte do ROPS esquerdo | 1 |
| Suporte do ROPS direito | 1 |
| Parafuso com cabeça flangeada (½ x 3 pol.) | 6 |
| Anilha de cabeça chata (½ pol.) | 10 |
| Porca de bloqueio (½ pol.) | 6 |
Instale um suporte do ROPS utilizando três parafusos com cabeça flangeada (½ x 3 pol.), cinco anilhas de cabeça chata e três porcas de bloqueio (½ pol.), como se mostra na Figura 18.
Note: Certifique-se de que instala as 2 anilhas de cabeça chata (½ pol.) no exterior como se mostra na Figura 18.

Aperte os 3 parafusos com cabeça flangeada (½ x 3 pol.) com uma força de 94 a 108 N·m.
Repita este procedimento para o outro lado.
Peças necessárias para este passo:
| Barra de segurança | 1 |
| Parafuso com cabeça flangeada (½ x 3½ pol.) | 4 |
| Porca de bloqueio (½ pol.) | 4 |
Note: Peça a uma pessoa para o ajudar a elevar a barra de segurança para a posição correta.
Prenda um lado da barra de segurança a um suporte do ROPS com 2 parafusos com cabeça flangeada (½ x 3½ pol.) e 2 porcas de bloqueio (½ pol.), como se mostra na Figura 19.

Aperte os 2 parafusos com cabeça flangeada (½ x 3½ pol.) com uma força de 94 a 108 N·m.
Repita este procedimento para o outro lado.
Instale o painel do lado esquerdo utilizando os quatro parafusos de cabeça torx (M6.0 x 22 mm) previamente removidos como se mostra na Figura 7.
Prenda o suporte do carregador ao painel do lado esquerdo utilizando os 4 parafusos de cabeça torx (M6,0 x 22 mm) previamente removidos como se mostra na Figura 6.
Prenda o carregador e o cabo do carregador ao suporte do carregador (Figura 5).
Repita o passo 1 no lado direito.
Ligue a bateria; consulte o Manual do utilizador da máquina.
Note: Siga corretamente o procedimento de ligação das baterias. Ligue o cabo positivo principal (vermelho) da bateria e, em seguida, o cabo negativo principal (preto) da bateria.
Instale cada painel lateral utilizando os parafusos de cabeça torx (M6.0 x 22 mm) previamente removidos como se mostra na Figura 9 e na Figura 11.
Prenda a base da bateria no lado direito utilizando os 2 parafusos de cabeça flangeada (5/16 x ¾ pol.) previamente removidos como se mostra na Figura 11.
Ligue o cabo positivo (+) da bateria à bateria utilizando o parafuso e porca (Figura 10).
Ligue o cabo negativo (–) da bateria à bateria utilizando o parafuso e porca (Figura 10).
Prenda o depósito de combustível ao tabuleiro do depósito de combustível utilizando o parafuso flangeado previamente removido (Figura 8).
Prenda a fixação ao painel do lado esquerdo utilizando os 2 parafusos previamente removidos (Figura 8).
Ligue a tubagem de ventilação e a linha de combustível ao depósito de combustível (Figura 8).
Peças necessárias para este passo:
| Cinto de segurança | 2 |
| Trinco do banco | 2 |
| Parafuso com cabeça sextavada (7/16 x 1 pol.) | 4 |
| Anilha de cabeça chata (7/16 pol.) | 8 |
| Porca de bloqueio (7/16 pol.) | 4 |
Instale um trinco do banco utilizando um parafuso com cabeça flangeada (7/16 x 1 pol.), duas anilhas de cabeça chata e uma porca de bloqueio (7/16 pol.), como se mostra na Figura 20.

Aperte o parafuso de cabeça sextavada (7/16 x 1 pol.) com uma força de 68 a 81 N·m.
Repita os passos 1 e 2 para instalar o outro trinco do banco.
Instale um cinto de segurança (7/16 x 1 pol.), 2 anilhas de cabeça chata (7/16 pol.) e uma porca de bloqueio (7/16 pol.), como se mostra na Figura 21.

Aperte o parafuso de cabeça sextavada (7/16 x 1 pol.) com uma força de 68 a 81 N·m.
Repita os passos 4 e 5 para instalar o outro cinto de segurança.
Deslize o conjunto do banco para os pinos e baixe o conjunto (Figura 22).

Peças necessárias para este passo:
| Suporte do limpa para-brisas esquerdo | 1 |
| Suporte do limpa para-brisas direito | 1 |
| Suporte frontal | 1 |
| Suporte do toldo traseiro | 1 |
| Suporte da montagem frontal esquerdo | 1 |
| Suporte da montagem frontal direito | 1 |
| Suporte da montagem traseiro esquerdo | 1 |
| Suporte da montagem traseiro direito | 1 |
| Placa de canto traseira esquerda | 1 |
| Placa de canto traseira direita | 1 |
| Placa de canto frontal esquerda | 1 |
| Placa de canto frontal direita | 1 |
| Ligação cruzada dianteira | 1 |
| Tubo de ligação cruzada | 2 |
| Porca flangeada (5/16 pol.) | 28 |
| Porca (¼ pol.) | 2 |
| Parafuso flangeado de cabeça sextavada (¼ x 1½ pol.) | 2 |
| Parafuso de carroçaria (5/16 x 1¾ pol.) | 16 |
| Parafuso flangeado hexagonal (5/16 x 1 pol.) | 2 |
| Parafuso de carroçaria (5/16 x 2¾ pol.) | 6 |
| Parafuso de carroçaria (5/16 x 1 pol.) | 4 |
Note: Não aperte quaisquer fixadores, excepto quando instruído.
Utilizando as dimensões indicadas na Figura 23, faça 2 furos (5/16 pol.) no exterior da placa do piso nos lados esquerdo e direito da máquina.

Utilizando as dimensões indicadas na Figura 24, faça 1 furo (5/16 pol.) no exterior da placa dos pés nos lados esquerdo e direito da máquina.

Prenda o suporte do meio dos suportes do limpa para-brisas esquerdo e direito à máquina utilizando 2 parafusos flangeados sextavados (5/16 x 1 pol.) e 2 porcas (5/16 pol.) nos furos que realizou (Figura 25).

Prenda o suporte inferior dos suportes do limpa para-brisas esquerdo e direito à máquina utilizando 4 parafusos de carroçaria (5/16 x 1 pol.) e 4 porcas flangeadas (5/16 pol.) nos furos que realizou no passo 1 (Figura 26).

Utilize 2 parafusos de carroçaria (5/16 x 2¾ pol.) e 2 porcas flangeadas (5/16 pol.) para prender o suporte traseiro do toldo e o filtro traseiro à barra de segurança (Figura 27).

Utilize 2 parafusos de carroçaria (5/16 x 2¾ pol.) e 4 porcas flangeadas (5/16 pol.) para prender os suportes de montagem traseiros e as placas de canto traseiras à barra de segurança (Figura 28).

Instale sem apertar os tubos de ligação cruzada nos suportes de montagem traseira e nas placas de canto traseiras utilizando 2 parafusos de carroçaria (5/16 x 1¾ pol.) e 4 porcas flangeadas (5/16 pol.), como se mostra na Figura 29.

Instale sem apertar os suportes de montagem frontal e as placas de canto frontais nos tubos da ligação cruzada e nos suportes do limpa para-brisas utilizando 8 parafusos de carroçaria (5/16 x 1¾ pol.) e 8 porcas flangeadas (5/16 pol.), como se mostra na Figura 29.
Instale sem apertar a ligação cruzada frontal nos suportes de montagem frontais e nas placas de canto utilizando 4 parafusos de carroçaria (5/16 x 1¾ pol.) e 4 porcas flangeadas (5/16 pol.), como se mostra na Figura 30.

Utilize os 2 parafusos flangeados de cabeça sextavada (¼ x 1½ pol.) e as 2 porcas (¼ pol.) para prender o suporte frontal à ligação cruzada frontal (Figura 31).

Aperte todos os fixadores soltos.
Peças necessárias para este passo:
| Toldo | 1 |
| Clipe | 2 |
| Anilha vedante | 4 |
| Parafuso flangeado hexagonal (¼ x 1 pol.) | 4 |
| Anilha de fricção | 2 |
| Anilha de plástico | 4 |
| Casquilho da flange | 2 |
Instale o toldo nas placas dianteiras utilizando 2 clipes, 2 anilhas vedantes e 2 parafusos flangeados hexagonais (¼ x 1 pol.), como se mostra na Figura 32.
Important: Aplique adesivo de roscas nos parafusos flangeados hexagonais antes de instalar.

Instale o toldo na ligação cruzada traseira utilizando 2 parafusos flangeados hexagonais (¼ x 1 pol.), 2 anilhas vedantes, 2 anilhas de fricção, 4 anilhas de plástico e 2 casquilhos da flange (Figura 33).
Important: Aplique adesivo de roscas nos parafusos flangeados hexagonais antes de instalar.
Important: Certifique-se de que as anilhas de plástico são colocadas na parte de cima e na parte de baixo do toldo, visto que isto previne danos no toldo.
