КАЛИФОРНИЯ
Положение 65, Предупреждение
Лица, использующие данное вещество, должны иметь в виду, что, согласно информации, имеющейся в распоряжении компетентных органов штата Калифорния, оно содержит химическое соединение (соединения), отнесенные к категории канцерогенных, способных вызвать врождённые пороки и оказывающих вредное воздействие на репродуктивную систему человека.
Запрещается демонтировать систему защиты при опрокидывании (ROPS).
Убедитесь, что ремень безопасности застегнут и его можно быстро отстегнуть в экстренной ситуации.
Тщательно проверяйте наличие препятствий сверху и не касайтесь их.
Поддерживайте конструкцию ROPS в безопасном рабочем состоянии; для этого периодические тщательно проверяйте, нет ли повреждений и хорошо ли затянут крепеж.
Поврежденную конструкцию ROPS следует заменить. Ремонт или изменение конструкции запрещены.
Конструкция ROPS является встроенным защитным устройством.
Всегда застегивайте ремень безопасности.
![]() |
Предупреждающие наклейки и инструкции по технике безопасности должны быть хорошо видны оператору и установлены во всех местах потенциальной опасности. Заменяйте поврежденные или утерянные наклейки. |

Установите автомобиль на ровной поверхности.
Включите стояночный тормоз.
Выключите двигатель и выньте ключ.

Наклоните сиденье в сборе вперед в поднятое положение.
Сдвиньте сиденье в сборе в сторону, чтобы снять его со штифтов, и поднимите его вверх (Рисунок 2).

Снимите зарядное устройство и его кабель с кронштейна зарядного устройства (Рисунок 5).

С помощью торцевого ключа T30 отверните 4 винта с головкой Torx (M6,0 x 22 мм), которые крепят кронштейн зарядного устройства к левой боковой панели (Рисунок 6).

С помощью торцевого ключа T30 отверните 4 винта с головкой Torx (M6,0 x 22 мм) с левой боковой панели и снимите панель (Рисунок 7).

Повторите действие, описанное в пункте 3, на правой стороне.
Отсоедините аккумуляторы; см. Руководство оператора для вашей машины.
Note: Отсоединяйте аккумуляторы правильно. Сначала отсоедините главный отрицательный кабель аккумулятора (черный), затем отсоедините главный положительный кабель аккумулятора (красный).
Отсоедините вентиляционную трубку и топливный трубопровод от топливного бака (Рисунок 8).
При определенных условиях топливо является чрезвычайно огнеопасным и взрывоопасным веществом. Возгорание или взрыв топлива могут вызвать ожоги у людей и повреждение имущества.
Сливайте топливо из топливного бака при холодном двигателе. Делайте это вне помещения на открытой территории. Вытирайте все разлитое топливо.
Запрещается курить при работе с топливом. Держитесь подальше от открытого пламени и от мест, где пары топлива могут воспламениться от искр.
Выверните 2 винта, которые крепят прижим к левой боковой панели, и снимите прижим (Рисунок 8).
Выверните фланцевый болт, который крепит топливный бак к его поддону, и снимите топливный бак (Рисунок 8).

С помощью торцевого ключа T30 отверните 6 винтов с головкой Torx (M6,0 x 22 мм) с левой боковой панели и снимите боковую панель (Рисунок 9).

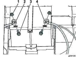
Отсоедините отрицательный (-), а затем положительный (+) кабель от аккумуляторной батареи, как показано на Рисунок 10.

Выверните два болта с фланцевыми головками (5/16 x 3/4 дюйма), которые крепят поддон аккумулятора к раме, затем с помощью торцевого ключа T30 отверните 4 винта с головкой Torx (M6,0 x 22 мм), которые крепят правую боковую панель, и снимите эту панель (Рисунок 11).
Note: Аккумуляторная батарея снимается вместе с правой боковой панелью, как показано на Рисунок 11.

Удалите 10 пластмассовых заклепок и кабельную стяжку с каждого резинового кожуха и снимите резиновые кожухи (Рисунок 12).

Совместите кронштейн ROPS с 2 отверстиями позади основания сиденья и отверстием впереди балки рамы, как показано на Рисунок 13.

Используя зажим, закрепите кронштейн ROPS на месте.
Разметьте расположение отверстий на кронштейне ROPS (Рисунок 13).
Используя кронштейн ROPS в качестве шаблона, просверлите 3 отверстия диаметром 13,5 мм (17/32 дюйма) в раме (Рисунок 14).
Соблюдайте осторожность при сверлении отверстий на правой стороне рамы автомобилей с электрическим двигателем.
Если вы просверлите слишком глубоко, то можете повредить аккумуляторные батареи или другие компоненты.

Повторите эти действия с другой стороны.
Сделайте вырезы на резиновых кожухах по размерам, показанным на Рисунок 15.
Note: Вырезы на резиновых кожухах освобождают место для установки кронштейнов конструкции ROPS.

Детали, требуемые для этой процедуры:
| Кабельная стяжка | 2 |
| Пластмассовые заклепки | 4 |
Установите каждый резиновый кожух с помощью ранее снятых 10 пластмассовых заклепок и кабельной стяжки (Рисунок 16).
Если ранее снятые заклепки повреждены или отсутствуют, замените их заклепками из данного комплекта.

Подрежьте боковые панели по размерам, показанным на Рисунок 17.

Детали, требуемые для этой процедуры:
| Левый кронштейн ROPS | 1 |
| Правый кронштейн ROPS | 1 |
| Болт с фланцевой головкой (1/2 x 3 дюйма) | 6 |
| Плоская шайба (1/2 дюйма) | 10 |
| Контргайка (1/2 дюйма) | 6 |
Установите кронштейн ROPS с помощью 3 болтов с фланцевыми головками (1/2 x 3 дюйма), 5 плоских шайб (1/2 дюйма) и 3 контргаек (1/2 дюйма), как показано на Рисунок 18.
Note: Убедитесь, что 2 плоские шайбы (1/2 дюйма) установлены снаружи, как показано на Рисунок 18.

Затяните 3 болта с фланцевыми головками (1/2 x 3 дюйма) с моментом от 94 до 108 Н∙м.
Повторите эти действия с другой стороны.
Детали, требуемые для этой процедуры:
| Защитная дуга | 1 |
| Болт с фланцевой головкой (1/2 x 3-1/2 дюйма) | 4 |
| Контргайка (1/2 дюйма) | 4 |
Note: Вместе с помощником поднимите защитную дугу, чтобы установить ее на место.
Прикрепите 1 сторону защитной дуги к кронштейну ROPS с помощью 2 болтов с фланцевыми головками (1/2 x 3-1/2 дюйма) и 2 контргаек (1/2 дюйма), как показано на Рисунок 19.

Затяните 2 болта с фланцевыми головками (1/2 x 3-1/2 дюйма) с моментом от 94 до 108 Н∙м.
Повторите эти действия с другой стороны.
Установите левую боковую панель при помощи ранее снятых 4 винтов с головками Torx (M6,0 x 22 мм), как показано на Рисунок 7.
Прикрепите кронштейн зарядного устройства к левой боковой панели при помощи ранее снятых 4 винтов с внутренним шестигранником типа Torx (M6,0 x 22 мм), как показано на Рисунок 6.
Прикрепите зарядное устройство и его кабель к кронштейну зарядного устройства (Рисунок 5).
Повторите действие, описанное в пункте 1, на правой стороне.
Подсоедините аккумулятор; см. Руководство оператора для вашей машины.
Note: Подсоедините аккумуляторы в правильной последовательности. Подсоедините главный положительный кабель аккумулятора (красный), затем подсоедините главный отрицательный кабель аккумулятора (черный).
Установите каждую боковую панель при помощи ранее снятых винтов с головками Torx (M6,0 x 22 мм), как показано на Рисунок 9 и Рисунок 11.
Прикрепите основание аккумуляторной батареи к правой стороне с помощью 2 ранее снятых болтов с фланцевыми головками (5/16 x 2-3/4 дюйма), как показано на Рисунок 11.
Подсоедините положительный (+) кабель к аккумуляторной батарее и закрепите его с помощью болта и гайки (Рисунок 10).
Подсоедините отрицательный (-) кабель к аккумуляторной батарее и закрепите его с помощью болта и гайки (Рисунок 10).
Прикрепите топливный бак к его поддону при помощи ранее снятого фланцевого болта (Рисунок 8).
Прикрепите прижим к левой боковой панели при помощи 2 ранее снятых винтов (Рисунок 8).
Подсоедините вентиляционную трубку и топливный трубопровод к топливному баку (Рисунок 8).
Детали, требуемые для этой процедуры:
| Ремень безопасности | 2 |
| Фиксатор сиденья | 2 |
| Болт с шестигранной головкой (7/16 x 1 дюйм) | 4 |
| Плоская шайба (7/16 дюйма) | 8 |
| Контргайка (7/16 дюйма) | 4 |
Установите фиксатор сиденья с помощью болта с шестигранной головкой (7/16 x 1 дюйм), 2 плоских шайб (7/16 дюйма) и контргайки (7/16 дюйма), как показано на Рисунок 20.

Затяните болт с шестигранной головкой (7/16 x 1 дюйм) с моментом от 68 до 81 Н∙м.
Повторите действия, описанные в пунктах 1 и 2, чтобы установить другой фиксатор сиденья.
Установите ремень безопасности с помощью болта с шестигранной головкой (7/16 x 1 дюйм), 2 плоских шайб (7/16 дюйма) и контргайки (7/16 дюйма), как показано на Рисунок 21.

Затяните болт с шестигранной головкой (7/16 x 1 дюйм) с моментом от 68 до 81 Н∙м.
Повторите действия, описанные в пунктах 4 и 5, чтобы установить другой ремень безопасности.
Установите сиденье в сборе на штифты и опустите его (Рисунок 22).

Детали, требуемые для этой процедуры:
| Левая опора ветрового стекла | 1 |
| Правая опора ветрового стекла | 1 |
| Передняя опора | 1 |
| Задняя опора навеса | 1 |
| Левый передний монтажный кронштейн | 1 |
| Правый передний монтажный кронштейн | 1 |
| Левый задний монтажный кронштейн | 1 |
| Правый задний монтажный кронштейн | 1 |
| Левая задняя угловая вставка | 1 |
| Правая задняя угловая вставка | 1 |
| Левая передняя угловая вставка | 1 |
| Правая передняя угловая вставка | 1 |
| Передняя поперечина | 1 |
| Поперечная труба | 2 |
| Фланцевая гайка (5/16 дюйма) | 28 |
| Гайка (1/4 дюйма) | 2 |
| Болт с шестигранной фланцевой головкой (1/4 x 1-1/2 дюйма) | 2 |
| Каретный болт (5/16 x 3-1/4 дюйма) | 16 |
| Болт с шестигранной фланцевой головкой (5/16 x /1 дюйм) | 2 |
| Каретный болт (5/16 x 2-3/4 дюйма) | 6 |
| Каретный болт (5/16 x 1 дюйм) | 4 |
Note: Не затягивайте никакие крепежные детали, кроме указанных в руководстве.
Просверлите два отверстия (5/16 дюйма) по размерам, указанным на Рисунок 23, в наружных поверхностях панели пола с левой и правой стороны машины.

Просверлите одно отверстие (5/16 дюйма) по размерам, указанным на Рисунок 24, в наружной поверхности подножной панели с левой и правой стороны машины.

Прикрепите средний кронштейн левой и правой опор ветрового стекла к машине с помощью 2 болтов с шестигранными фланцевыми головками (5/16 x 1 дюйм) и 2 гаек (5/16 дюйма), используя просверленные вами отверстия (Рисунок 25).

Прикрепите нижний кронштейн левой и правой опор ветрового стекла к машине с помощью 4 каретных болтов (5/16 x 1 дюйм) и 4 фланцевых гаек (5/16 дюйма), используя отверстия, просверленные при выполнении пункта 1 (Рисунок 26).

Используйте 2 каретных болта (5/16 x 2-3/4 дюйма) и 2 фланцевые гайки (5/16 дюйма) для крепления задней опоры навеса и задней решетки к защитной дуге (Рисунок 27).

Используйте 4 каретных болта (5/16 x 2-3/4 дюйма) и 4 гайки (5/16 дюйма) для крепления задних монтажных кронштейнов и задних угловых вставок к защитной дуге (Рисунок 28).

Установите, не затягивая, поперечные трубы на задние монтажные кронштейны и задние угловые вставки, используя 4 каретных болта (5/16 x 1-3/4 дюйма) и 4 фланцевые гайки (5/16 дюйма), как показано на Рисунок 29.

Установите, не затягивая, передние монтажные кронштейны и передние угловые вставки на поперечные трубы и опоры ветрового стекла, используя 8 каретных болтов (5/16 x 1-3/4 дюйма) и 8 фланцевых гаек (5/16 дюйма), как показано на Рисунок 29.
Установите, не затягивая, переднюю поперечину на передние монтажные кронштейны и угловые вставки, используя 4 каретных болта (5/16 x 1-3/4 дюйма) и 4 фланцевые гайки (5/16 дюйма), как показано на Рисунок 30.

Используйте 2 болта с шестигранными фланцевыми головками (1/4 x 1-1/2 дюйма) и 2гайки для крепления передней опоры к передней поперечине (Рисунок 31).

Затяните все незатянутые детали крепления.
Детали, требуемые для этой процедуры:
| Солнцезащитный навес | 1 |
| Зажим | 2 |
| Уплотнительная шайба | 4 |
| Болт с шестигранной фланцевой головкой (1/4 x /1 дюйм) | 4 |
| Фрикционная шайба | 2 |
| Пластмассовая шайба | 4 |
| Фланцевая втулка | 2 |
Установите солнцезащитный навес на передние пластины, используя два зажима, две уплотнительные гайки и два болта с шестигранными фланцевыми головками (1/4 x 1 дюйм), как показано на Рисунок 32.
Important: Нанесите стопорящий состав для резьбы на болты с шестигранными фланцевыми головками перед их установкой.

Установите солнцезащитный навес на заднюю поперечину при помощи двух болтов с шестигранными фланцевыми головками (1/4 x 1 дюйм), двух уплотнительных шайб, двух фрикционных шайб, 4 пластмассовых шайб и двух фланцевых втулок (Рисунок 33).
Important: Нанесите стопорящий состав для резьбы на болты с шестигранными фланцевыми головками перед их установкой.
Important: Убедитесь в том, что пластмассовые шайбы установлены в верхней и нижней части солнцезащитного навеса, так как они предотвращают его повреждение.
