KALIFORNIEN
Proposition 65 Varning
Användning av produkten kan orsaka kemikalieexponering som av den amerikanska delstaten Kalifornien anses orsaka cancer, fosterskador och andra fortplantningsskador.
Ta inte bort vältskyddet från maskinen.
Kontrollera att säkerhetsbältet är fastspänt och att du kan knäppa upp det snabbt i en nödsituation.
Var mycket uppmärksam på hinder som kan finnas ovanför dig och vidrör dem inte.
Håll vältskyddet i säkert bruksskick genom att regelbundet inspektera det noga och kontrollera att det inte är skadat, samt hålla alla fästelement åtdragna.
Byt ut ett skadat vältskydd. Reparera eller ändra det inte.
Vältskyddet är en inbyggd säkerhetsanordning.
Använd alltid säkerhetsbältet.
![]() |
Säkerhetsdekalerna och säkerhetsinstruktionerna är fullt synliga för föraren och finns nära alla potentiella farozoner. Ersätt dekaler som har skadats eller saknas. |

Parkera maskinen på en plan yta.
Lägg i parkeringsbromsen.
Stäng av motorn och tag ut nyckeln.

För sätet framåt till uppfällt läge.
Skjut sätet åt sidan utanför tapparna och lyft sätet uppåt (Figur 2).

Ta bort laddaren och laddarkabeln från laddarens fäste (Figur 5).

Använd en T30-hylsnyckel för att avlägsna de fyra torxskruvar (M6,0 x 22 mm) som håller fast laddarens fäste på den vänstra sidopanelen (Figur 6).

Använd en T30-hylsnyckel för att avlägsna de fyra torxskruvarna (M6,0 x 22 mm) på den vänstra sidopanelen, och ta sedan bort panelen (Figur 7).

Upprepa steg 3 på höger sida.
Koppla loss batterierna. Se maskinens bruksanvisning.
Note: Var noga med att följa rutinen för losskoppling av batterierna. Koppla bort huvudminuskabeln (svart) och därefter huvudpluskabeln (röd).
Koppla bort luftningsröret och bränsleslangen från bränsletanken (Figur 8).
Under vissa förhållanden är bränsle extremt brandfarligt och mycket explosivt. Brand eller explosion i bränsle kan orsaka brännskador och materiella skador.
Töm bränsletanken på bränsle när motorn är kall. Gör det på en öppen plats utomhus. Torka upp utspillt bränsle.
Rök aldrig när du handskas med bensin och håll dig borta från öppen och eller platser där bensinångor kan antändas av gnistor.
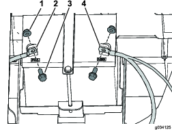
Avlägsna de 2 skruvarna som håller fast låsblocket på vänsterpanelen. Ta därefter bort låsblocket (Figur 8).
Avlägsna flänsskruven som håller fast bränsletanken på tankbrickan och ta bort bränsletanken (Figur 8).

Använd en T30-hylsnyckel för att avlägsna de sex torxskruvarna (M6,0 x 22 mm) på den vänstra sidopanelen, och ta sedan bort panelen (Figur 9).

Lossa minuskabeln (–) från batteriet och därefter pluskabeln (+) enligt Figur 10.

Avlägsna de två flänsskruvarna (5/16 x ¾ tum) som håller fast batterilådan på ramen. Använd en T30-hylsnyckel för att avlägsna de fyra torxskruvar (M6,0 x 22 mm) som håller fast den högra sidopanelen, och ta sedan bort panelen (Figur 11).
Note: Batteriet avlägsnas tillsammans med den högra sidopanelen enligt Figur 11.

Avlägsna de tio plastnitarna och kabelbandet från varje gummiskydd och ta sedan bort gummiskydden (Figur 12).

Justera vältskyddets fäste så det passar ihop med de båda hålen bakom sätessockeln och hålet på framsidan av ramrännan enligt Figur 13.

Fäst vältskyddsfästet på plats med hjälp av en klämma.
Märk ut platserna för hålen på vältskyddsfästet (Figur 13).
Borra tre hål (13,5 mm i diameter) i ramen med ett vältskyddsfäste som vägledning (Figur 14).
Var försiktig när du borrar hål i den högra sidan av ramen på den elektriska maskinen.
Om du borrar för djupt kan det skada batterierna eller andra komponenter.

Gör likadant på den andra sidan.
Klipp till gummiskydden enligt de mått som anges i Figur 15.
Note: Skårorna i gummiskyddet ger dig utrymme att montera vältskyddsfästena.

Delar som behövs till detta steg:
| Kabelband | 2 |
| Plastnitar | 4 |
Montera gummiskydden med de tio plastnitarna och kabelbanden som du tog bort tidigare (Figur 16).
Om nitarna som du tog bort tidigare är skadade eller saknas kan du byta ut dem mot nitarna som ingår i den här satsen.

Skär till sidopanelerna enligt de mått som anges i Figur 17.

Delar som behövs till detta steg:
| Vänster vältskyddsfäste | 1 |
| Höger vältskyddsfäste | 1 |
| Flänsskruv (½ x 3 tum) | 6 |
| Planbricka (½ tum) | 10 |
| Låsmutter (½ tum) | 6 |
Delar som behövs till detta steg:
| Vältskydd | 1 |
| Flänsskruv (½ x 3½ tum) | 4 |
| Låsmutter (½ tum) | 4 |
Note: Ta hjälp av en annan person för att lyfta upp störtbågen.
Fäst ena sidan av störtbågen på vältskyddsfästet med två flänsskruvar (½ x 3½ tum) och två låsmuttrar (½ tum) enligt Figur 19.

Dra åt de 2 flänsskruvarna (½ x 3½ tum) till 94–108 N·m.
Gör likadant på den andra sidan.
Montera den vänstra sidopanelen med de fyra torxskruvar (M6,0 x 22 mm) som du tog bort tidigare enligt Figur 7.
Fäst laddarens fäste på vänsterpanelen med tidigare borttagna 4 torxskruvarna (M6,0 x 22 mm) enligt Figur 6.
Fäst laddaren och laddarkabeln på laddarens fäste (Figur 5).
Genomför steg 1 igen på höger sida.
Anslut batteriet. Se maskinens bruksanvisning.
Note: Var noga med att följa rutinen för anslutning av batterierna. Anslut huvudpluskabeln (röd) och därefter huvudminuskabeln (svart).
Montera båda sidopanelerna med de torxskruvar (M6,0 x 22 mm) som du tog bort tidigare enligt Figur 9 och Figur 11.
Fäst batterilådan på höger sida med de tidigare borttagna 2 flänsskruvarna (5/16 x ¾ tum) enligt Figur 11.
Anslut pluskabeln (+) till batteriet med skruven och muttern (Figur 10).
Anslut minuskabeln (–) till batteriet med skruven och muttern (Figur 10).
Fäst bränsletanken på tankbrickan med den tidigare borttagna flänsskruven (Figur 8).
Fäst låsblocket på vänsterpanelen med de tidigare borttagna 2 skruvarna (Figur 8).
Anslut luftningsröret och bränsleslangen till bränsletanken (Figur 8).
Delar som behövs till detta steg:
| Säkerhetsbälte | 2 |
| Sätesspärr | 2 |
| Sexkantsskruv (7/16 x 1 tum) | 4 |
| Planbricka (7/16 tum) | 8 |
| Låsmutter (7/16 tum) | 4 |
Montera ena säteslåset med en sexkantsskruv (7/16 x 1 tum), 2 planbrickor (7/16 tum) och en låsmutter (7/16 tum) enligt Figur 20.

Dra åt sexkantsskruven (7/16 x 1 tum) till 68–81 N·m.
Upprepa steg 1 och 2 för att montera den andra sitsspärren.
Montera ena säkerhetsbältet med en sexkantsskruv (7/16 x 1 tum), 2 planbrickor (7/16 tum) och en låsmutter (7/16 tum) enligt Figur 21.

Dra åt sexkantsskruven (7/16 x 1 tum) till 68–81 N·m.
Upprepa steg 4 och 5 för att montera det andra säkerhetsbältet.
Skjut på sätet på tapparna och sänk ned det (Figur 22).

Delar som behövs till detta steg:
| Vänster vindrutestöd | 1 |
| Höger vindrutestöd | 1 |
| Främre stöd | 1 |
| Bakre soltaksstöd | 1 |
| Monteringsfäste vänster fram | 1 |
| Monteringsfäste höger fram | 1 |
| Monteringsfäste vänster bak | 1 |
| Monteringsfäste höger bak | 1 |
| Hörnstödvinkel vänster bak | 1 |
| Hörnstödvinkel höger bak | 1 |
| Hörnstödvinkel vänster fram | 1 |
| Hörnstödvinkel höger fram | 1 |
| Främre tvärbindning | 1 |
| Tvärgående rör | 2 |
| Flänsmutter (5/16 tum) | 28 |
| Mutter (¼ tum) | 2 |
| Sexkantsflänsskruv (¼ x 1½ tum) | 2 |
| Vagnsskruv (5/16 x 1¾ tum) | 16 |
| Sexkantsflänsskruv (5/16 x 1 tum) | 2 |
| Vagnsskruv (5/16 x 2¾ tum) | 6 |
| Vagnsskruv (5/16 x 1 tum) | 4 |
Note: Dra bara åt eventuella fästelement om så anges.
Använd måtten som visas i Figur 23 och borra 2 hål (5/16 tum) i golvplattans utsida på maskinens vänstra och högra sida.

Använd måtten som visas i Figur 24 och borra 1 hål (5/16 tum) i fotgavelns utsida på maskinens vänstra och högra sida.

Fäst vänster och höger vindrutestöds mittfäste på maskinen med två sexkantsflänsskruvar (5/16 x 1 tum) och två muttrar (5/16 tum) i hålen du borrade (Figur 25).

Fäst vänster och höger vindrutestöds nedre fäste på maskinen med fyra vagnsskruvar (5/16 x 1 tum) och fyra flänsmuttrar (5/16 tum) i hålen du borrade i steg 1 (Figur 26).

Fäst det bakre soltaksstödet och det bakre gallret vid störtbågen med två vagnsskruvar (5/16 x 2¾ tum) och två flänsmuttrar (5/16 tum) (Figur 27).

Fäst de bakre monteringsfästena och de bakre hörnstödvinklarna vid störtbågen med fyra vagnsskruvar (5/16 x 2¾ tum) och fyra muttrar (5/16 tum) (Figur 28).

Montera de tvärgående rören löst vid de bakre monteringsfästena och de bakre hörnstödvinklarna med fyra vagnsskruvar (5/16 x 1¾ tum) och fyra flänsmuttrar (5/16 tum) enligt Figur 29.

Montera de främre monteringsfästena och de främre hörnstödvinklarna löst vid de tvärgående rören och vindrutestöden med åtta vagnsskruvar (5/16 x 1¾ tum) och åtta flänsmuttrar (5/16 tum) enligt Figur 29.
Montera den främre tvärbindningen löst vid de främre monteringsfästena och hörnstödvinklarna med fyra vagnsskruvar (5/16 x 1¾ tum) och fyra flänsmuttrar (5/16 tum) enligt Figur 30.

Fäst det främre stödet på den främre tvärbindningen med två sexkantsflänsskruvar (¼ x 1½ tum) och två muttrar (¼ tum) (Figur 31).

Dra åt alla lösa fästelement.
Delar som behövs till detta steg:
| Solskärm | 1 |
| Klämma | 2 |
| Tätningsbricka | 4 |
| Sexkantsflänsskruv (¼ x 1 tum) | 4 |
| Friktionsbricka | 2 |
| Plastbricka | 4 |
| Flänsbussning | 2 |
Montera solskärmen på de främre plattorna med två klämmor, två tätningsbrickor och två sexkantsskruvar (¼ x 1 tum) enligt Figur 32.
Important: Stryk på gängtätningsmassa på sexkantsskruvarna innan du monterar.

Montera solskärmen på den bakre tvärbindningen med två sexkantsskruvar (¼ x 1 tum), två tätningsbrickor, två friktionsbrickor, fyra plastbrickor och två flänsbussningar (Figur 33).
Important: Stryk på gängtätningsmassa på sexkantsskruvarna innan du monterar.
Important: Kontrollera att plastbrickorna har monterats på både överdelen och underdelen på solskärmen eftersom detta förhindrar att solskärmen skadas.
