Parker maskinen p en plan overflade.
Snk klippeenhederne.
Aktiver parkeringsbremsen.
Sluk motoren, og tag nglen ud.
Note: Drn alt brndstoffet fra tanken.
Close sectionNote: Medmindre andet er angivet, skal du gemme de eksisterende fastgrelsesanordninger til montering af den nye brndstoftank.
Frakobl det negative batterikabel (-) fra batteriet, og flyt klemmen vk fra batteripolen (Figure 1).

Fjern opbevaringsrummet fra maskinen ved at fjerne de 3fastgrelsesanordninger og 3spndeskiver p indersiden af opbevaringsrummet (Figure 2).


Fjern skillepladens dksel ved at fjerne de 4fastgrelsesanordninger, 4fjederskiver og 4spndeskiver (Figure 3).

Fjern slangen fra brndstoffilterindsugningen (Figure 4).
Note: Vr opmrksom p slangefringen, og gem slangeklemmen til senere montering.

Luk brndstoffilterindsugningen og brndstofslangen af. Fr slangen bagud mod brndstoftanken og igennem chassisstellet. Fjern slangekappen, og drn eventuelt resterende brndstof i tanken til en egnet beholder.
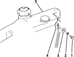
Fjern slangen fra det brndstoftankens returfitting og dksel (Figure 5).
Note: Gem slangeklemmen til senere montering.


Fjern fastgrelsesanordningen, fjederskiven og spndeskiven som er anbragt forrest p tanken p indersiden af hjulkassen (Figure 6).


Fjern de 2fastgrelsesanordninger, 2fjederskiver og 2spndeskiver, der fastgr brndstoftanken til brndstoftankbeslaget (Figure 7).

Fjern fastgrelsesanordningen, fjederskiven og spndeskiven, der fastgr brndstoftanken til skillepladebeslaget (Figure 8).

Fjern brndstoftanken fra maskinen.
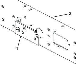
Fjern de 2fastgrelsesanordninger, 2fjederskiver og 2spndeskiver, der fastgr brndstoftankbeslaget til maskinen (Figure 9).

Fjern brndstoftankbeslaget og mtrikstangen fra maskinen, og kassr brndstoftankbeslaget.
Fjern slangen fra brndstoftankens aftapningspunkt og dksel.
Note: Gem slangen og klemmen til senere montering.
Dele, der skal bruges til dette trin:
| Brndstoftank | 1 |
| Skabelon | 1 |
| Beslag | 1 |
| Krans | 1 |
| Kabelbnd | 2 |
Anbring skabelonen p maskinchassiset, og udstans huller i chassiset (Figure 10).

Anbring skabelonen eller tilsvarende p indersiden af chassisstellet, der hvor hullerne skal bores, for at forhindre skader p slangen.
Bor 2huller – 12,5mm i diameter.
Monter det nye brndstoftankbeslag med den eksisterende mtrikstang, 2fastgrelsesanordninger, 2fjederskiver og 2spndeskiver, og fastgr dem med et tilspndingsmoment p 80Nm. Se Figure 11.

St den nye brndstoftank p plads, fr brndstoftankens udgangsslange til brndstoffilterindsugningen, og monter slangeklemmen, du fjernede tidligere.
Fastgr brndstoftanken forrest p indersiden af hjulkassen med den eksisterende fastgrelsesanordning, fjederskive og spndeskive, og fastgr dem med et tilspndingsmoment p 10Nm.
Important: Overskrid ikke momentvrdien p 10Nm, da dette vil beskadige brndstoftanken.
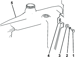
Fastgr brndstoftanken p beslaget med de eksisterende 2fastgrelsesanordninger, 2fjederskiver og 2spndeskiver, og fastgr dem med et tilspndingsmoment p 10Nm. Se Figure 12.

Important: Overskrid ikke momentvrdien p 10Nm, da dette vil beskadige brndstoftanken.
Fastgr brndstoftanken p skillepladebeslaget med den eksisterende fastgrelsesanordning, fjederskive og spndeskive, og fastgr dem med et tilspndingsmoment p 10Nm. Se Figure 13.
Important: Overskrid ikke momentvrdien p 10Nm, da dette vil beskadige brndstoftanken.

Fjern brndstofmlerens krans, og monter den krans, der flger med sttet (Figure 14).

Monter brndstofmleren og brndstofdkslet p den nye tank.
Nr slangerne er placeret korrekt, skal de fastgres med kabelbndene p samme mde, som de blev monteret tidligere.
Monter skillepladens dksel med de 4fastgrelsesanordninger, 4fjederskiver og 4spndeskiver, du fjernede tidligere, og fastgr dem med et tilspndingsmoment p 10Nm. Se Figure 3.
Monter sideopbevaringsrummet med de eksisterende 3fastgrelsesanordninger og 3spndeskiver, og stram til med hnden (Figure 2).
Monter klemmen p det negative batterikabel (-) p batteriets minuspol (Figure 1).
Fyld den nye brndstoftank efter behov.
Note: Brug en tragt om ndvendigt.
Udluft brndstofsystemet om ndvendigt.