Parkera maskinen p en plan yta.
Snk klippenheterna.
Koppla in parkeringsbromsen.
Stng av motorn och ta ut nyckeln.
Note: Tappa ur allt brnsle ur tanken.
Close sectionNote: Svida inget annat anges ska du spara de befintliga fstelementen fr montering av den nya brnsletanken.
Lossa minuskabeln (-) frn batteriet och ta bort klmman frn batteripolen (Figure 1).

Avlgsna frvaringsutrymmet frn maskinen genom att ta bort de tre fstelementen och de tre brickorna p insidan av frvaringsutrymmet (Figure 2).


Avlgsna motorvggens hlje genom att ta bort de fyra fstelementen, de fyra fjderbrickorna och de fyra brickorna (Figure 3).

Ta bort slangen frn brnslefiltrets inlopp (Figure 4).
Note: Notera slangfringen och spara slangklmman fr senare montering.

Tck ver brnslefiltrets inlopp och brnsleslangen. Dra slangen bakt mot brnsletanken och genom chassiskenan. Ta bort skyddet p slangen och tm ur allt brnsle som finns kvar i tanken i en lmplig behllare.
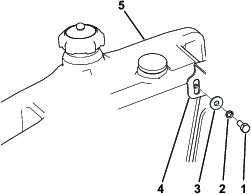
Ta bort slangen frn brnsletankens returanslutning och tck ver (Figure 5).
Note: Spara slangklmman fr senare montering.


Ta bort fstelementet, fjderbrickan och brickan p tankens framsida, precis innanfr hjulet (Figure 6).


Ta bort de tv fstelementen, de tv fjderbrickorna och de tv brickorna som hller fast brnsletanken vid dess fste (Figure 7).

Ta bort fstelementet, fjderbrickan och brickan som hller fast brnsletanken p motorvggsfstet (Figure 8).

Ta bort brnsletanken frn maskinen.
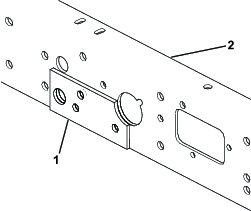
Ta bort de tv fstelementen, de tv fjderbrickorna och de tv brickorna som hller fast brnsletankens fste p maskinen (Figure 9).

Ta bort brnsletankens fste och mutterplattan frn maskinen. Kassera brnsletankens fste.
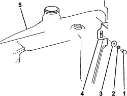
Ta bort slangen frn brnsletankens utlopp och tck ver.
Note: Spara slangen och klmman fr senare montering.
Delar som behövs till detta steg:
| Brnsletank | 1 |
| Mall | 1 |
| Fste | 1 |
| Hylsa | 1 |
| Kabelband | 2 |
Placera mallen ver maskinens chassi och mrk ut hlen i chassit med en krnare (Figure 10).

Placera mallen eller liknande p insidan av chassiskenan dr hlen ska borras fr att frhindra skador p slangarna.
Borra tv hl med en diameter p 12,5mm.
Montera den nya brnsletankens fste med den befintliga mutterplattan, de tv fstelementen, de tv fjderbrickorna och de tv brickorna. Dra t dem till 80Nm. Se Figure 11.

Stt den nya brnsletanken p plats och dra brnsletankens utloppsslang till brnslefiltrets inlopp. Fst med slangklmman som du tog bort tidigare.
Fst brnsletanken vid framsidan innanfr hjulet med hjlp av det befintliga fstelementet, fjderbrickan och brickan och dra t dem till 10Nm.
Important: verskrid inte 10Nm d detta kan skada brnsletanken.
Fst brnsletanken p fstet med de befintliga tv fstelementen, de tv fjderbrickorna och de tv brickorna. Dra t dem till 10Nm. Se Figure 12.

Important: verskrid inte 10Nm d detta kan skada brnsletanken.
Fst brnsletanken p motorvggens fste med det befintliga fstelementet, fjderbrickan och brickan. Dra t dem till 10Nm. Se Figure 13.
Important: verskrid inte 10Nm d detta kan skada brnsletanken.

Ta bort hylsan p brnslemtaren och montera den hylsa som ingr i satsen (Figure 14).

Montera brnslemtaren och tanklocket p den nya tanken.
Nr slangarna r korrekt placerade ska du fsta dem med kabelband s som de var monterade frut.
Montera motorvggens hlje med de fyra fstelement, fyra fjderbrickor och fyra brickor som du tog bort tidigare. Dra t dem till 10Nm. Se Figure 3.
Montera frvaringsutrymmet med de befintliga tre fstelementen och tre brickorna. Dra t dem fr hand s att de sitter t (Figure 2).
Placera klmman ver minuskabeln (-) p batteriets minuspol (Figure 1).
Fyll den nya tanken efter behov.
Note: Anvnd en tratt om s behvs.
Lufta brnslesystemet vid behov.