Vedligeholdelse
Smring af redskabsadapteren
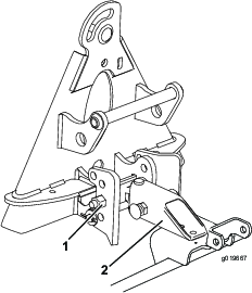
Hvis lftegrebet p redskabsadapteren ikke drejer frit og nemt, kan et tyndt lag fedt pfres p det omrde, der er vist i Figure 18

Ls denne vejledning omhyggeligt, s du kan lre at betjene og vedligeholde produktet korrekt samt undg person- og produktskade. Det er dit ansvar at betjene produktet korrekt og sikkert.
Du kan kontakte Toro direkte p www.Toro.com for at f oplysninger om produkter og tilbehr, hjlp til at finde en forhandler og for at registrere dit produkt.
Nr du har brug for service, originale Toro-dele eller yderligere oplysninger, bedes du kontakte en autoriseret serviceforhandler eller Toros kundeservice samt have produktets model- og serienummer parat. Figure 1 viser model- og serienummerets placering p produktet. Skriv numrene, hvor der er gjort plads til dette.

Denne betjeningsvejledning advarer dig om mulige farer og giver dig srlige sikkerhedsoplysninger ved hjlp af advarselssymbolet (Figure 2), der angiver en fare, som kan forrsage alvorlig personskade eller dd, hvis du ikke flger de anbefalede forholdsregler.

Denne betjeningsvejledning bruger 2ord til at fremhve oplysninger. Vigtigt henleder opmrksomheden p srlige mekaniske oplysninger, og Bemrk angiver generel information, som det er vrd at lgge srligt mrke til.
CALIFORNIA
Proposition 65 Warning
Dette produkt indeholder et eller flere kemikalier, der ifølge staten Californien er kræftfremkaldende og giver medfødte defekter eller forplantningsskader.
Brug af dette produkt kan medføre eksponering over for kemikalier, der ifølge staten Californien er kræftfremkaldende og giver medfødte defekter eller andre forplantningsskader.
![]() |
Sikkerheds- og instruktionsmrkaterne kan nemt ses af operatren og er placeret tt p potentielle risikoomrder. Udskift eventuelle beskadigede eller manglende mrkater. |

Dele, der skal bruges til dette trin:
| Rivesamling | 1 |
| Rrtrkstang | 1 |
| Gaffelbolt | 1 |
| Spndeskive | 2 |
| Lseclips | 1 |
| Bolt (" x 1") | 1 |
| Flangehovedmtrik (") | 1 |
| Sekskantmtrik (") | 1 |
| Flangehovedbolt ("x1") | 1 |
| Flangehovedmtrik (") | 1 |
| Redskabsadapter | 1 |
| Lseclips | 2 |
| Lftearmsenhed | 1 |
| Drejestang | 1 |
| Bolt (" x 1") | 1 |
| Lsemtrik (") | 1 |
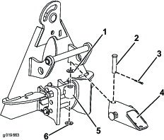
Fastgr rrtrkstangen til trksamlingen med en gaffelbolt, 2 spndeskiver og en lsestift, og placer den som vist i Figure 3
Note: Rrtrkstangen kan monteres i forskellige positioner for at ge eller snke rivernes aggressivitet i sandet. Se Indstilling af maksimalt tandindgreb i afsnittet .

Monter rrtrkstangen lst i det forreste hul i hngesamlingen (Figure 4) med en bolt ("x 1"), flangehovedmtrik (") og en sekskantmtrik (").

Monter rrtrkstangen lst i det bageste hul i hngesamlingen med en flangehovedbolt ("x 1") og en flangehovedmtrik (").
Tilspnd mtrikkerne som flger:
Flangehovedmtrik (") – 104 til 126Nm
Sekskantmtrik (") – 91 til 113Nm
Flangehovedmtrik (") – 22 til 27Nm
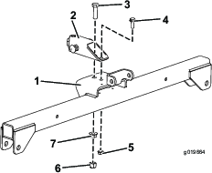
Juster lftearmen, s den flugter med beslaget p redskabsadapteren (Figure 5), og forbind dem vha. drejestangen som vist i Figure 6.
Note: Nr redskabsadapteren bevges, skal hndtaget bag p adapteren bruges (Figure 5).


Fastgr drejestangen (Figure 6) med 3lseclips, en bolt ("x1") og en lsemtrik (").
Dele, der skal bruges til dette trin:
| Bolt ("x 2") | 2 |
| Spndeskive ("x ") | 4 |
| Afstandsklods | 2 |
| Lsemtrik (") | 2 |
Fjern eventuelle redskaber fra bagenden af maskinen.
Snk traktionsenhedens adapter, og bak, s traktionsenheden er placeret foran redskabsadapteren.
Note: Srg for, at lftegrebet er drejet mod venstre (ulst position) set fra maskinens bagende.
St redskabsadapteren fast p traktionsenhedens adapter.
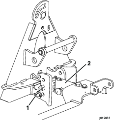
Important: Lftearmenhedens lange arm skal placeres under traktionsenhedens bageste ramme (Figure 7).
Du kan f fingrene i klemme mellem redskabsadapteren og traktionsenhedens adapter.
Nr redskabet lftes og flyttes, skal du altid bruge hndtaget bag p redskabsadapteren(Figure 7).
Drej lftegrebet mod hjre for at lse adapterne sammen.
Fastgr det verste forbindelsesled p hver kde p ydersiden af lftearmen (Figure 7) vha. en bolt ("x 2"), 2spndeskiver (3/8x7/8tomme), en afstandsbsning og en lsemtrik (3/8tomme).

Note: Kderne skal vre slkkede, nr riven er i snket (drifts)-position for, at riven fungerer korrekt.
Note: Srg for, at alle efterbehandlingsriverne overlapper korrekt, s de ligger fladt, og ingen af kderne er snoede eller viklet ind i hinanden.
Nr riven er monteret og fastgjort p traktionsenheden, skal du hve redskabet.
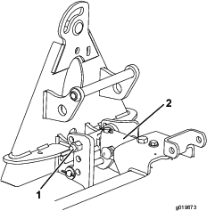
Ml afstanden mellem den kraftige spndeskive og lftegaflens ansats p redskabsadapteren som vist i Figure 8.
Note: Forbindelsesleddet er indstillet korrekt, hvis afstanden mellem den kraftige spndeskive og lftegaflens ansats er mellem 1,5 til 2mm (Figure 8).

Hvis afstanden ikke er korrekt, skal kontramtrikken lsnes, og justermtrikken p forbindelsesledet skal strammes eller lsnes efter behov for at ndre afstanden (Figure 8).
Ls dette afsnit om rivning, inden du river en bunker. Der er mange forhold, der bestemmer, hvordan standardriven skal justeres. Sandets struktur og dybde, fugtindhold, ukrudt og komprimeringsgrad kan variere fra bane til bane og endda p samme bane fra bunker til bunker. Foretag de ndvendige justeringer af riven for at opn optimale resultater i dit omrde.
v dig i at rive p en stor og jvn bunker p banen. v dig i at starte og stoppe, dreje, hve og snke riven, kre ind og ud af bunkere osv. Du kan ogs ve dig i at ndre motorens hastighed og kre ved lav hastighed. Ved at ve disse procedurer vil du blive mere fortrolig med, hvordan maskinen betjenes.
Note: Undg at bakke med traktionsenheden, nr redskabet er snket. Det kan medfre beskadigelse af redskabet.
Close sectionHvis sandet er tilstrkkeligt dybt, kan du rive helt op til kanten af bunkeren p jvne omrder.
Hvis sandet grnser op til plnen, skal du holde dig tilstrkkeligt langt vk fra kanten til at undg at pvirke den underliggende jord.
Du m ikke rive for tt p en kort, stejl skrning. Sandet vil blot flyde ned i bunden af bunkeren.
Det kan vre ndvendigt at g efter med en hndrive p stejle skrninger, sm fordybninger osv.
Close sectionRiv bunkeren i henhold til mnsteret vist i Figure 10. Dette mnster modvirker undvendige overlapninger, holder kompakteringen p et minimum og sikrer, at der opns et pnt, attraktivt mnster i sandet.
Kr ind i den lange del af bunkeren, hvor skrningen har den mindste hldning. Kr gennem midten af bunkeren og nsten helt ned i bunden, drej s skarpt som muligt i begge retninger, og kr tilbage, s du er placeret lige ved siden af den frste arbejdsgang. Foretag spiralformet krsel udad som vist p tegningen, og forlad bunkeren i en lige vinkel p et jvnt omrde.
Udbedr omrder p stejle, korte skrninger og sm fordybninger med en hndrive.

Nr du krer ind i en bunker, skal du ikke snke riven, fr den befinder sig over sandet. P den mde undgr du at rive op i plnen eller trkke afklippet grs eller andet affald ned i bunkeren. Snk riven, mens maskinen er i bevgelse.
Nr du forlader bunkeren, skal du begynde at hve riven, nr forhjulet forlader bunkeren. Efterhnden som maskinen bevger sig ud af bunkeren, hves riven, s den ikke trkker sand ud p grsset.
I takt med at du fr erfaring og velse med maskinen vil du blive bekendt med den rette timing for krsel ind og ud af bunkeren.
Close sectionDu kan ndre rivens vinkel med henblik p at ge eller mindske rivens aggressive sandbehandling. Bestem den nskede aggressivitet, og monter trksamlingen og rrtrkstangen som vist i flgende figurer for at opn aggressiviteten.

Monter trksamlingen i stopbeslagets verste huller (Figure 11).
Ret den lange side af rrtrkstangen opad, og monter den p undersiden af hngesamlingen (Figure 11).

Monter trksamlingen i stopbeslagets nederste huller (Figure 12).
Ret den lange side af rrtrkstangen opad, og monter den p undersiden af hngesamlingen (Figure 12).

Monter trksamlingen i stopbeslagets verste huller (Figure 13).
Ret den lange side af rrtrkstangen nedad, og monter den p oversiden af hngesamlingen (Figure 13).

Monter trksamlingen i stopbeslagets nederste huller (Figure 14).
Ret den lange side af rrtrkstangen nedad, og monter den p oversiden af hngesamlingen (Figure 14).
Du kan justere lngden af trkpladerne ved at ge eller mindske dybden af tndernes gennemtrngning.
Lsn monteringsskruerne p trkpladen, flyt trkpladen op eller ned, s den har den nskede position, og stram skruerne (Figure 15).

Lsn kontramtrikkerne, og drej rivens stopbolte (Figure 16) udad for at begrnse rivens bevgelser fra side til side. Stram kontramtrikkerne for at lse justeringen.

Hvis sandet er fugtigt eller groft, eller hvis der er dybe fodspor i bunkerne, kan du montere yderligere vgte p efterbehandlingsriverne. Bestil delnr. 18-7570 fra din autoriserede Toro-forhandler.
Close sectionGennemfr flgende procedure for at ge rivens hjde, nr du transporterer maskinen:
Snk riven, og lft enheden til s lav en position som muligt.
Frakobl kderne fra lftearmene, og tilkobl dem i en hjere position.
Note: For at sikre korrekt betjening af riven skal kderne sttes tilbage til den oprindelige slkkede position, inden du betjener riven.
Close sectionEfter rivning skal maskinen rengres grundigt. Da du primrt bruger maskinen i sand, og sand virker enormt slibende, skal du vaske sandet af efter hver brug. Hvis du rengr maskinen hyppigt (inden sandet klumper sig sammen), skal du rengre den med en vandslange uden dyse. Et hjt vandtryk kan presse sandet ind i slidomrder, hvor det kan virke som en slibende blanding.
Note: Hvis redskabsadapteren stter sig fast i traktionsenhedens adapter, skal du indstte et koben eller en skruetrkker i vristerillen for at skille delene ad (Figure 17).

Hvis lftegrebet p redskabsadapteren ikke drejer frit og nemt, kan et tyndt lag fedt pfres p det omrde, der er vist i Figure 18
