Wartung
Schmieren des Anbaugertadapters
Wenn sich der Sperrhebel am Anbaugertadapter nicht ungehindert und leicht drehen lsst, fetten Sie Sie den in Figure 18 markierten Bereich mit etwas Schmiermittel ein.

Lesen Sie diese Informationen sorgfltig durch, um sich mit dem ordnungsgemen Einsatz und der Wartung des Gerts vertraut zu machen und Verletzungen und eine Beschdigung des Gerts zu vermeiden. Sie tragen die Verantwortung fr einen ordnungsgemen und sicheren Einsatz des Gerts.
Wenden Sie sich hinsichtlich Informationen zu Produkten und Zubehr sowie Angaben zu Ihrem rtlichen Vertragshndler oder zur Registrierung des Produktes direkt an Toro unter www.Toro.com.
Wenden Sie sich an Ihren Toro Vertragshndler oder Kundendienst, wenn Sie eine Serviceleistung, Toro Originalersatzteile oder zustzliche Informationen bentigen. Halten Sie hierfr die Modell- und Seriennummern Ihres Produkts griffbereit. InFigure 1 ist angegeben, wo an dem Produkt die Modell- und die Seriennummer angebracht sind. Tragen Sie hier bitte die Modell- und die Seriennummer des Gerts ein.

In dieser Anleitung werden potenzielle Gefahren angefhrt, und Sicherheitshinweise werden vom Sicherheitswarnsymbol (Figure 2) gekennzeichnet. Dieses Warnsymbol weist auf eine Gefahr hin, die zu schweren oder tdlichen Verletzungen fhren kann, wenn Sie die empfohlenen Sicherheitsvorkehrungen nicht einhalten.

In dieser Anleitung werden zwei Begriffe zur Hervorhebung von Informationen verwendet. Wichtig weist auf spezielle mechanische Informationen hin, und Hinweis hebt allgemeine Informationen hervor, die Ihre besondere Beachtung verdienen.
CALIFORNIA
Proposition 65 Warning
Dieses Produkt enthält eine Chemikalie oder Chemikalien, die laut den Behörden des Staates Kalifornien krebserregend wirken, Geburtsschäden oder andere Defekte des Reproduktionssystems verursachen.
Bei Verwendung dieses Produkts sind Sie ggf. Chemikalien ausgesetzt, die laut den Behörden des Staates Kalifornien krebserregend wirken, Geburtsschäden oder andere Defekte des Reproduktionssystems verursachen.
![]() |
Die Sicherheits- und Bedienungsaufkleber sind gut sichtbar; sie befinden sich in der Nhe der mglichen Gefahrenbereiche. Tauschen Sie beschdigte oder verloren gegangene Aufkleber aus. |

Für diesen Arbeitsschritt erforderliche Teile:
| Zusammenbau des Zahnrechens | 1 |
| Anhngerkupplungsrohr | 1 |
| Lastsenbolzen | 1 |
| Scheibe | 2 |
| Splint | 1 |
| Schraube (" x 1") | 1 |
| Bundmutter (") | 1 |
| Sechskantmutter (") | 1 |
| Bundbolzen ("x1") | 1 |
| Bundmutter (") | 1 |
| Anbaugertadapter | 1 |
| Splint | 2 |
| Hubarm | 1 |
| Gelenkstange | 1 |
| Schraube (" x 1") | 1 |
| Sicherungsmutter (") | 1 |
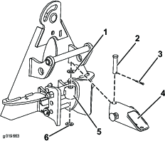
Befestigen Sie das Anhngerkupplungsrohr mit einem Lastsenbolzen, zwei Scheibe und einem Splint an der Anbauvorrichtung und positionieren Sie es so, wie in Figure 3 dargestellt.
Note: Das Anhngerkupplungsrohr kann an verschiedenen Positionen montiert werden, um die Aggressivitt des Rechens im Sand zu erhhen oder zu vermindern. Siehe Einstellen der hchsten Tines-Einstechtiefe im Abschnitt “.

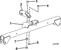
Befestigen Sie das Anhngerkupplungsrohr lose mit einer Schraube (" x 1"), einer Bundmutter (") und einer Sechskantmutter (") im vorderen Loch im Hngeprofil (Figure 4).

Befestigen Sie das Anhngerkupplungsrohr lose mit einer Bundkopfschraube (" x 1") und einer Bundmutter (") im hinteren Loch im Hngeprofil.
Ziehen Sie die Muttern wie folgt fest:
Bundmutter ("): 104-126 Nm.
Sechskantmutter ("): 91-113 Nm.
Bundmutter ("): 22-27 Nm.
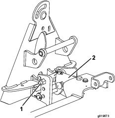
Richten Sie den Hubarm mit der Halterung am Anbaugertadapter aus (Figure 5) und schlieen Sie diese mit der Gelenkstange an, siehe Figure 6.
Note: Bewegen Sie den Anbaugertadapter mit dem Griff hinten am Adapter (Figure 5).


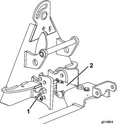
Befestigen Sie die Gelenkstange mit drei Splints und einer Schraube (" x 1") und einer Sicherungsmutter (Figure 6).
Für diesen Arbeitsschritt erforderliche Teile:
| Schraube (" x 2") | 2 |
| Scheibe ("x ") | 4 |
| Distanzstck | 2 |
| Sicherungsmutter (") | 2 |
Nehmen Sie alle Anbaugerte hinten von der Maschine ab.
Senken Sie den Zugmaschinenadapter ab und fahren Sie mit der Zugmaschine rckwrts vor den Anbaugertadapter.
Note: Stellen Sie sicher, dass der Sperrhebel nach links in die entriegelte Stellung gedreht ist (vom Heck der Maschine aus gesehen).
Schieben Sie den Anbaugertadapter auf den Zugmaschinenadapter.
Important: Der lange Arm des Hubarms muss sich unter dem Hinterrahmen der Zugmaschine befinden (Figure 7).
Sie knnen die Finger zwischen den Adaptern des Anbaugerts und der Zugmaschine einquetschen.
Sie sollten das Anbaugert immer mit dem Griff hinten am Anbaugertadapter anheben und bewegen (Figure 7).
Drehen Sie den Sperrhebel nach rechts, um die Adapter zusammen zu verriegeln.
Befestigen Sie den Oberlenker jeder Kette mit einer Schraube (" x 2"), zwei Scheiben (" x "), einem Distanzstck und einer Sicherungsmutter (") an der Auenseite des Hubarms (Figure 7).

Note: Der Rechen ist nur betriebsbereit, wenn die Ketten nicht angespannt sind, wenn der Rechen abgesenkt ist (Einsatzstellung).
Note: Stellen Sie sicher, dass alle Zahnrechen richtig berlappen, flach liegen und keine Kette verheddert oder verdreht ist.
Wenn der Rechen montiert und an der Zugmaschine befestigt ist, heben Sie das Anbaugert an.
Messen Sie den Abstand zwischen der schweren Scheibe und der Schulter des Hubjochs am Anbaugertadapter, wie in Figure 8 abgebildet.
Note: Der Lenker ist richtig eingestellt, wenn Sie zwischen der schweren Scheibe und der Schulter des Hubjochs einen Abstand von 1,5-2 mm messen (Figure 8).

Wenn der Abstand nicht richtig ist, lsen Sie die Klemmmutter und ziehen Sie die Einstellmutter am Kettenglied entsprechend an oder lsen Sie sie, um den Abstand zu ndern (Figure 8).
Lesen Sie vor dem Rechen eines Sandbunkers diesen Abschnitt zum Rechen. Es gibt viele Bedingungen, die dann die Einstellungen am Zahnrechen festlegen. Die Struktur und die Tiefe des Sands, der Feuchtigkeitsgehalt, Unkraut, der Grad der Bodenverdichtung sind Faktoren, die fr jeden Golfplatz oder sogar von einem Bunker zum nchsten auf demselben Golfplatz anders sind. Nehmen Sie die Einstellungen am Rechen vor, um die besten Ergebnisse in Ihrem Bereich zu erhalten.
ben Sie das Rechen in einem groen und flachen Bunker auf dem Golfplatz. ben Sie das Anfahren, Anhalten, Wenden, das Anheben und Absenken des Rechens, das Einfahren in und das Verlassen des Bunkers usw. ben Sie bei geringer Motordrehzahl und langsamer Fahrgeschwindigkeit. Dieser Schulungszeitraum gibt Ihnen Vertrauen im Einsatz der Maschine.
Note: Fahren Sie nicht mit der Zugmaschine rckwrts, wenn das Anbaugert abgesenkt ist. Das Anbaugert knnte beschdigt werden.
Close sectionWenn der Sand tief genug ist, knnen Sie bis an den Rand des Bunkers in flachen Bereichen rechen.
Wenn der Sand auf dem Rasen berluft, halten Sie einen ausreichenden Abstand zur Kante, um den Unterboden nicht zu beschdigen.
Rechen Sie nicht zu nahe an einem kurzen, steilen Bschung. Der Sand fliet dann zum Boden des Bunkers.
Etwas Nacharbeit mit einem Handrechen kann mglicherweise an steilen Bschungen, kleinen Bereichen usw. erforderlich sein.
Close sectionRechen Sie den Sandbunker gem des Musters, das in Figure 10 abgebildet ist. Bei diesem Muster vermeiden Sie unntige berlappungen, halten die Bodenverdichtung auf ein Minimum und Sie erhalten ein attraktives Muster auf dem Sand.
Fahren Sie in Lngsrichtung in den Bunker, wo die Bschung am geringsten ist. Fahren Sie durch die Mitte des Bunkers fast bis zum Ende, wenden Sie so eng wie mglich in eine Richtung und gehen Sie dann direkt neben die erste Bahn zurck. Bewegen Sie sich spiralfrmig zur Kante, wie im Bild dargestellt, und verlassen Sie den Bunker in einem rechten Winkel in einem flachen Bereich.
Bearbeiten Sie steile, kurze Bschungen und kleine Bereiche mit einem Handrechen nach.

Senken Sie beim Einfahren in den Bunker den Rechen erst ab, wenn er tatschlich ber dem Sand ist. Sie reien den Rasen dann nicht auf oder schleppen Schnittgut und andere Laubabflle in den Bunker. Senken Sie den Rechen ab, whrend sich die Maschine bewegt.
Beim Verlassen des Bunkers sollten Sie beginnen, den Rechen anzuheben, wenn die Vorderrder den Bunker verlassen. Wenn Sie die Maschine aus dem Bunker fahren, hebt sich der Rechen an und zieht keinen Sand auf den Rasen.
Sie werden durch Erfahrung und bung schnell ein Gefhl fr das richtige Timing zum richtigen Einfahren und Verlassen des Bunkers bekommen.
Close sectionSie knnen den Winkel des Rechens ndern, um die Tiefe zu erhhen oder zu vermindern, mit der Rechen in den Sand greift. Ermitteln Sie die bentigte Aggressivitt und montieren Sie die Anbauvorrichtung und das Anhngerkupplungsrohr so, wie in den folgenden Bildern dargestellt, dass die Aggressivitt erreicht wird.

Befestigen Sie die Anbauvorrichtung in den oberen Lchern der Anschlaghalterung (Figure 11).
Fluchten Sie die lngere Seite des Anhngerkupplungsrohr nach oben aus und montieren sie an der Unterseite des Hngeprofils (Figure 11).

Befestigen Sie die Anbauvorrichtung in den unteren Lchern der Anschlaghalterung (Figure 12).
Fluchten Sie die lngere Seite des Anhngerkupplungsrohr nach oben aus und montieren sie an der Unterseite des Hngeprofils (Figure 12).

Befestigen Sie die Anbauvorrichtung in den oberen Lchern der Anschlaghalterung (Figure 13).
Fluchten Sie die lngere Seite des Anhngerkupplungsrohr nach unten aus und montieren sie an der Oberseite des Hngeprofils (Figure 13).

Befestigen Sie die Anbauvorrichtung in den unteren Lchern der Anschlaghalterung (Figure 14).
Fluchten Sie die lngere Seite des Anhngerkupplungsrohr nach unten aus und montieren sie an der Oberseite des Hngeprofils (Figure 14).
Sie knnen die Lnge der Gltter einstellen, um die Tiefe zu erhhen oder zu verringern, mit der die Tines in den Boden eindringen.
Lsen Sie die Befestigungsschrauben des Gltters, schieben Sie den Gltter nach oben oder unten in den gewnschte Stellung und ziehen Sie die Schrauben fest (Figure 15).

Lsen Sie die Klemmmuttern und drehen Sie die Anschlagschrauben am Rechen (Figure 16) heraus, um das seitliche Schwenken des Rechens zu beschrnken. Ziehen Sie die Klemmmutter an, um die Einstellung zu arretieren.

Sie knnen optionale Gewichte am Sandrechen befestigen, wenn der Sand feucht oder grob ist oder die Sandbunker tiefe Fuspuren enthalten. Bestellen Sie Bestellnummer 18-7570 bei Ihrem offiziellen Toro Vertragshndler.
Close sectionMit den folgenden Schritten erhhen Sie die Hhe des Rechens beim Transport:
Senken Sie den Rechen und den Hub auf die niedrigste Stellung ab.
Schlieen Sie die Ketten von den Hubarmen ab und schlieen Sie diese an einer hheren Stelle wieder an.
Note: Fr eine richtige Funktion des Rechens mssen Sie die Ketten wieder in die nicht angespannte Originalstellung bringen, bevor Sie ihn verwenden.
Close sectionReinigen Sie die Maschine nach dem Rechen grndlich. Da Sie diese Maschine hauptschlich im Sand einsetzen und Sand einen hohen Abrieb hat, entfernen Sie den Sand nach jedem Einsatz. Wenn Sie die Maschine oft reinigen (bevor das Sand verkrusten kann), knnen Sie einen Wasserschlauch ohne Dse verwenden. Ein Wasserstrahl mit hohem Druck kann den Sand in die Abriebbereiche drcken, wo er als Poliermittel wirkt.
Note: Wenn der Adapter fr das Anbaugert am Adapter der Zugmaschine feststeckt, stecken Sie einen Schraubenzieher oder eine Brechstange in den Schlitz, um die Teile zu trennen (Figure 17).

Wenn sich der Sperrhebel am Anbaugertadapter nicht ungehindert und leicht drehen lsst, fetten Sie Sie den in Figure 18 markierten Bereich mit etwas Schmiermittel ein.
