Kunnossapito
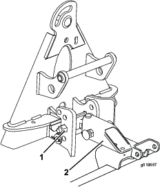
Lislaitteen sovittimen rasvaus
Jos lislaitteen sovittimessa oleva lukitusvipu ei knny vapaasti ja helposti, levit ohut kerros rasvaa (Figure 18).

Lue nm tiedot huolellisesti, jotta opit kyttmn ja huoltamaan laitetta asianmukaisesti sek vlttmn tapaturmia ja laitevaurioita. Olet itse vastuussa tuotteen asianmukaisesta ja turvallisesta kytst.
Voit ottaa yhteyden Toroon suoraan osoitteessa www.Toro.com, jos tarvitset tietoja tuotteista ja lisvarusteista, lhimmst jlleenmyyjst tai jos haluat rekisterid tuotteesi.
Aina kun tarvitset huoltoa, alkuperisi Toro-varaosia tai listietoja, ota yhteys valtuutettuun huoltoliikkeeseen tai Toron asiakaspalveluun. Ota tllin tuotteesi malli- ja sarjanumerot valmiiksi esiin. Figure 1 nytt laitteen malli- ja sarjanumeron sijainnin. Kirjoita numerot annettuun tilaan.

Tss kyttoppaassa esiintyv varoitusmerkint (Figure 2) ilmaisee vaaratilannetta, josta saattaa olla seurauksena vakava tapaturma tai jopa kuolema, jos suositellut varotoimenpiteet laiminlydn.

Tss kyttoppaassa kytetn kahta termi tietojen korostamiseksi. Trke kiinnitt huomiota mekaanisiin erikoistietoihin ja Huomautus korostaa erityishuomion ansaitsevia yleistietoja.
CALIFORNIA
Proposition 65 Warning
Tämä tuote sisältää kemikaaleja, jotka Kalifornian osavaltion tietojen mukaan aiheuttavat syöpää, synnynnäisiä epämuodostumia tai lisääntymiseen liittyvää haittaa.
Tämän tuotteen käyttäminen voi altistaa kemikaaleille, jotka Kalifornian osavaltion tietojen mukaan aiheuttavat syöpää, synnynnäisiä epämuodostumia tai muuta lisääntymiseen liittyvää haittaa.
![]() |
Turva- ja ohjetarrat on sijoitettu hyvin nkyville paikoille mahdollisten vaara-alueiden lhettyville. Korvaa vioittuneet tai kadonneet tarrat uusilla. |

Vaiheeseen tarvittavat osat:
| Harakokoonpano | 1 |
| Vetoaisaputkikokoonpano | 1 |
| Liitintappi | 1 |
| Aluslaatta | 2 |
| Sokka | 1 |
| Pultti (1/2 1-3/4 tuumaa) | 1 |
| Laippakantamutteri (1/2tuumaa) | 1 |
| Kuusiomutteri (1/2tuumaa) | 1 |
| Laippakantapultti (3/81tuumaa) | 1 |
| Laippakantamutteri (3/8tuumaa) | 1 |
| Lislaitteen sovitinkokoonpano | 1 |
| Sokka | 2 |
| Nostovarsikokoonpano | 1 |
| Niveltanko | 1 |
| Pultti (3/8 1-1/4 tuumaa) | 1 |
| Lukkomutteri (3/8tuumaa) | 1 |
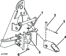
Kiinnit vetoaisaputkikokoonpano vetokytkinkoonpanoon liitintapilla, kahdella aluslaatalla ja sokalla (Figure 3).
Note: Aisaputki voidaan asentaa eri asentoihin sen mukaan, kuinka voimakkaasti hiekkaa halutaan ksitell. Katso kohta Suurimman uppoamissyvyyden asettaminen kohdassa .

Kiinnit aisaputki lyssti kannatinkokoonpanon etureikn (Figure 4) 1/21-3/4tuuman pultilla, 1/2tuuman laippakantamutterilla ja 1/2tuuman kuusiomutterilla.

Kiinnit aisaputki lyssti kannatinkokoonpanon takareikn 3/81tuuman laippakantapultilla ja 3/8tuuman laippakantamutterilla.
Kirist mutterit seuraavasti:
1/2tuuman laippakantamutteri momenttiin 104–126Nm
1/2tuuman kuusiomutteri momenttiin 91–113Nm
3/8tuuman laippakantamutteri momenttiin 22–27Nm.
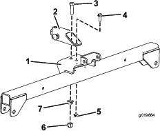
Kohdista nostovarsi lislaitteen sovittimen kiinnikkeeseen (Figure 5) ja liit ne niveltangolla (katso Figure 6).
Note: Kun liikutat lislaiteen sovitinta, kyt sen takana olevaa kahvaa (Figure 5).


Kiinnit niveltanko (Figure 6) kolmella sokalla ja pultilla (3/81-1/4tuumaa) sek lukkomutterilla (3/8tuumaa).
Vaiheeseen tarvittavat osat:
| Pultti (3/8 2-1/2 tuumaa) | 2 |
| Aluslaatta (3/8 7/8 tuumaa) | 4 |
| Vlikappale | 2 |
| Lukkomutteri (3/8tuumaa) | 2 |
Irrota mahdollinen lislaite koneen takaa.
Laske ajoyksikn sovitin alas ja peruuta ajoyksikk paikalleen lislaitteen sovittimen eteen.
Note: Varmista, ett lukitusvipu on knnetty vasemmalle (auki) koneen takaosasta katsottuna.
Liu'uta lislaitteen sovitin ajoyksikn sovittimeen.
Important: Nostovarsikokoonpanon pitkn varren on oltava ajoyksikn rungon takaosan alla (Figure 7).
Ole varovainen, etteivt sormet j lislaitteen ja ajoyksikn sovittimien vliin.
Kyt lislaitteen nostoon ja siirtoon aina lislaitteen sovittimen takana olevaa kahvaa (Figure 7).
Lukitse sovittimet yhteen kntmll lukitusvipu oikealle.
Kiinnit kunkin ketjun ylin silmukka nostovarren ulkopuolelle (Figure 7) pultilla (3/82-1/2tuumaa), kahdella aluslaatalla (3/87/8tuumaa), vlikappaleella ja lukkomutterilla (3/8tuumaa).

Note: Jotta hara toimisi oikein, ketjujen on oltava lysll, kun hara on alhaalla (kyttasennossa).
Note: Varmista, ett kaikki viimeistelyharat ovat oikein lomittain ja tasaisesti ja ett mikn ketju ei ole sotkeutunut tai kiertynyt.
Kun hara on asennettu ja kiinnitetty ajoyksikkn, nosta lislaite.
Mittaa paksun aluslaatan ja lislaitteen sovittimessa olevan nostosangan lavan vlinen rako kuvan mukaisesti (Figure 8).
Note: Tuki on sdetty oikein, jos paksun aluslaatan ja nostosangan lavan vlinen rako on 1,5–2mm (Figure 8).

Jos vli ei ole oikea, lys vastamutteria ja kirist tai lys tukikokoonpanossa olevaa stmutteria siten, ett vli on oikea (Figure 8).
Lue tm haraamista ksittelev osa kokonaan ennen hiekkaesteen haraamista. Monet olosuhteet vaikuttavat tarvittaviin haran stihin. Hiekan rakenne ja syvyys, kosteuspitoisuus, rikkaruohot ja pakkautumisen mr vaihtelevat eri kentill ja jopa saman kentn eri hiekkaesteill. Sd hara kyttalueen mukaisesti, jotta jlki olisi mahdollisimman hyv.
Harjoittele haraamista suurella ja tasaisella hiekkaesteell. Harjoittele kynnistyst ja pysytyst, kntymist, haran nostoa ja laskua, hiekkaesteeseen menoa ja sielt poistumista. Harjoittele kohtalaisella moottorin kierrosluvulla ja hitaalla ajonopeudella. Harjoittelu antaa kuljettajalle varmuutta koneen kytss.
Note: l peruuta ajoyksikk, jos lislaite on laskettu alas. Lislaite vaurioituu.
Close sectionJos hiekka on riittvn syv, voidaan tasaisilla alueilla harata hiekkaesteen reunalle saakka.
Jos hiekka ulottuu ohuelti nurmelle, pysy riittvn etll reunasta, jotta et riko alla olevaa maaper.
l haraa liian lhell lyhytt jyrkk trm. Hiekka vain valuu hiekkaesteen pohjalle.
Jyrkki trmi, pieni taskuja jne. voidaan joutua siistimn haravalla.
Close sectionHaraa hiekkaeste mallin mukaan (Figure 10). Nin limittisyys j vhiseksi, hiekka tiivistyy mahdollisimman vhn ja kuviosta tulee siisti.
Aja hiekkaesteeseen pitkittissuunnassa kohdasta, jossa trm on loivin. Aja hiekkaesteen keskikohdan lpi melkein phn saakka ja knny jompaankumpaan suuntaan mahdollisimman jyrksti. Palaa suoraan takaisin ensimmisen reitin vierest. Kierr ulospin kuten kuvassa ja poistu hiekkaesteest oikeassa kulmassa tasaisella alueella.
Viimeistele jyrkt, lyhyet trmt ja pienet taskut haravalla.

Kun ajat hiekkaesteeseen, l laske haraa ennen kuin se on hiekan ylpuolella. Nin et vahingossa leikkaa nurmea tai ved leikkuujtett tai muita roskia hiekkaesteeseen. Laske hara, kun kone liikkuu.
Kun poistut hiekkaesteest, aloita haran nostaminen, kun eturengas poistuu esteest. Kun kone siirtyy pois esteest, hara nousee eik ved hiekkaa ruoholle.
Kyttj oppii pian kokemuksen ja harjoittelun myt, miten esteeseen ajo ja sielt poistuminen kannattaa ajoittaa.
Close sectionHaran kulmaa voidaan st sen mukaan, kuinka voimakkaasti hiekkaa halutaan ksitell. Mrit haluttu voimakkuus ja kiinnit vetokytkinkokoonpano sek aisaputki haluttua voimakkuutta varten seuraavien kuvien mukaisesti.

Asenna vetokytkinkokoonpano pysyttimen ylreikiin (Figure 11).
Kohdista aisaputken pitempi puoli yls ja asenna se kannatinkokoonpanon alapuolelle (Figure 11).

Asenna vetokytkinkokoonpano pysyttimen alareikiin (Figure 12).
Kohdista aisaputken pitempi puoli yls ja asenna se kannatinkokoonpanon alapuolelle (Figure 12).

Asenna vetokytkinkokoonpano pysyttimen ylreikiin (Figure 13).
Kohdista aisaputken pitempi puoli alas ja asenna se kannatinkokoonpanon ylpuolelle (Figure 13).

Asenna vetokytkinkokoonpano pysyttimen alareikiin (Figure 14).
Kohdista aisaputken pitempi puoli alas ja asenna se kannatinkokoonpanon ylpuolelle (Figure 14).
Tasoittimien pituutta voidaan st sen mukaan, kuinka syvlle piikkien halutaan painuvan.
Lys tasoittimen kiinnitysruuveja, siirr tasoitinta yls tai alas haluttuun kohtaan ja kirist ruuvit (Figure 15).

Lysmll vastamuttereita ja kntmll haran pysytinpultteja (Figure 16) ulospin rajoitetaan haran sivuttaista niveltymist. Lukitse st kiristmll vastamutterit.

Jos hiekka on kosteaa tai isorakeista tai jos hiekkaesteiss on syvi jalanjlki, viimeistelyharoihin voidaan kiinnitt lispainot. Tilaa valtuutetulta Toro-jlleenmyyjltsi (osanro 18-7570).
Close sectionNosta hara ylemmksi kuljetuksen ajaksi seuraavasti:
Laske hara ja nostokokoonpano mahdollisimman alas.
Irrota ketjut nostovarsista ja kiinnit ne uudelleen ylemmksi.
Note: Oikean toiminnan varmistamiseksi palauta ketjut alkuperiseen lysn asentoon ennen haran kytt.
Close sectionPuhdista kone huolellisesti haraamisen jlkeen. Koska tt konetta kytetn pasiassa hiekassa, joka on erittin hankaavaa, hiekka pit pest pois jokaisen kytn jlkeen. Jos kone puhdistetaan usein (ennen kuin hiekka paakkuuntuu), se voidaan pest juoksevalla vedell letkulla ilman suutinta. Korkeapaineinen vesisuihku voi tynt hiekkaa kuluville alueille, joita hiekka voi hangata.
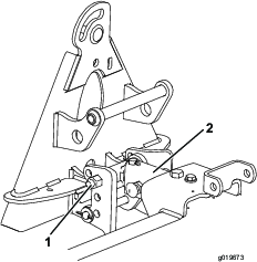
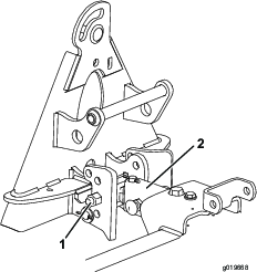
Note: Jos lislaitteen sovitin juuttuu kiinni ajoyksikn sovittimeen, irrota osat vntaukkoon asetetulla sorkkaraudalla tai ruuvitaltalla (Figure 17).

Jos lislaitteen sovittimessa oleva lukitusvipu ei knny vapaasti ja helposti, levit ohut kerros rasvaa (Figure 18).
