Entretien
Graissage de l'adaptateur d'accessoire
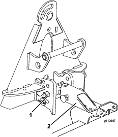
Si le levier de verrouillage sur l'adaptateur d'accessoire ne pivote pas librement, appliquez une fine couche de graisse sur la zone illustre la Figure 18.

Lisez attentivement cette notice pour apprendre comment utiliser et entretenir correctement votre produit, et viter de l'endommager ou de vous blesser. Vous tes responsable de l'utilisation sre et correcte du produit.
Vous pouvez contacter Toro directement sur www.Toro.com pour tout renseignement concernant un produit ou un accessoire, pour obtenir l'adresse des concessionnaires ou pour enregistrer votre produit.
Pour obtenir des prestations de service, des pices Toro d'origine ou des renseignements complmentaires, munissez-vous des numros de modle et de srie du produit et contactez un concessionnaire-rparateur agr ou le service client Toro. La Figure 1 indique l'emplacement des numros de modle et de srie du produit. Inscrivez les numros dans l'espace rserv cet effet.

Les mises en garde de ce manuel soulignent des dangers potentiels et sont signales par le symbole de scurit (Figure 2), qui indique un danger pouvant entraner des blessures graves ou mortelles si les prcautions recommandes ne sont pas respectes.

Ce manuel utilise deux termes pour faire passer des renseignements essentiels. Important, pour attirer l'attention sur des renseignements mcaniques spcifiques et Remarque, pour insister sur des renseignements d'ordre gnral mritant une attention particulire.
CALIFORNIA
Proposition 65 Warning
Ce produit contient une ou des substances chimiques considérées par l'état de Californie comme capables de provoquer des cancers, des anomalies congénitales ou d'autres troubles de la reproduction.
L'utilisation de ce produit peut entraîner une exposition à des substances chimiques considérées pas l'état de Californie comme capables de provoquer des cancers, des anomalies congénitales ou d'autres troubles de la reproduction.
![]() |
Des autocollants de scurit et des instructions bien visibles par l'oprateur sont placs prs de tous les endroits potentiellement dangereux. Remplacez tout autocollant endommag ou manquant. |

Pièces nécessaires pour cette opération:
| Rteau d'entretien | 1 |
| Tube de timon | 1 |
| Axe de chape | 1 |
| Rondelle | 2 |
| Goupille fendue | 1 |
| Boulon ("x1") | 1 |
| crou embase (") | 1 |
| crou hexagonal (") | 1 |
| Boulon embase ("x1") | 1 |
| crou embase (") | 1 |
| Ensemble adaptateur d'accessoire | 1 |
| Goupille fendue | 2 |
| Bras de levage | 1 |
| Barre d'articulation | 1 |
| Boulon ("x1") | 1 |
| Contre-crou (") | 1 |
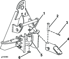
Fixez le tube de timon l'attelage avec une axe de chape, 2 rondelles et une goupille fendue, dans la position illustre la Figure 3.
Note: Le tube de timon peut tre assembl diffrentes positions pour augmenter ou diminuer l'agressivit du rteau dans le sable. Voir Rglage de l'engagement maximum des dents la section .

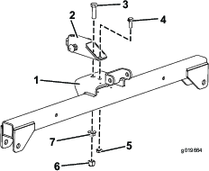
Montez, sans serrer, le tube de timon dans le trou avant du support avec un boulon ("x1"), un crou embase (") et un crou hexagonal (") (Figure 4).

Montez, sans serrer, le tube de timon dans le trou arrire du support avec un boulon embase ("x1") et un crou embase (").
Serrez les crous comme suit:
crou embase (") – 104 126Nm
crou hexagonal (") – 91 113Nm
crou embase (") – 22 27Nm
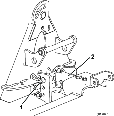
Alignez le bras de levage sur le support de l'adaptateur d'accessoire (Figure 5) et accouplez-les avec la barre d'articulation comme illustr la Figure 6.
Note: Lorsque vous dplacez l'adaptateur d'accessoire, servez-vous de la poigne prvue au dos (Figure 5).


Fixez la barre d'articulation (Figure 6) avec 3 goupilles fendues et un boulon ("x1").
Pièces nécessaires pour cette opération:
| Boulon ("x2") | 2 |
| Rondelle ("x") | 4 |
| Entretoise | 2 |
| Contre-crou (") | 2 |
Le cas chant, enlevez l'accessoire mont l'arrire de la machine.
Abaissez l'adaptateur du groupe de dplacement et reculez le groupe pour le placer devant l'adaptateur d'accessoire.
Note: Vrifiez que le levier de verrouillage est pivot gauche (position dverrouille), vu de l'arrire de la machine.
Glissez l'adaptateur d'accessoire sur l'adaptateur de la machine.
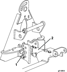
Important: Le long bras de l'ensemble bras de levage doit se trouver sous l'ensemble chssis arrire du groupe de dplacement (Figure 7).
Vous pouvez vous pincer les doigts entre les adaptateurs de l'accessoire et du groupe de dplacement.
Soulevez toujours l'accessoire par la poigne situe au dos de l'adaptateur (Figure 7).
Pivotez le levier de verrouillage vers la droite pour verrouiller les adaptateurs ensemble.
Fixez le maillon suprieur de chaque chane l'extrieur du bras de levage (Figure 7) au moyen d'un boulon (x2"), 2 rondelles (x"), une entretoise et un contre-crou (").

Note: Pour que le rteau fonctionne correctement, les chanes doivent tre dtendues quand le rteau est abaiss (position de fonctionnement).
Note: Vrifiez que tous les rteaux de finition se chevauchent correctement, sont bien plat et que les chanes ne sont pas emmles ni vrilles.
Une fois le rteau mont et fix sur le groupe de dplacement, levez l'accessoire.
Mesurez l'espace entre la grosse rondelle et l'paulement de la chape de levage sur l'adaptateur d'accessoire, comme montr la Figure 8.
Note: La biellette est rgle correctement s'il existe un espace de 1,5 2mm entre la grosse rondelle et l'paulement de la chape de levage (Figure 8).

Si l'cartement n'est pas correct, desserrez l'crou de blocage et serrez ou desserrez l'crou de rglage sur l'ensemble biellette pour modifier l'cartement (Figure 8).
Lisez toute la section consacre au ratissage avant de ratisser un bunker. Plusieurs conditions vont dterminer les rglages effectuer sur le rteau d'entretien. La texture et la profondeur du sable, son humidit, les mauvaises herbes et le compactage peuvent varier suivant le terrain ou mme d'un bunker l'autre sur un mme terrain. Ajustez le rteau de sorte obtenir les meilleurs rsultats pour le terrain o vous vous trouvez.
Entranez-vous ratisser dans un bunker de grande dimension et bien nivel. Entranez-vous dmarrer, vous arrter, tourner, lever et abaisser le rteau, entrer dans le bunker et en sortir, etc. Slectionnez un rgime moteur modr et une vitesse de dplacement rduite pour vous entraner. Cette priode d'entranement vous permettra d'acqurir la confiance ncessaire l'utilisation de la machine.
Note: Ne faites pas marche arrire lorsque l'outil est abaiss. Vous pourriez endommager l'outil.
Close sectionSi le sable est suffisamment profond, vous pouvez ratisser tout au bord du bunker dans les zones de niveau.
Si le sable s'tend jusqu'au gazon, restez une distance suffisante du bord pour ne pas dranger le sol sous-jacent.
Ne ratissez pas trop prs des berges escarpes. Le sable descendra tout simplement au fond du bunker.
Il sera peut-tre ncessaire de finir le ratissage la main sur les berges escarpes, les petits bunkers, etc.
Close sectionRatissez le bunker en suivant le parcours indiqu sur le schma de la Figure 10. Ce parcours vite les chevauchements inutiles, minimise le compactage et trace un dessin agrable l'il sur le sable.
Entrez dans le bunker en ligne droite par la grande longueur, au point o la berge est la moins escarpe. Traversez le centre du bunker presque jusqu'au bout, tournez d'un ct ou de l'autre en braquant autant que possible et revenez directement en sens inverse, paralllement la premire passe. Continuez ainsi en progressant vers l'extrieur et quittez le bunker angle droit dans une zone de niveau.
Finissez le ratissage des petites berges escarpes et petites fosses la main.

Lorsque vous entrez dans le bunker, n'abaissez pas le rteau avant qu'il se trouve directement au-dessus du sable. Vous viterez ainsi de couper la pelouse ou d'entraner des dchets d'herbe ou autres dans le bunker. Abaissez le rteau quand la machine se dplace.
Quand vous quittez le bunker, commencez relever le rteau lorsque les roues avant sortent du bunker. Ainsi, quand la machine sort du bunker, le rteau se relve et n'entrane donc pas de sable sur l'herbe.
Vous apprendrez rapidement, force de travail et d'entranement, programmer l'entre dans le bunker et la sortie.
Close sectionVous pouvez changez l'angle du rteau pour augmenter ou rduire son agressivit dans le sable. Dterminez l'agressivit voulue et montez l'attelage et le tube de timon, comme montr sur les figures suivantes, pour obtenir l'agressivit en question.

Montez le dispositif d'attelage dans les trous suprieurs du support de bute (Figure 11).
Placez le ct le plus long du tube de timon en haut et fixez-le sur la face infrieure du support (Figure 11).

Montez le dispositif d'attelage dans les trous infrieurs du support de bute (Figure 12).
Placez le ct le plus long du tube de timon en haut et fixez-le sur la face infrieure du support (Figure 12).

Montez le dispositif d'attelage dans les trous suprieurs du support de bute (Figure 13).
Placez le ct le plus long du tube de timon en bas et fixez-le sur la face suprieure du support (Figure 13).

Montez le dispositif d'attelage dans les trous infrieurs du support de bute (Figure 14).
Placez le ct le plus long du tube de timon en bas et fixez-le sur la face suprieure du support (Figure 14).
Vous pouvez ajuster la longueur des dplantoirs pour augmenter ou diminuer la pntration de la dent.
Desserrez les vis de fixation du dplantoir, montez ou descendez le dplantoir la position voulue et resserrez les vis (Figure 15).

Desserrez les crous de blocage et dvissez les boulons de bute du rteau (Figure 16) pour limiter le pivotement latral du rteau. Resserrez les crous de blocage pour fixer le rglage.

Vous pouvez accessoirement fixer des masses aux rteaux de finition si le sable est humide ou grossier, ou porte des empreintes de pieds profondes. Vous pouvez commander ces bouteilles chez les concessionnaires Toro agrs (rf. 18-7570).
Close sectionProcdez comme suit pour augmenter la hauteur du rteau lors du transport:
Abaissez l'ensemble rteau et levage aussi bas que possible.
Dtachez les chanes des bras de levage et attachez-les plus haut.
Note: Pour que le rteau fonctionne correctement, ramenez les chanes leur position dtendue d'origine avant de commencer ratisser.
Close sectionLorsque vous avez fini de ratisser, nettoyez soigneusement la machine. Comme la machine est surtout utilise dans le sable, qui est trs abrasif, enlevez le sable au jet d'eau aprs chaque utilisation. Si vous nettoyez frquemment la machine (avant que le sable ait le temps de s'agglomrer), lavez-la au tuyau d'arrosage sans buse. Un jet d'eau haute pression pourrait entraner le sable dans des zones d'usure o il pourrait agir comme matriau de rodage.
Note: Si l'adaptateur de l'accessoire se coince sur l'adaptateur du groupe de dplacement, insrez un levier/tournevis dans la fente prvue pour dsengager les pices (Figure 17).

Si le levier de verrouillage sur l'adaptateur d'accessoire ne pivote pas librement, appliquez une fine couche de graisse sur la zone illustre la Figure 18.
